|
|||||||||||||||
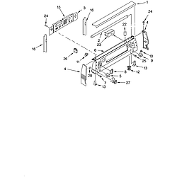
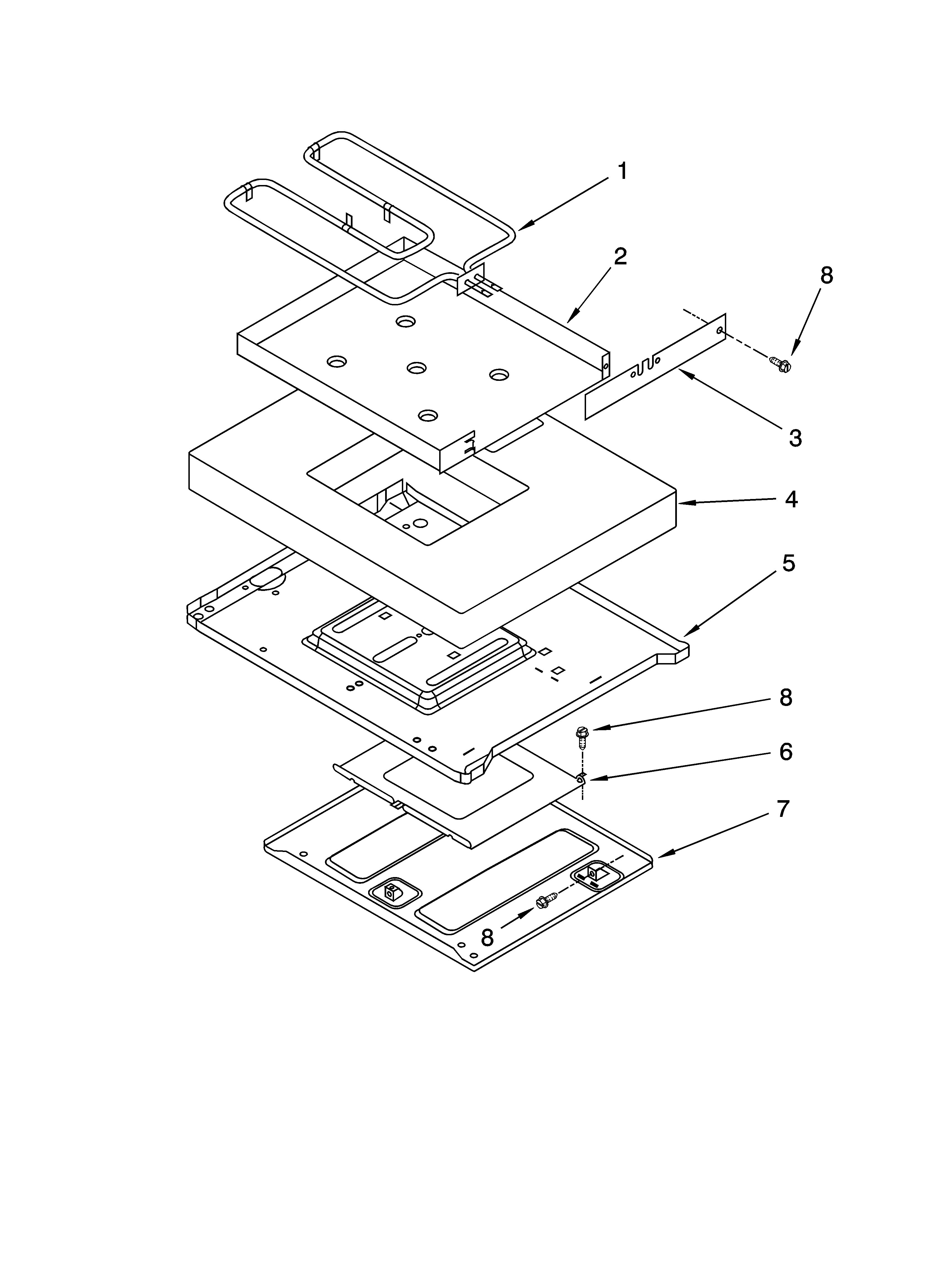
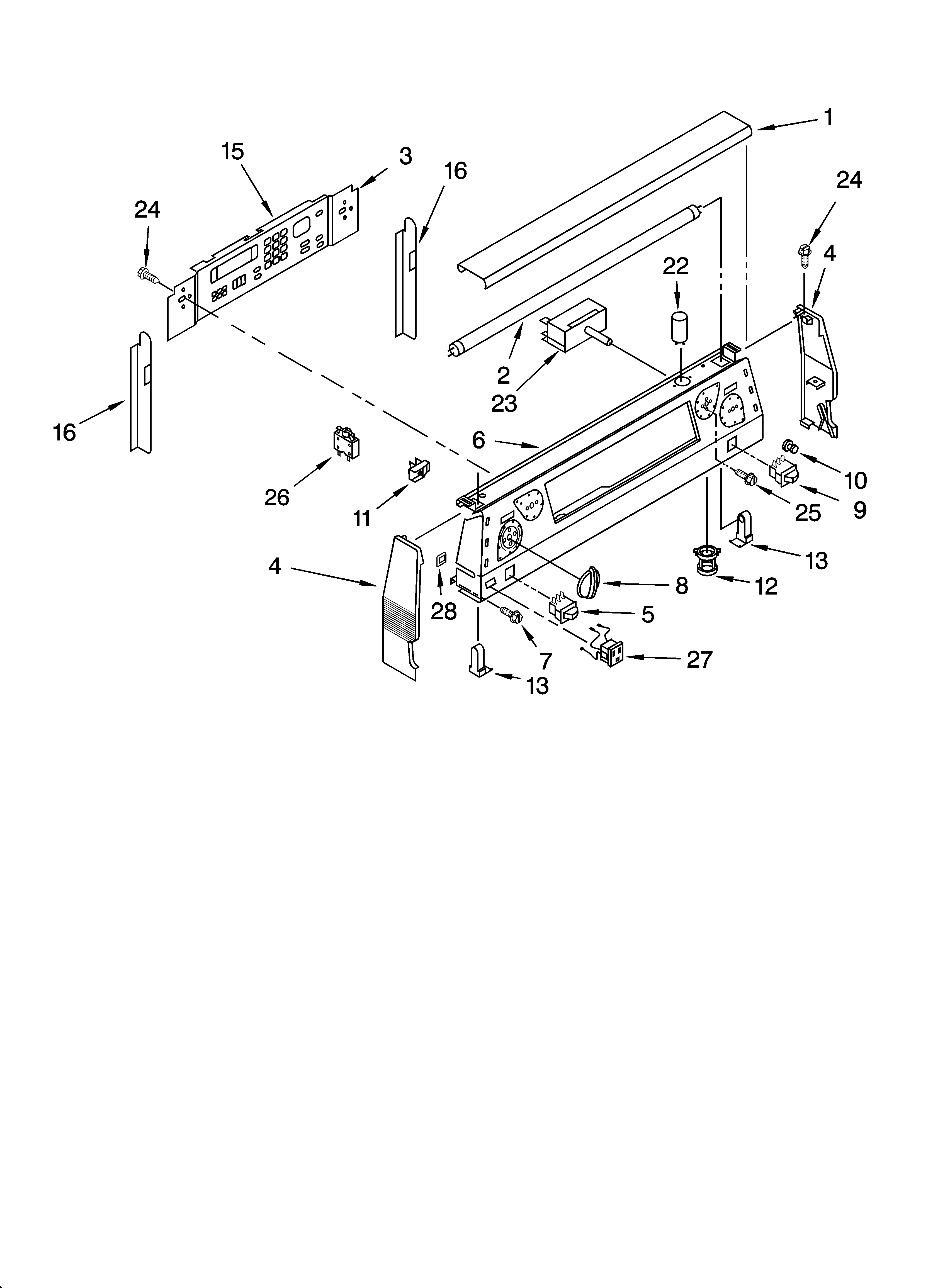
Whirlpool Free Standing Electric Range YKERC507HW2 Timer RepairWhat is the timer/clock part number for the Whirlpool YKERC507HW2 Free Standing Electric Range?![]() The YKERC507HW2 Free Standing Electric Range uses timer part number 8190681. Do you have a failed Whirlpool YKERC507HW2 control panel? Click here: We can repair or replace your faulty Whirlpool YKERC507HW2 timer. YKERC507HW2 are also sometimes referred to using these Alternative Names/Model numbersYKERC507HS4, YKERC507HT3, YKERC507HS3, YKERC507HB4, YKERC507HB5, YKERC507HT4, YKERC507HW4, YKERC507HS5, YKERC507HW5, YKERC507HB3, YKERC507HW3, YKERC507HT5 YKERC507HW2 Schematic and Wiring DiagramsRecent Service Requests
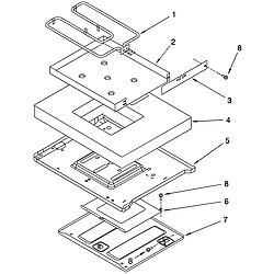
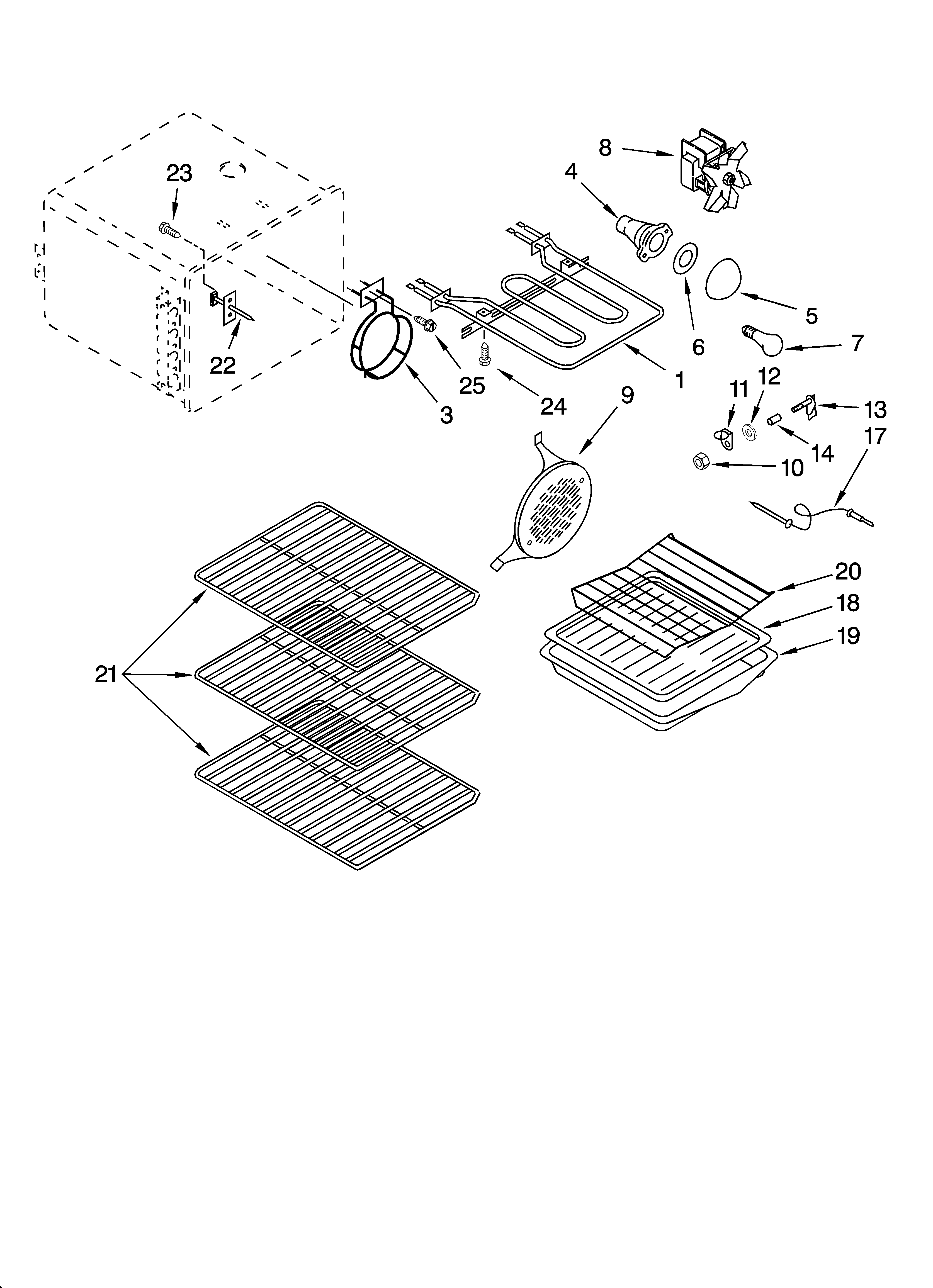
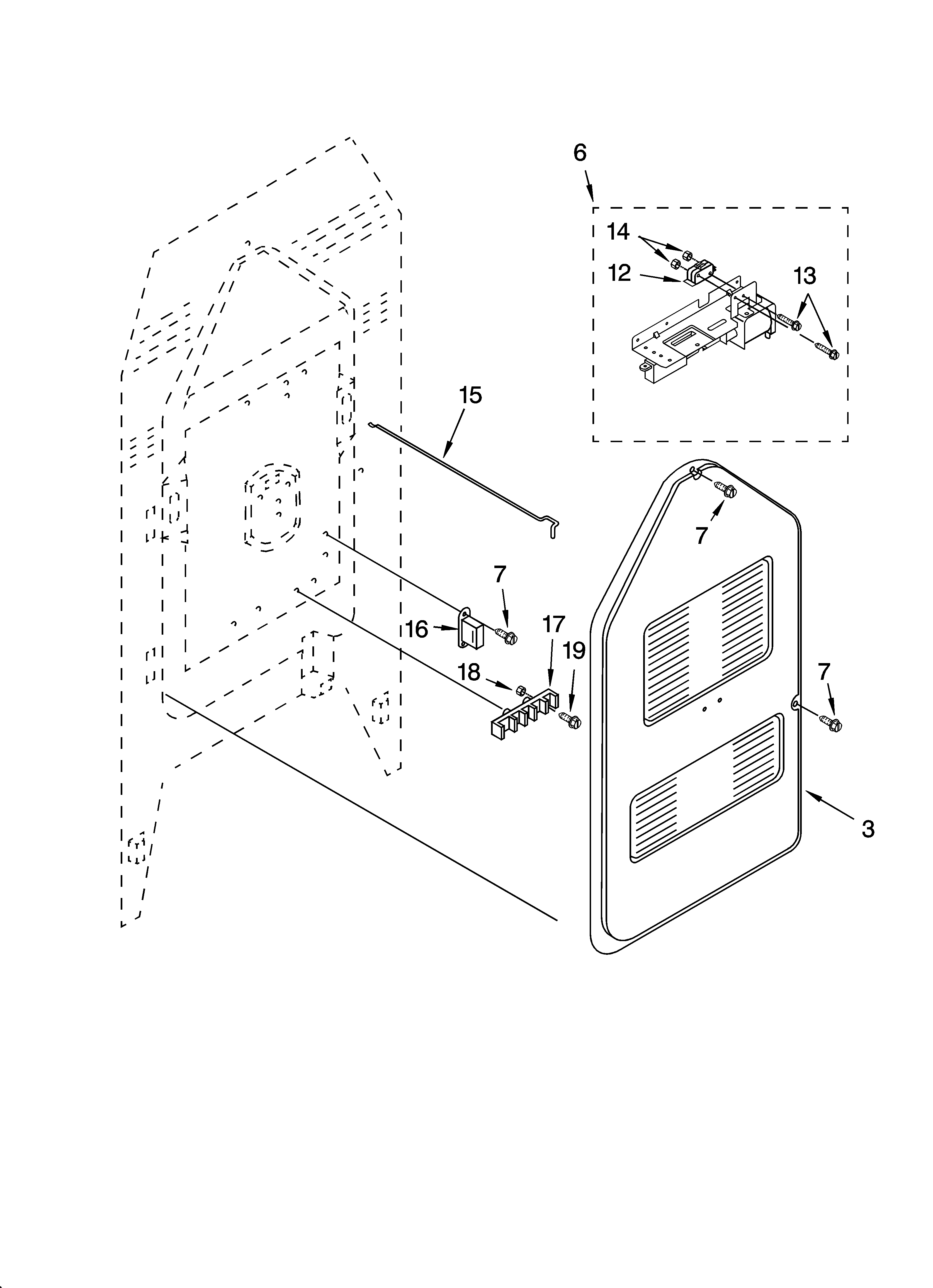
Common problems for Whirlpool Free Standing Electric Range YKERC507HW2 Timer RepairAre you encountering a similar problem as them? Contact us now and we will try to help you fix your YKERC507HW2 timer-related problem. i Hi, the large dual element burner on my GE oven (cooktop) only stays at the highest level, even when the know is turned to the mid or lower settings (it does not cut off) - Do you know if this can be fixed and approximately how much are the parts? Thanks kitchenaid range [SUPERBA] MODLE # XXXXX SERIAL# XXXXX REQUIRE OPERATORS MANUL SELF CLEAN NOT WORKING CODE ON clock DESPLAY READS "FOEO" The dual element on the rangetop of my KitchenAid oven YKERC500EW1 no longer has any temperature control - either single or double it stays on full power. The other elements still have control. I comparison of the voltages on the Limiter Temp terminals between functional and non- functional units showed no difference. How can I test to see whether it is the Infinite Switch or the Limiter Temp which is the problem? Electric range Model #YKERC507HW2 serial #IML0719161 Type 30 PQuestion: can tinfoil be used in the oven? My 9 year old Kitchenaid YKERC507HW2 oven has started to reset with the ''PF'' message on the screen. It seems to occur when the oven is in use(during or after the oven power is on). Can someone describe how the dual element, infinite replacement switch, part # as 8203538 works? What circuits are inside? KitchenAid Model # YKERC507HW2 is Canadian, but is there a possibility it is similar to a model KER507HW2? My 10 year old Kitchen Aid convection smooth surface oven has a broken dual element switch on LF element. My Canadian Whirlpool contact provided a replacement switch # as 8203538, which I purchased. The present defective switch was replaced more than once by Sears service and I now find they were using part# 8203529. The sears part more accurately matches the schematic on range (p/n 9753688) in wiring and it has a duel element step that the whirlpool doesn't. Which is correct and how do I connect the switch? Model # YKERC507HW2 |
|||||||||||||||
|
|||||||||||||||