Maytag WU502 Timer Repair

What is the timer/clock part number for the Maytag WU502 Dishwasher?

Timer part number 901992 for Maytag WU502

The WU502 Dishwasher uses timer part number 901992.

Do you have a failed Maytag WU502 control panel? Click here:

Request Appliance Timer Service

We can repair or replace your faulty Maytag WU502 timer.

WU502 are also sometimes referred to using these Alternative Names/Model numbers

Whirlpool WU502 Dishwasher

WU502 Schematic and Wiring Diagrams

Control panel & components Parts diagram
WU502 Dishwasher Control panel & components Parts diagram
Front panel & access panels (wu502) (wu502) Parts diagram
WU502 Dishwasher Front panel & access panels (wu502) (wu502) Parts diagram
Front panel & access panels (wc502) (wc502) Parts diagram
WU502 Dishwasher Front panel & access panels (wc502) (wc502) Parts diagram
Faucet assy, cbnt, front pnl & base (wc) (wc502) Parts diagram
WU502 Dishwasher Faucet assy, cbnt, front pnl & base (wc) (wc502) Parts diagram
Door assembly Parts diagram
WU502 Dishwasher Door assembly Parts diagram
Pump assembly Parts diagram
WU502 Dishwasher Pump assembly Parts diagram
Tub support (left) frame & water valves Parts diagram
WU502 Dishwasher Tub support (left) frame & water valves Parts diagram
Tub support (right) base frame & motor Parts diagram
WU502 Dishwasher Tub support (right) base frame & motor Parts diagram
Track & rack assembly Parts diagram
WU502 Dishwasher Track & rack assembly Parts diagram
Tub assembly & components Parts diagram
WU502 Dishwasher Tub assembly & components Parts diagram
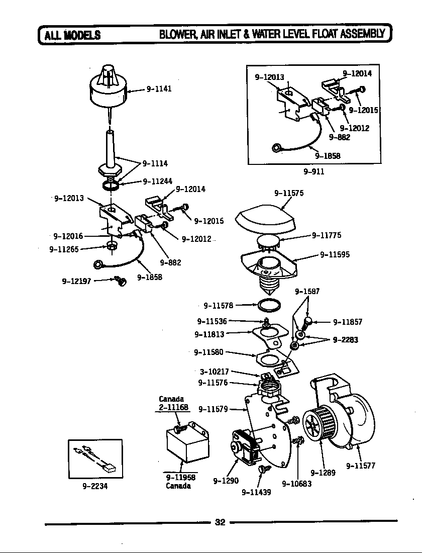
Blower/air inlet & water level float Parts diagram
WU502 Dishwasher Blower/air inlet & water level float Parts diagram
Installation accessories Parts diagram
WU502 Dishwasher Installation accessories Parts diagram
Conversion kit (wc502) (wc502) Parts diagram
WU502 Dishwasher Conversion kit (wc502) (wc502) Parts diagram
Faucet adapter kit (wc502) (wc502) Parts diagram
WU502 Dishwasher Faucet adapter kit (wc502) (wc502) Parts diagram

Recent Service Requests

CityProblem DescriptionResolution
Acushnet, MassachusettsTIMER WILL NOT ADVANCEAwaiting receipt of timer
Acushnet, MassachusettsTIMER WILL NOT ADVANCEAwaiting receipt of timer
North Arlington, New JerseyTimer does not work.Awaiting receipt of timer
Fargo, North Dakotadoes not reliably advance. stops in mid cycle.Awaiting receipt of timer

Common problems for Maytag WU502 Timer Repair

Are you encountering a similar problem as them? Contact us now and we will try to help you fix your WU502 timer-related problem.
Maytag WU482 s/n 151915 Well the detergent cup quit working. Repair books from the library implicated the bimetal. I ordered BIMETAL AP4111544 (901011) which installed fine but did not solve the problem. The bimetal is being energized during the appropriate part of the cycle (125v measured to ground). I didn't try to measure the current, but can if this would help diagnose. After checking for juice, I unscrewed the bimetal and tried disconnecting & reconnecting the leads - I could not see any sign of movement of the bimetal arms, which need to pull away from the cam to release the cup. Any suggestions on what to try next would really be appreciated. I'd like to get a few more years out of this unit if I can, I may have to move before too long. Machine does a fine job on the dishes, although it is loud. Also, any hints on when these were made? It came with the house (over 12 years ago). I replaced the belt several years ago, other than that it just soldiers on. Greg
Maytag dishwasher wu284 will not advance thru the cycle. It will fill with water and heat it but not progress to the next cycle. If the knob is turned manually it will advance to the next cycle and perform that cycle until the knob is advanced again. I see in the parts list the clock and clock motor are two separate parts. The clock is no longer available from Maytag. I have done continuity checking on the clock motor with a multimeter and it seems to check ok. I do not have a repair manual and did not check anything else. Is there another test I can perform to prove the bad part is the clock motor? I do not want to just swap parts to see if they will work.
washer agitator tries to turn then just stops then washer begins to spin??
I bought a whirlpool cabiro washer and dryer in 2007, used it for less than one year, and moved from TX to NY. The apartment we first moved into had a W/D, so we put both in our basement. Now that we haved moved into a house, niether one works. The washer fills with water, aggitates for about 15 seconds then displays OL error message. I know it is not overloaded, it only had about 5 towels in it. The owners manual says to unplug, wait, and try again...did this...no love. I also checked, double checked and rechecked to make sure that everything was hooked up right, level, ect. Any ideas? (or if someone can post a link with the service manual, that would be great) The dryer problem is that my husband changed the plug from a 4 prong to a 3 prong plug, (I am pretty sure he did it right, he is really good at this type of thing, and even he can't figure this one out) and now the dryer runs for less than one minute (VERY LOUDLY) stops running, and makes one "click" sound. Any ideas? (I did fi
I had a small overflow that dripped onto the motor since then the motor overheats. I took the motor off and it turns ok. It works in both directions ok and kicks in when its supposed to but gets really hot and the thermal protection stops it. I have been looking for answers online and some said it could be a clock and not a problem with the motor. Nothing looks burnt that I can see up at the control panel. The knob turns and I can hear it tick. Since the motor runs fine til it gets hot I'm guessing the motor is ok. Anyone have any similar problems?
I have a 24 yrd old maytag dishwasher (model #WU502) that is making a "growling" noise and sometimes does not drain all the water out (leaking on the floor). Any ideas on what may be broken and if the cost of repair might be worth it or not ??
Good morning: My in-laws have a Maytag WU502 dishwasher with broken drive belt and the replacement looks like a clear o-ring, about 1/4" thick. The belt won't stretch enough to install it while both pump & motor are in the original position so I'm sure I need to loosen the motor and bring both sheaves closer together to slip the belt on. The new belt also came with a small cellophane pkg. that looks like it may be a small quantity of lubricant. I was hesitant to undo the two (that I could see) screws that hold the motor to the right side of the chassis and before I made this into a bigger problem, figured I should get some professional advice. It would be nice to have an O&M manual but I don't. Your feedback would be greatly appreciated. Very best, Gerry White
We have an older dishwasher model WU502 and it didn't let the water out and there seemed to be a leak around the base. I turned the water off and the leak stopped.
My Maytag WU502 dishwasher still washes OK but makes more and more noise when the pump is active. I am a very handy guy, both electrical and mechanical. Is it worth while to order replacement parts and repair the washer, or should I just get a new one? If repair, what parts do I need? By the sound it makes, I feel sure this is a pump bearing-seal problem, not a motor problem.
WU502: Dishwasher has some water coming in and the motor runs through a cycle but the spinners don't spin and the water won't drain. Am looking for service manual but so far no luck.