Maytag WU482 Timer Repair

What is the timer/clock part number for the Maytag WU482 Dishwasher?

Timer part number 901985 for Maytag WU482

The WU482 Dishwasher uses timer part number 901985.

Do you have a failed Maytag WU482 control panel? Click here:

Request Appliance Timer Service

We can repair or replace your faulty Maytag WU482 timer.

WU482 are also sometimes referred to using these Alternative Names/Model numbers

Whirlpool WU482 Dishwasher

WU482 Schematic and Wiring Diagrams

Catalog supplement (wu482 & wc482) Parts diagram
WU482 Dishwasher Catalog supplement (wu482 & wc482) Parts diagram
Control panel & components Parts diagram
WU482 Dishwasher Control panel & components Parts diagram
Front panel & access panels (wc482) (wc482) Parts diagram
WU482 Dishwasher Front panel & access panels (wc482) (wc482) Parts diagram
Faucet assy, cbnt, front pnl & base (wc) Parts diagram
WU482 Dishwasher Faucet assy, cbnt, front pnl & base (wc) Parts diagram
Door assembly Parts diagram
WU482 Dishwasher Door assembly Parts diagram
Pump assembly Parts diagram
WU482 Dishwasher Pump assembly Parts diagram
Tub support (left) frame & water valves Parts diagram
WU482 Dishwasher Tub support (left) frame & water valves Parts diagram
Tub support (right) base frame & motor Parts diagram
WU482 Dishwasher Tub support (right) base frame & motor Parts diagram
Track & rack assembly Parts diagram
WU482 Dishwasher Track & rack assembly Parts diagram
Tub assembly & components Parts diagram
WU482 Dishwasher Tub assembly & components Parts diagram
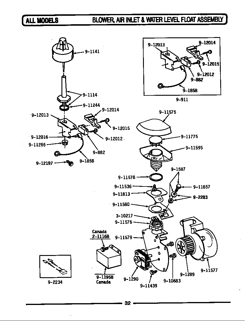
Blower/air inlet & water level float Parts diagram
WU482 Dishwasher Blower/air inlet & water level float Parts diagram
Installation accessories Parts diagram
WU482 Dishwasher Installation accessories Parts diagram
Conversion kit (wc482) (wc482) Parts diagram
WU482 Dishwasher Conversion kit (wc482) (wc482) Parts diagram
Faucet adapter kit (wc482) (wc482) Parts diagram
WU482 Dishwasher Faucet adapter kit (wc482) (wc482) Parts diagram
240 volt, 50hz Parts diagram
WU482 Dishwasher 240 volt, 50hz Parts diagram
Front panel & access panels (wu482) (wu482) Parts diagram
WU482 Dishwasher Front panel & access panels (wu482) (wu482) Parts diagram

Recent Service Requests

CityProblem DescriptionResolution
Carol Stream, IllinoisWon't go through cycle or drain dishwasherReplaced with reconditioned timer
Hollywood, FloridaDishwashing unit will not drain.Replaced with reconditioned timer

Common problems for Maytag WU482 Timer Repair

Are you encountering a similar problem as them? Contact us now and we will try to help you fix your WU482 timer-related problem.
I have a Maytag Dishwasher, Model # WU482, ser # 01625706XT. The Water is not being pumped out , I checked Belt, and it is oK.
I have an older Maytag model #WU482. For some reason it will not drain and will only run using the economy mode. I can hear the clock ticking at all other cycles and it does click between cycles. I recently replaced the drain float and the machine had been working fine after. The motor is working and the belt is good. I think the kids were playing with the clock knob. Could this cause a problem with the clock motor? Or does this sound more like a pump out issue, impeller? I'm thinking its the clock motor since only one mode is working, dry cycle also works.
whirlpool cabrio toploader 3 years old washed clothes washer said code UL i went and redistributed the clothes and then closed the lid hit restart and let clothes finish went back to get the clothes out lid was locked and washer was off and would not turn back on unplugged for an hour went back to plug in and still nothing would turn on and lid would not unlock...HELP please!!
Maytag Model WU482 Dish washer completes cycle but dishes remain dirty and water is laying in the bottom.
I have a 1987 maytag Model WU482 The problem is at the end of the rinse cycle it dosn't pump the water out of the unit.
The washer stopped in the middle of the drain cycle with a clicking sound. Went and unplugged the washer powered down and back up, changed the dial to drain and spin. Washer started to drain for a couple of seconds then started the clicking again. Any ideas as to the problem?
I was having problems with my washer stalling with 17 minutes left in cycle and running on that cycle for like 20 minutes sometimes. I read if could be the control board so i bought one from here and replaced it and it still does the same thing. I was wondering if there is any other reason it would be doing this. I am sure everything is hooked up right and checked everything and it all looks good to me. If anyone has any helpfull ideas would love to hear them.
Maytag Dishwasher WU482 had a big puddle of water in front of it tonight. Other than the door gasket, is there anything else that could be wrong?
I have Maytag dishwasher Model WU482.The knob has split so I cannot accurately set the selection so it occasionally overflows. Can I fix the control knob ?
We have a Maytag dishwasher, but we cannot make the model number. All we can see is (Wu 482) and the serial is 152760 vp as far as we can tell. The dishwasher is not pumping all the water out of the bottom. We know the dishwasher is old, but this is the first trouble we have had out of this machine. I need a parts break down so I can order parts.
My maytag dishwasher will not pump the water out. What are the top reasons that will cause this and how do I repair it? Where can I get a repair manual for my dishwasher? Model #WU482
How to remove a Maytag wu482 dishwasher step by step?
model wu482 dish washer clock doesnt run and checked the door switch it works what else can i check dont have a wiring diagram for it can i get one . I played with the clock and at one point it started to run and emptied the washer then never run again I checked all the wires and most had 110 volts to ground but that doesnt help me much. when the unit was running the motor sounded ok any help will be appreciated. Grant