Whirlpool Free Standing - Electric WLP85800 Timer Repair

What is the timer/clock part number for the Whirlpool WLP85800 Free Standing - Electric?

Timer part number 9753438 for Whirlpool WLP85800

The WLP85800 Free Standing - Electric uses timer part number 9753438.

Do you have a failed Whirlpool WLP85800 control panel? Click here:

Request Appliance Timer Service

We can repair or replace your faulty Whirlpool WLP85800 timer.

WLP85800 Schematic and Wiring Diagrams

Cooktop Parts diagram
WLP85800 Free Standing - Electric Cooktop Parts diagram
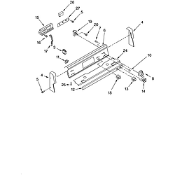
Control panel Parts diagram
WLP85800 Free Standing - Electric Control panel Parts diagram
Door and drawer Parts diagram
WLP85800 Free Standing - Electric Door and drawer Parts diagram
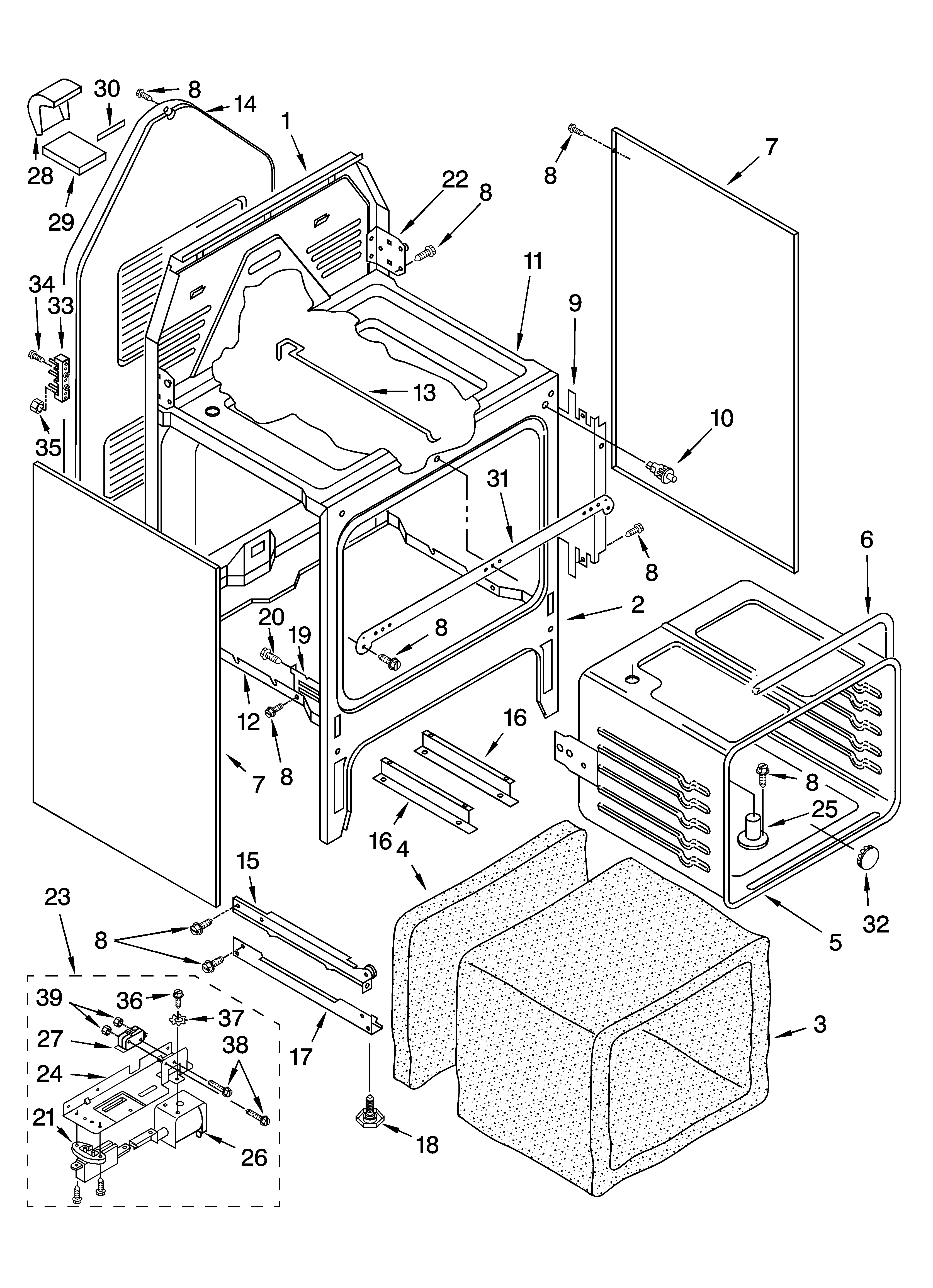
Oven chassis Parts diagram
WLP85800 Free Standing - Electric Oven chassis Parts diagram

Recent Service Requests

CityProblem DescriptionResolution
Winnipeg, ManitobaDead. :) Just want a replacement.Replaced with reconditioned timer
Kinburn, Ontarioclock not working at all therefore no ovenReplaced with reconditioned timer

Common problems for Whirlpool Free Standing - Electric WLP85800 Timer Repair

Are you encountering a similar problem as them? Contact us now and we will try to help you fix your WLP85800 timer-related problem.
Hi: Our washer sticks on the final spin cycle, i.e. the dial doesn't seem to make the final click to shut off. After spinning for awhile, it starts to agitate gently, but still won't shut off. Everything else appears to be functioning correctly. Any ideas?
Washer stopped draining yesterday. Replaced clock and still won't drain. Sounds like it is trying to (noise coming from machine) but nothing is happening. Please advise.
The ceramic oven top works, but the oven does not. The electronics on this unit ( clock, clock, ect ) do not work as well anymore. This all happened when the oven stopped working. could you tell me what the problem is. northernhick
this is a 2007 model. fills with water, clock goes through its cycles and then it drains. tub never moves or makes any noise. i have reset it several times as per instructions i saw here and it doesn't work for me. this problem appeared from one wash to the next with no warning. i thought it might be the lid switch so i took it apart and put the wires together with a wire nut. no change so on a whim i tried them apart. still no change. i absolutely cannot afford a new washer so i hope someone will help me. i do not know how to use a meter but i am pretty mechanically inclined.
I've just ordered a replacement water valve for my washer after a repairman diagnosed the problem. Can I replace it myself or do I need a pro? I am not very handy but can follow instructions.
We are having problems with spining. It fill's up the washer but doesn't spin. What could be the problem
First I posted this; Quote: