Whirlpool Free Standing - Electric WHP54803 Timer Repair

What is the timer/clock part number for the Whirlpool WHP54803 Free Standing - Electric?

Timer part number whp9753637.G.1 for Whirlpool WHP54803

The WHP54803 Free Standing - Electric uses timer part number whp9753637.G.1.

Do you have a failed Whirlpool WHP54803 control panel? Click here:

Request Appliance Timer Service

We can repair or replace your faulty Whirlpool WHP54803 timer.

WHP54803 Schematic and Wiring Diagrams

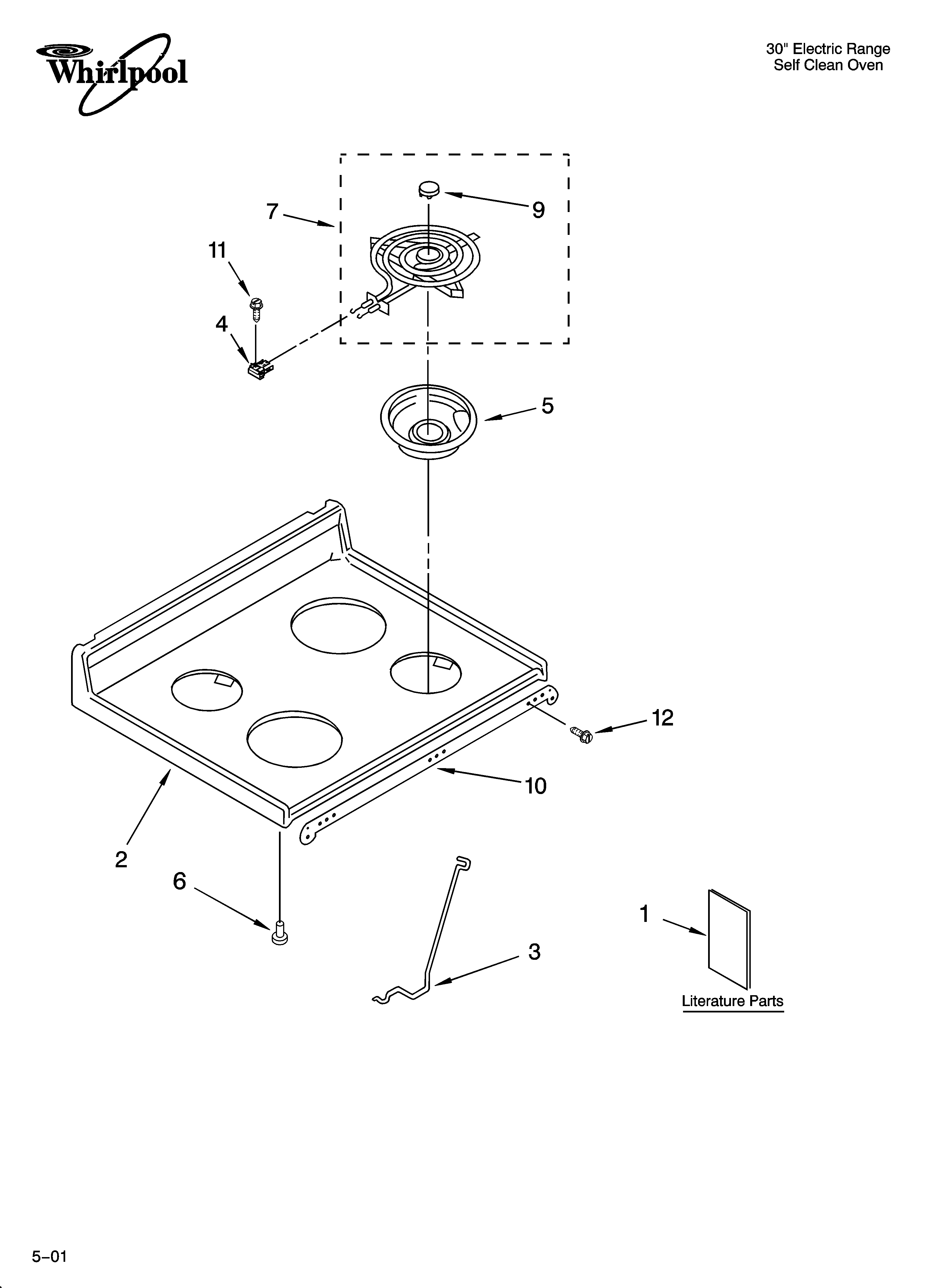
Cooktop Parts diagram
WHP54803 Free Standing - Electric Cooktop Parts diagram
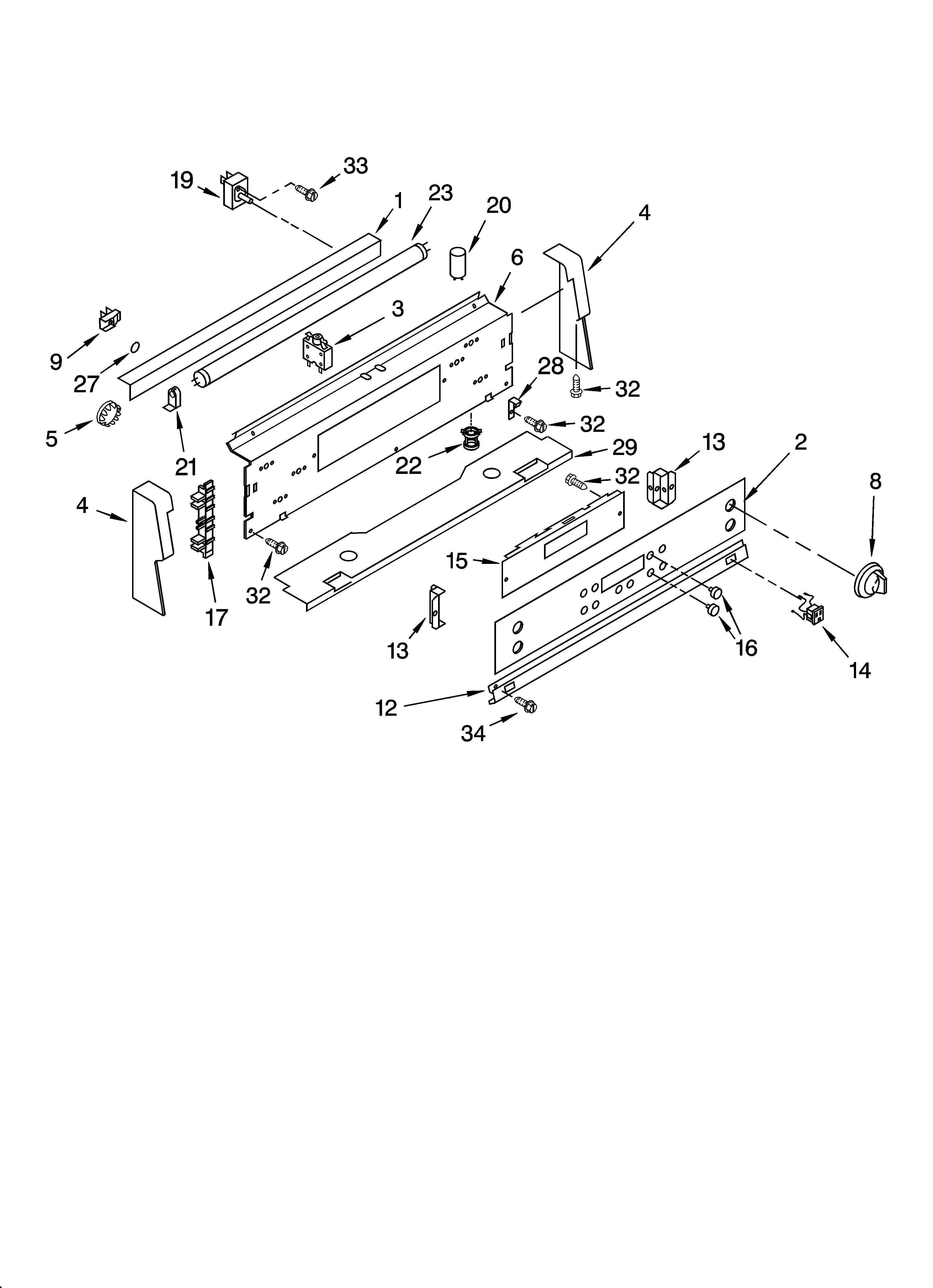
Control panel Parts diagram
WHP54803 Free Standing - Electric Control panel Parts diagram
Door and drawer Parts diagram
WHP54803 Free Standing - Electric Door and drawer Parts diagram
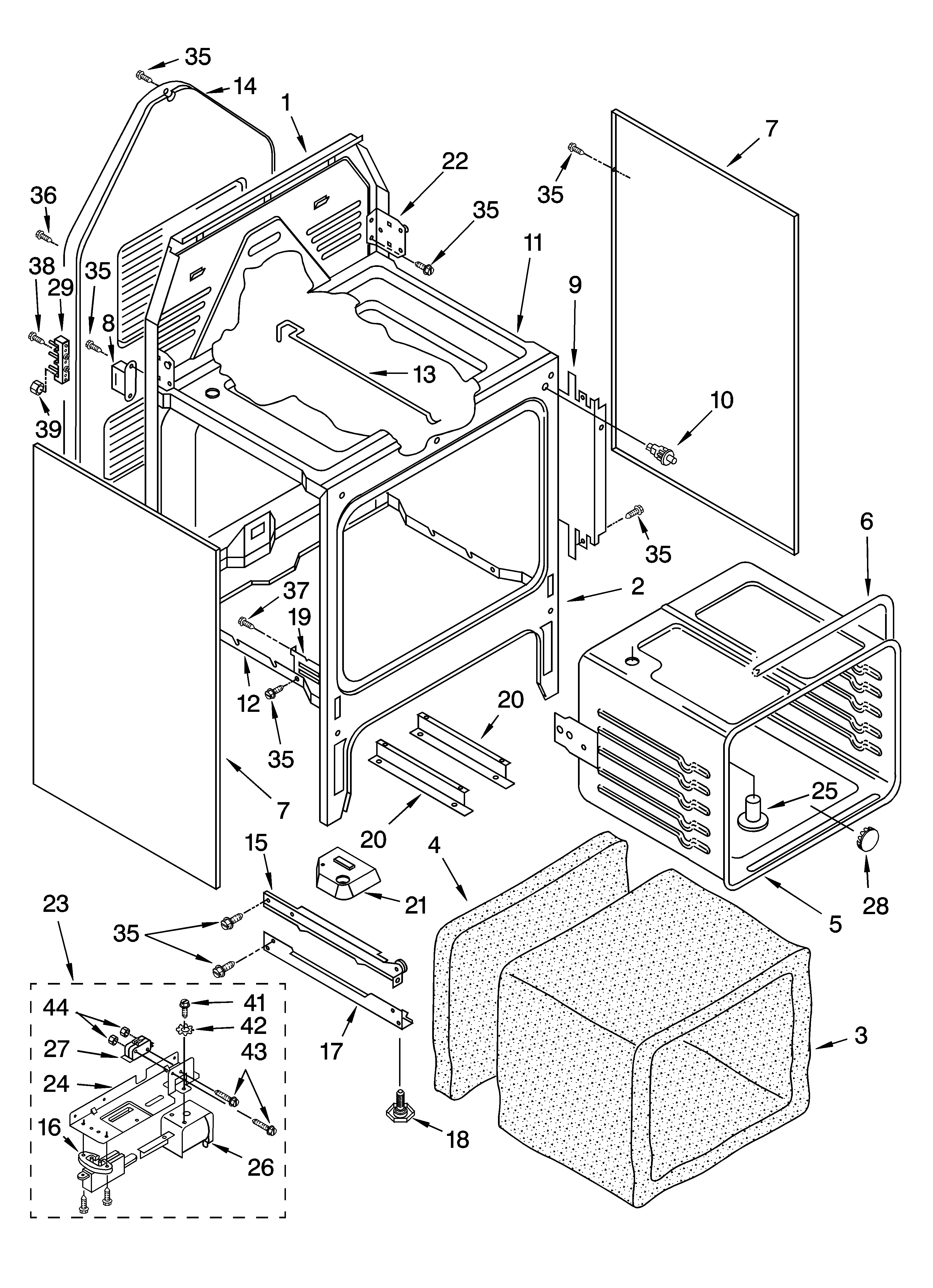
Oven chassis Parts diagram
WHP54803 Free Standing - Electric Oven chassis Parts diagram

Recent Service Requests

CityProblem DescriptionResolution
Calgary, Albertanone of the buttons work on the control panel. The oven doesn't work, or time adjustment. The clock will not display. E1 F1 codes flashing, there is also a broken lcd display of the numbers and a small lock display. Can not use the oven but the cooktop works.Repaired
Toronto, OntarioThis is a cottage stove. Initial symptom was door lock/unlock repeatedly then stayed locked in self clean mode. Following a weekend of this, the stove worked fine for 4 months. The the display failed. We have had the range checked out by Jr at All Pro Appliances and seems fine except for wiring harness connection to the connection block nearest to the transformer on the circuit board and the circuit board itself.Awaiting receipt of timer

Common problems for Whirlpool Free Standing - Electric WHP54803 Timer Repair

Are you encountering a similar problem as them? Contact us now and we will try to help you fix your WHP54803 timer-related problem.
Washing machine goes through the wash/agitate cycle fine but will not advance to the rinse or spin cycle. Do I need to replace the clock or is there possibly something else wrong? Please help.....
Our Whirlpool runs great . . . except that you almost always have to lift the lid to get it to engage in the spin cycle. Could this be a clock problem and can I fix it myself?
model # whdsr315daww I have replaced the clock . but I still have same problem the water does not shut off & does not go to next cycle .this has spilled water three times . any ideas??
Dear Appliance Parts Pros.com Discount Appliance Parts – Appliance Repair Parts Call Toll Free: 1-877-477-7278 California Office: 16501 Ventura Blvd, Ste 514, Encino, CA 91436 Tennessee Office: 240 Edwards St. S.E., Cleveland, TN 37311 I have a Whirlpool Freezer: Model: EV201NXMQ02 L1 Serial: EWR1463296 Refrigerator Defrost clock Manufacturer Model: 4357124 Age: It is 6 years old. Problem: Intermittently, the food in the freezer defrosts for no apparent reason (No power interruptions, door is tightly closed, freezer temp is set correctly, etc.) For the following reasons, it appears to me that the defrost clock is intermittently malfunctioning: a. The evaporator fan does not always come back on after the defrost cycle should have had plenty of time to complete. The evaporator fan is off even though the compressor is running. 1. Often, if I do not manually advance the defrost clock, the compressor runs continuously, but the evaporator fan never comes on and eve
Washing machine fills for wash cycle. It agitates and then drains after wash cycle. Will not refill for the rinse cycle. Then won't go into spin cycle. I can hear the clock running but doesn't seem to advance into the rinse or spin cycle. Have replaced the lid switch assembly and the pressure switch/tube. Still no results. What is going on here???????
Washer Cycles Continus And Wont Drain Or Shut Off.clock Problem?
My washer is buzzing before it goes to next operation on the clock/controller. Sometimes it does not go to next operation. What do I need to do?
When I start my washer, I should be able to push in control knob and turn the clock knob with it. Now I have to manually turn the clock knob (which is kind of a pain). Once the washer starts, the clock works fine. Do I need a new clock knob or some clip to get it engaged?