Jenn-Air Wall Oven W130 Timer Repair

What is the timer/clock part number for the Jenn-Air W130 Wall Oven?

Timer part number 7404P051-60 for Jenn-Air W130

The W130 Wall Oven uses timer part number 7404P051-60.

Do you have a failed Jenn-Air W130 control panel? Click here:

Request Appliance Timer Service

We can repair or replace your faulty Jenn-Air W130 timer.

W130 are also sometimes referred to using these Alternative Names/Model numbers

Maytag W130 Wall Oven, Whirlpool W130 Wall Oven

W130 Schematic and Wiring Diagrams

Control panel (blk) (w130) (w130-c) Parts diagram
W130 Wall Oven Control panel (blk) (w130) (w130-c) Parts diagram
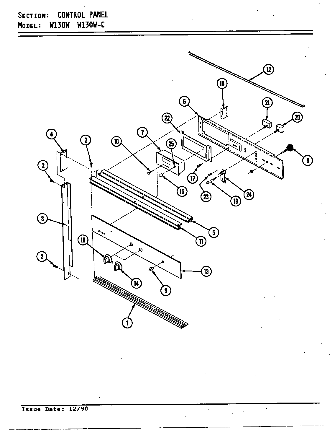
Control panel (wht) (w130w) (w130w-c) Parts diagram
W130 Wall Oven Control panel (wht) (w130w) (w130w-c) Parts diagram
Internal controls Parts diagram
W130 Wall Oven Internal controls Parts diagram
Body Parts diagram
W130 Wall Oven Body Parts diagram
Oven Parts diagram
W130 Wall Oven Oven Parts diagram
Door Parts diagram
W130 Wall Oven Door Parts diagram

Recent Service Requests

CityProblem DescriptionResolution
Hereford, TexasCan not set the timerAwaiting receipt of timer
Ottawa, OntarioConstant loud hissing noise (at constant frequency) when oven starts to get warm (after 30 minutes). At times it may do same (with oven OFF) albeit not as loud. Removed power from timer and noise "stopped immediately" when operating the oven (oven ON).
Timer missing (pictures will be provided with timer):
1) Min/Sec knob
2) the "master SET" knob (piece found broken after inspecting timer)
Replacement knobs (1 & 2 above) must be provided (with the return/repaired timer). Please quote $
Awaiting receipt of timer
IRVING, TexasTimer alarm goes off all the time or when not set or oven is heating. Everything else functions normally

I could ship old timer if needed
Awaiting receipt of timer
Stirling, New JerseyTimer began with problems setting time and skipping now all functions unusable Blinks 8888 after power resetAwaiting receipt of timer
Pearland, Texas1) the oven had a "squealing" or "singing" sound intermittently for several years.
2) the timer display would sporadically quit working
3) the timer finally died
Repaired
Sand Springs, OklahomaCannot set clock, or timer.Awaiting receipt of timer
Oregon, WisconsinRotary Knob to adjust anything does not workAwaiting receipt of timer
Seattle, Washingtonif time is not broken. please return.

Loud pop when we turned on Broil, then oven stopped heating.
Repaired
Carlisle, PennsylvaniaWhen using the oven, I think the moisture from the food is condensing out in the timer and is causing the short circuit and the timer stops working. The clock/timer just blinks, and it starts making an irritating whining noise.Repaired
Toronto, Ontario(Alternative model # 7601P123-60)

1. When I turn the knob to set the minutes on the timer it's erratic and very difficult to set - the numbers jump up and down.

2. The shaft of this knob snapped

(Please return the external button; I wasn't sure if you needed it for testing)
Repaired
Austin, TexasWall oven clock display went blank during an oven self-cleaning cycle. A service technician disconnected/reconnected the electricity to the board but this did not correct the problem. (The wall oven functions properly.) Online research shows that this is a common problem with Jenn-Air wall ovens and self-cleaning. Online Jenn-Air owners with the identical issue to mine state that they have replaced their board's capacitor and corrected the problem.Timer inspected, no repairs necessary
HUMBLE, TexasCANNOT SET THE TIMER BECAUSE THE SET SWITCH IS STRIPPED.Repaired
HUMBLE, TexasCANNOT SET THE TIMER BECAUSE THE SET SWITCH IS STRIPPED.Repaired
Canton, IllinoisTimer buzzer is continuously sounding without any function selected. It is driving us nuts. All functions of the timer work properly but the buzzer is continuously "on".Repaired

Common problems for Jenn-Air Wall Oven W130 Timer Repair

Are you encountering a similar problem as them? Contact us now and we will try to help you fix your W130 timer-related problem.
I have a jennair model W130 oven and and to the left on top is a 2 burner oven. It came with the apartment. There is a oven with 2 burners on left side, and what appears to be a gas element on the left. Is this the broiler? I don't know how to use that left side, and there is no manual. Where can I find a manual or instructions?
My sony dsc-w130 takes photos just fine til I use the zoom function. When I use the zoom function, a prompt comes on the screen asking me to turn it off then on again, suggetions?
I have a Jenn Air electic oven model W130. The bottom electic element caught fire, split. I turn off oven and now the clock does not work nor does the light come one. The circuit breaker was not thrown. Would replaceing just the electric element solve the problem or is the oven just gone?
I have a Jenn Air Oven W130, it keeps making a beeping noise. At first you could push some buttons and it would stop, now if we clean the oven it stops temporarily. I don't get a error message just the beeping. What is causing this?
I have a DSC-W130 Cyber-shot. (my 4th Cyber-shot-very happy with them) over the last few months if I take a shot with even a hint of too much sun - the sky turns pink which also "invades" much of the picture. Any clues?
Hi! My Sony cybershot DSC-W130 camera displays a turn off and on again message everytime I turn it on and does not function. I used to initialize it to default settings everytime that hapenned. But now it is not enough, it just don't work. Also is good to let you know that the lens begins to go in & out & then displays the message. I'm gonna be very greatful if you can help me!
my indesit w130 will not complete a programme fully, the programme dial will click around continually half way through a wash. Can you help?
Hello Appliance Technician: We have a Jenn-Air Model W130 Radiant Bake Oven that we have had for 19 years. It still works quite well except one or both of the door hinges just broke. It looks like the spring and other parts have broken and one side of the door is completely off. Are there repair kits for the hinge assemby, and are they easy or difficult to repair? I appreciate advise on the best approach to take and where to obtain parts if that is the best recommendation. Thanks, Customer Schenectady, NY
sony syber shot w130 10 min limit for movie clip hi i have a sony syber shot w130but it has 10 minute limit for movie clip.how can i remove that limit?
my sony DSC-W130 had an E:91:01.. how will i repair it?
my sony cybershot dsc-w130 doesn't seem to be charging. My daughter's dsc-w130 has been without a charge for a couple months now. She needs to use it in the morning and, luckily, I just found the usb charging cord. I've plugged it in to two computers and three different usb ports, but it doesn't seem to be charging. Could it just be THAT dead? Or do I have another problem? Again, she needs it in about 8 hours.
i want to use my DSC-W130 Digital camera as web cam also can it be done? if yes, then please tell me how?
shutter of camera not opening up .sony camera model no DSC -W130 hutter of camera not opening up .sony camera model no DSC -W130
My display on my clock started to fade a few months ago. The keypads and oven continued to work fine, with no error codes, I just couldn't see anything on the screen. Times were tough so I lived with it. Now that I have a little extra $$ I decided to replace the clock - part number AP4090010 or mfg part# 71001872. When I installed the clock and re-energized the system, I got an F1 error code with a continual beep. Looking at the error code, I did the F1 test, and didn't get an error code with the new clock installed and the switch membrane disconnected, so per the instructions, I ordered the switch membrane from APP - [art # AP4089601, JA number 71002871. I installed the switch membrane, with the new clock, then got an F7 message with a continual beep, which indicates a bad clock!! I can reinstall my old parts (old membrane, old clock, and don't get any error messages and the oven works okay, I just can't see anything. I suspect I got a defective clock from APP - is there an easy way t
The control panel dimmed and then went out. Replaced the clock and now oven does not work properly. When set to Broil, shutts off as soon as oven door is opened. Tried two additional new clocks all the same. When old clock is installed oven works fine just no display. Replacement clock PC board looks different than new clock PC board. How can I find correct replacement clock? Adrian