|
||||||
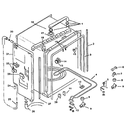
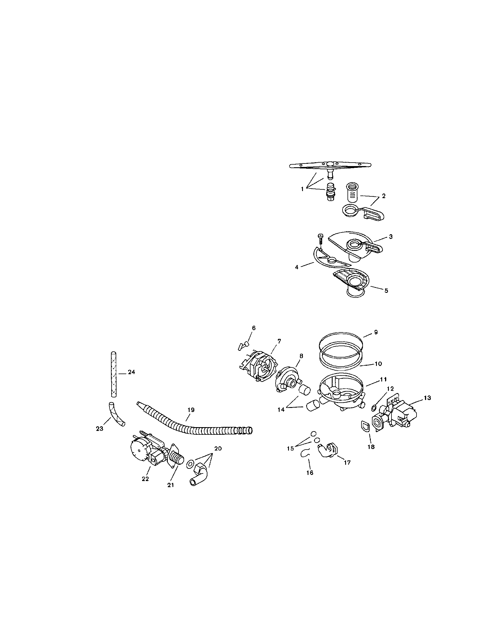
Bosch SMU7052UC14 Timer RepairWhat is the timer/clock part number for the Bosch SMU7052UC14 Dishwasher?![]() The SMU7052UC14 Dishwasher uses timer part number 92198. Do you have a failed Bosch SMU7052UC14 control panel? Click here: We can repair or replace your faulty Bosch SMU7052UC14 timer. SMU7052UC14 are also sometimes referred to using these Alternative Names/Model numbersSMU7052UC-14 (FD 7507-790, SMU7052UC-09 (FD7307, 750, SMU7052UC-09 (FD 7507-790 SMU7052UC14 Schematic and Wiring DiagramsCommon problems for Bosch SMU7052UC14 Timer RepairAre you encountering a similar problem as them? Contact us now and we will try to help you fix your SMU7052UC14 timer-related problem. Hello, I have an old Bosch smu 7052 uc/14 dishwasher and I need help replacing the program monitor drive. How do I remove the fascia panel insert to access the back of the panel to replace the drive. Also, there is a small curved clip that I believe goes under the blue and ooven monitor drive--it fell out when I tried to reinstall the part and I'm not sure how/where it attaches. Thanks for your help, Robin |
||||||
|
||||||