Maytag Free Standing Gas Range SF385PEE Timer Repair

What is the timer/clock part number for the Maytag SF385PEE Free Standing Gas Range?

Timer part number 6610060 for Maytag SF385PEE

The SF385PEE Free Standing Gas Range uses timer part number 6610060.

Do you have a failed Maytag SF385PEE control panel? Click here:

Request Appliance Timer Service

We can repair or replace your faulty Maytag SF385PEE timer.

SF385PEE are also sometimes referred to using these Alternative Names/Model numbers

Whirlpool SF385PEE Free Standing Gas Range, SF385PEEN0, SF385PEEQ0, SF385PEEW0, SF385PEEZ0

SF385PEE Schematic and Wiring Diagrams

Cooktop Parts diagram
SF385PEE Free Standing Gas Range Cooktop Parts diagram
Control panel Parts diagram
SF385PEE Free Standing Gas Range Control panel Parts diagram
Manifold Parts diagram
SF385PEE Free Standing Gas Range Manifold Parts diagram
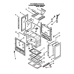
Chassis Parts diagram
SF385PEE Free Standing Gas Range Chassis Parts diagram
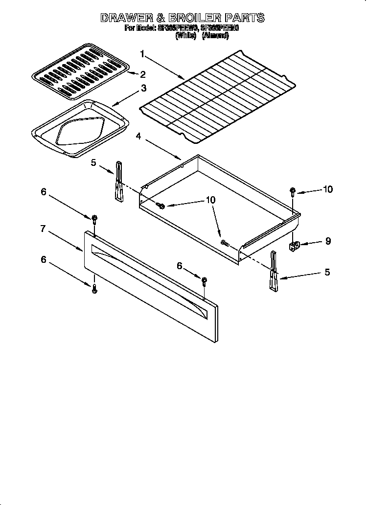
Drawer and broiler Parts diagram
SF385PEE Free Standing Gas Range Drawer and broiler Parts diagram
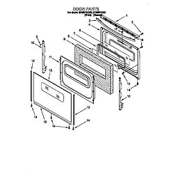
Door Parts diagram
SF385PEE Free Standing Gas Range Door Parts diagram

Recent Service Requests

CityProblem DescriptionResolution
Toms River, New JerseyOven will not work. When the power is turned on there is a PF code. When you go to set clock, an E1code is displayed. When you press bake an E1 F1 code appearsReplaced with reconditioned timer

Common problems for Maytag Free Standing Gas Range SF385PEE Timer Repair

Are you encountering a similar problem as them? Contact us now and we will try to help you fix your SF385PEE timer-related problem.
I have a Super Capacity 465 with Accubake System. Model GS395LEG (purchased in 10/2000 by previous home owner). My wife had trouble starting the oven last night and now the oven display has an LOC code and a lock icon. I have tried turning the circuit breaker on the range on and off to see if I could reboot but no luck. Any suggestions?
I have a 10 year old Maytag range, Model SF385Pee. My cleaining lady was cleaning my range and heard the beeping with the message F-5. Anything I can do? I have tried several times to cancel. Or need someone come out to service.
I have a question about our Whirpool Super Capacity 465 gas range. We had a power outage, and now I can't get the clock function to work. I set the time after the outage, but the digital display goes away. I pressed the clock function for five seconds, but now there are two codes displayed: "EO" on the left and "F5" on the right. Do you have any ideas?
I have a Super Capacity 465 oven. The Ignitor isn't "clicking" anymore. Before the oven stopped working, when the oven was turned on, there was a high pitched squeal, which I assume was the gas flowing through the valve at the bottom of the appliance. The top burners work fine, and there are not any squealing noises when they are in use. The gas doesn't seem to be flowing in the oven, probably a safety feature. Would this be a simple ignitor replacement issue? Thank you so much!
Whirlpool gas oven, model SF385PEG. Oven works but when put on clean we get an error. My husband and I are handy so we take off the back of the oven, set the controls to clean, manually set the door latch to lock, (and the door is in fact locked) the oven fires like the cleaning cycle is starting just fine within one minute we get the error F5. We know it needs a new solenoid but why the error after we have bypassed that? Is there another problem?
The oven ignitor on a super capacity 465 SF385PEE will not turn on. The broiler ignitor and range top ignitor and gas works fine. How easy and how do you remove the ignitor? I removed the flame spreader and see it does not light. Is there any measures to clean or troubleshoot ignitor?
gas ignitor Our gas range top keeps trying to ignite even though the knobs are in the off position. It started after I took off the knobs to clean them. The model number is sf385pee
Hey everyone, I have a Whirlpool Gold Series Accu-bake Electric Oven/oven, Model #GLSP84900 (might be a Canadian-market specific model number). Anyways, when I attempt to run a cleaning cycle on the oven the following happens: The oven latches shut no problemClean cycle begins for about 10 minutesOven Errors out with E0 F5 error, sometimes I've seen E1 F5.After the cool-down, the oven unlatches itself.So it appears to me that the locking latch is working fine, so why is it erroring out? I assume it's because my door switch (one that activates the light) is fritzing out or dead now - How do I replace it, and where can I find it?
A squirrel chewed completely through the neutral wire of my electric entry cable to my house, causing several problems, one of them being the display on my range no longer works. The ignitors still work. Is there a fuse somewhere in the range that could have blown before the control panel fried? I've taken the back off and can't locate one. Give me some good news...
am getting an e1 f1 error code on whirlpool super capacity natural gas oven model sf385pee please help if you can, thanx
Whirlpool Oven will not light Model SF385PEE Help its Turkey time Yes,I have a Whirlpool gas range that is about 12 years old, I had to replace the gas valve last week because it was leaking enough gas that you could smell it the gas company came out and verfied it was the gas valve. range now will not light I though I must have broke the igniter in the oven moving it around. So I have also replaced the igniter, still the oven igniter will not come on. Is there any special on this gas valve that needs to be turned on other than hooking up the gas and four wires. Thanks for your time in this matter. Thanksgiving is on it's way and the wife is not happy. I'm not ready to shoot the lock of the wallet for a new range.Kelly