Whirlpool Electric Range RF390PXP Timer Repair

What is the timer/clock part number for the Whirlpool RF390PXP Electric Range?

Timer part number Borg/Diehl Model C-403, WPL #314030 for Whirlpool RF390PXP

The RF390PXP Electric Range uses timer part number Borg/Diehl Model C-403, WPL #314030.

Do you have a failed Whirlpool RF390PXP control panel? Click here:

Request Appliance Timer Service

We can repair or replace your faulty Whirlpool RF390PXP timer.

RF390PXP are also sometimes referred to using these Alternative Names/Model numbers

RF390PXPW0

RF390PXP Schematic and Wiring Diagrams

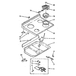
Cooktop Parts diagram
RF390PXP Electric Range Cooktop Parts diagram
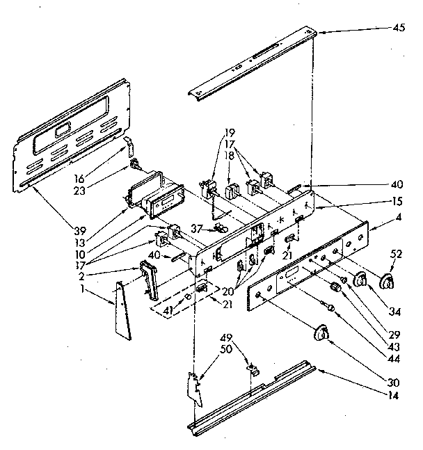
Control panel Parts diagram
RF390PXP Electric Range Control panel Parts diagram
Door and drawer Parts diagram
RF390PXP Electric Range Door and drawer Parts diagram
Oven Parts diagram
RF390PXP Electric Range Oven Parts diagram
Wiring harness Parts diagram
RF390PXP Electric Range Wiring harness Parts diagram

Recent Service Requests

CityProblem DescriptionResolution
Leesburg, VirginiaTime et knob/shaft broke off inside timer.Awaiting receipt of timer
Leesburg, VirginiaSometimes count down timer can not be set. Display goes up to a max of 1 or 2 seconds. Also, count down time is fast when it can be set.
Stove is Almond color, control panel face is black. The part number above is off the back of the Borg/Diehl timer.
Awaiting receipt of timer
Schenectady, New YorkAll the functions of the stove currently work, top, oven and cleaning. Only the little knob that sets the clock or the timer doesn't work. It just sort of spins and the digital clock numbers do not change.Repaired
Lebanon, New HampshireWe had some power failures over the course of a week, including loss of one leg of the main supply to the house. Came downstairs one morning after those repairs had been made, and the clock display was dark. The rest of the range woks fine. I measured the voltage at the timer terminals and it was normal 110-120v. So I have removed the timer and am sending it to you.Repaired