Frigidaire PLDB999CC0 Timer Repair

What is the timer/clock part number for the Frigidaire PLDB999CC0 Dishwasher?

Timer part number 154445803 for Frigidaire PLDB999CC0

The PLDB999CC0 Dishwasher uses timer part number 154445803.

Do you have a failed Frigidaire PLDB999CC0 control panel? Click here:

Request Appliance Timer Service

We can repair or replace your faulty Frigidaire PLDB999CC0 timer.

PLDB999CC0 are also sometimes referred to using these Alternative Names/Model numbers

Electrolux PLDB999CC0 Dishwasher

PLDB999CC0 Schematic and Wiring Diagrams

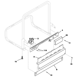
Control panel Parts diagram
PLDB999CC0 Dishwasher Control panel Parts diagram
Door Parts diagram
PLDB999CC0 Dishwasher Door Parts diagram
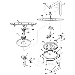
Tub Parts diagram
PLDB999CC0 Dishwasher Tub Parts diagram
Motor & pump Parts diagram
PLDB999CC0 Dishwasher Motor & pump Parts diagram
Frame Parts diagram
PLDB999CC0 Dishwasher Frame Parts diagram
Racks Parts diagram
PLDB999CC0 Dishwasher Racks Parts diagram

Recent Service Requests

CityProblem DescriptionResolution
Homer Glen, IllinoisAt start of wash cycle the time display starts flashing every second with a click sound. After a while the pipes would make a bump noise as if the pump is gpoing on and off. Sometimes the cycle will complete with just the clicksin and flashing and no bumpoing noise. Also believe the defautl hot airt dry is no longer working.Awaiting receipt of timer
Arborg, Manitobaapprox 30 minutes into wash cycle it begins to click and intermitently from the control panel and flash a CL error code. If left it will get worse and completely shut down. All other components seem to work fine.Beyond Repair
Chicago, IllinoisMakes a clicking sound and stops during the cycle.Awaiting receipt of timer
Prescott, ArizonaTries to complete cycle but gets stuckAwaiting receipt of timer

Common problems for Frigidaire PLDB999CC0 Timer Repair

Are you encountering a similar problem as them? Contact us now and we will try to help you fix your PLDB999CC0 timer-related problem.
I have a frigidaire 900 series dishwasher. Pldb999cc0 - and it is not properly draining. i can see some water in the drain hose and there is water left in the bottom of the dishwasher. also when it sounds like it is supposed to be draining it sounds like crazy crackling noises - this is a new noise and doesn't sound good. please help
Dishwasher model PLDB999CC0 has started making a clicking sound as the time remaining display blinks. I removed the control panel and took the white cover off the PC board. The clicking is coming from a relay on the board and a green light flashes on the relay box with each click. I suspect that is just a symptom, and there is a mechanical or sensor error that is the cause. The machine does run, but takes a long time to finish a cycle and makes other unusual (and intermittent) sounds while running. I don't see anything impeding the rotater arms or other obvious obstructions. But I'm not sure where to look really. Suggestions?
my Frigidaire dishwasher ( model number pldb999cc0) will not drain water from tube. checked connection/ drainage through disposal;it's ok. took off drain line;nothing is coming out of drain line. checked inside tub to ensure drain was not clogged. Any other suggestions?
Frigidaire dishwasher PLDB999CC0...A long thin rubber strip about a fourth of an inch wide has broken and is coming loose from the bottom of the interiorof the door. There are no signs of leakage. Should this be replaced, and if so with what?
Dishwasher turns on, initial drain cycle works, initial fill cycle works, then falls silent and does not kick into wash mode. The clock continues to function properly, with second drain and fill cycles kicking in. Continues all the way to finish but does not wash. Does anyone know what relay or module needs to be replaced on this appliance?
dishwash fills with water fine and drians fine. But it does not wash the dishes, no water come throw the arms. So is this a pump out, if so were would it be located. Could not fine it on the online diagram. O' I have the electrolux prof. Model # PLDB999CC0