Frigidaire PLDB998CCO Timer Repair

What is the timer/clock part number for the Frigidaire PLDB998CCO Dishwasher?

Timer part number 154445803 for Frigidaire PLDB998CCO

The PLDB998CCO Dishwasher uses timer part number 154445803.

Do you have a failed Frigidaire PLDB998CCO control panel? Click here:

Request Appliance Timer Service

We can repair or replace your faulty Frigidaire PLDB998CCO timer.

PLDB998CCO are also sometimes referred to using these Alternative Names/Model numbers

Electrolux PLDB998CCO Dishwasher, PLDB998CC0

PLDB998CCO Schematic and Wiring Diagrams

Control panel Parts diagram
PLDB998CCO Dishwasher Control panel Parts diagram
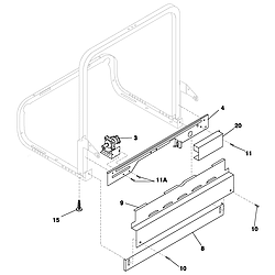
Door Parts diagram
PLDB998CCO Dishwasher Door Parts diagram
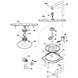
Tub Parts diagram
PLDB998CCO Dishwasher Tub Parts diagram
Motor & pump Parts diagram
PLDB998CCO Dishwasher Motor & pump Parts diagram
Frame Parts diagram
PLDB998CCO Dishwasher Frame Parts diagram
Racks Parts diagram
PLDB998CCO Dishwasher Racks Parts diagram

Recent Service Requests

CityProblem DescriptionResolution
beauharnois, QuébecAwaiting receipt of timer
Westmount, QuébecThe cycle begin normaly and after 15 minutes it stop and start each 20 secondsAwaiting receipt of timer

Common problems for Frigidaire PLDB998CCO Timer Repair

Are you encountering a similar problem as them? Contact us now and we will try to help you fix your PLDB998CCO timer-related problem.
My dishwasher started to smell like something was burning and the control panel blacked out. I took off the panel and there is a burnt connection. The wire otherwise looks fine but the panel is charred at the connection. The control panel # is 154445803. What could have caused this and can do I need to replace the panel. If so where can I get one cheap.