|
||||||||||||||||||||||||||||||||||||
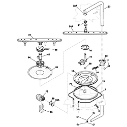
Frigidaire PLDB998CC0 Timer RepairWhat is the timer/clock part number for the Frigidaire PLDB998CC0 Dishwasher?![]() The PLDB998CC0 Dishwasher uses timer part number 154445803. Do you have a failed Frigidaire PLDB998CC0 control panel? Click here: We can repair or replace your faulty Frigidaire PLDB998CC0 timer. PLDB998CC0 are also sometimes referred to using these Alternative Names/Model numbersElectrolux PLDB998CC0 Dishwasher PLDB998CC0 Schematic and Wiring DiagramsRecent Service Requests
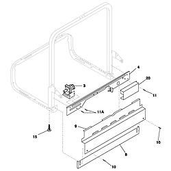
Common problems for Frigidaire PLDB998CC0 Timer RepairAre you encountering a similar problem as them? Contact us now and we will try to help you fix your PLDB998CC0 timer-related problem. Loud Grinding noise when draining Maytag dishwasher model MDB5100. How do I remove spray arm & cover to access pump assembly? I have a Fridgedaire dishwaser model PLDB998CC0 It runs but constantly is interrupted about every second or so with a CL flash on the display. I've replaced the latch and gasket and it's still doing it. I don't know what else it could be.... My Frigidaire Dishwasher model PLDB998CC0 will fill with water then it starts making a loud noise that the motor is stuck. I took out the spray arm and nothing is in the bottom. when I cancel the wash all of the water pumps out of the bottom. The door on my PLDB998CC0 Dishwasher won't lock closed. We left it closed for a long period. Suggestions? The dishwasher runs. We hold the door shut. frigidaire dishwasher pldb998ac1 is it dead? It started buzzing loudly a few minutes after being turned on and the control panel lights were only partially lit. I noticed there was no water in it so I added water. It seemed to work but then I got smoke.out of the control panel and a burning smell. I killed power. When I turned power back on the next day I got a PF then nothing. SAny ideas? My dishwasher makes a loud noise during the drain cycle. Hello, My Frigidaire PLDB998CCO dishwasher has begun flickering the digital display between the remaining time on the cycle and the letters CL. It begins intermittently but the frequency increases until it finall stops operating and the CL stays lit. At the same time, it sounds like the water pump is flickering on and off each time the display alternates between the number and CL. When I open the unit door and let it rest for some time - especially when i wait long enough for the spray arms to stop dripping - it will restart; but does not run as long. As I repeat that process the functioning time gets shorter and shorter until it will not restart at all. Is this something I can repair at home? If so, what is going on? Thank you, Stacey Johnson My Model #pldb998cc0 dishwasher does not drain all the out at the end of the cycle. I have taken all the parts out inside down to the strainer and removed my drain hose blowining it out, found no blockages or kinks and still won't drain completely. What should I try next We have a frigidaire Oven model # PLDB998CC0 SERIAL # TH33356402. WHILE CLEANING THE OVEN CONTROL PAD WERE SUDDENLY ACTIVATED WITH CLEAN AND LOCK SIGN WHICH LATER ON DISPLAYED F9 AND ERR MESSAGE WITH A CONYINUOUS BEEP. WE CANNOT GET IT CANCELLED OR STOP IT. PLEASE LET US KNOW HOW TO STOP IT. Last week my dishwasher ran all night, not shutting off until I opened the door. I had to unplug it to reset it it seemed to work fine until today when it stop allowing me to choose any cycle except normal. It also does not run (motor or pump) but the clock will count down. I have a oven that displays F1 error code ONLY when in self cleaning mode after 1 1/2 hrs. Otherwise oven works perfectly. When attempting to buy EOC part on ApplianceParts website, there are similar model numbers as PLCS389DCB but none exact. This slide-in oven has a gas range top with an electric convection oven. Is this a special oven and I have to get part from manufacturer? Or can you recommend other vendors? F1 Electronic oven control failure Replace electronic oven control (also called EOC or clock). Dishwasher control panel was flasing ALL signals and starting on it's own. Could not clear. We replaced the electronic control panel, it worked for about 2 weeks, then started doing the same thing. Comes on by itself, and has ALL signals flashing on LED panel. What else could be causing this problem? On my Frigidaire Dual Fuel Oven, Gas top, Electric oven, it will not heat up, takes 1 hour to get to 200 degrees. No error codes on the display, broil element works fine, Clean cycle works, oven got to 400 degrees when testing with a oven thermometer before I cancelled the Clean cycle. Per other posts I have a feeling that it is the EOC / "clock/clock". I have a pldb998cc0 frigidaire. The tech who came out told me the problem was the control panel and that they don't make them anymore. There is not apparent arc marks so it did not short out. We have turned it on and off to try to get it to reset and all that happens is the front panel lights all go on for 5 seconds then die out. There is no sound at all of pump or water. I talked to the manufacturer and they do not manufacture this part anymore. Any suggestions before I have to pitch it and go by another one. It is only7 years old and hasn't been used that much :( The tech did not try anythng. He was there for 15 minutes then got back with me the next day saying there was nothing to do for it and that he would go ahead and charge my credit card for his 15 minute visit (43.00) frigidaire dishwasher pldb998cc0 lights up but won't start control pannel lights up but will not start, no water , clock ticks down like it is working but it is not My sister bought a used PLCS389DCB Frigidaire range and now it is driving me crazzy. It beeps nonstop with a message error "F1". Could this be the sensor probe or the EOC or anything else? Please help if you know of the solution to the problem or anything. We need to replace pump on dishwasher - Model PLDB998CC0Part#5304463777wE BOUGHT THE PART, BUT DO NOT KNOW HOW TO INSTALL. CAN YOU HELP? How do you remove the front stainless panel from the door in order to replace a door switch. We have removed the 3 screws along each side of the door (frame), but the black plastic control panel with front controls is still tight in the middle and doesn't move. I hesitate to pull on it too hard. The stainless steel front panel moves away somewhat, but the black plastic control panel top section is tightly in place. The clock knob on the left, the door latch center and the selector switches on right do not overlap the panel control cut outs in any way, so I assume these do not require removal from the front before pulling off the panel. MODEL# PLDB998CC0 FRIGIDAIRE DISHWASHER' PRESS A CYCLE, LIGHT AND NUMBER COMES ON (INDICATING RUNNING TIME BUT NOTHING HAPPENS AND IT SHUTS OFF ON ITS OWN. POWER SUPPLY GOOD, WHAT NEXT? BAD BOARD? My Electrolux dishwasher remains only on one short cycle. It does complete the cycle and shows CL but the on/off touch pad will not let me change to different settings it only stays in one. Opening and closing the door is the only way I can get it come on and off and cycle though. Any Ideas? |
||||||||||||||||||||||||||||||||||||
|
||||||||||||||||||||||||||||||||||||