KitchenAid KUDM220T4 Timer Repair

What is the timer/clock part number for the KitchenAid KUDM220T4 Dishwasher?

Timer part number MS00800157 for KitchenAid KUDM220T4

The KUDM220T4 Dishwasher uses timer part number MS00800157.

Do you have a failed KitchenAid KUDM220T4 control panel? Click here:

Request Appliance Timer Service

We can repair or replace your faulty KitchenAid KUDM220T4 timer.

KUDM220T4 are also sometimes referred to using these Alternative Names/Model numbers

Whirlpool KUDM220T4 Dishwasher

KUDM220T4 Schematic and Wiring Diagrams

Front cover Parts diagram
KUDM220T4 Dishwasher Front cover Parts diagram
Door and panel Parts diagram
KUDM220T4 Dishwasher Door and panel Parts diagram
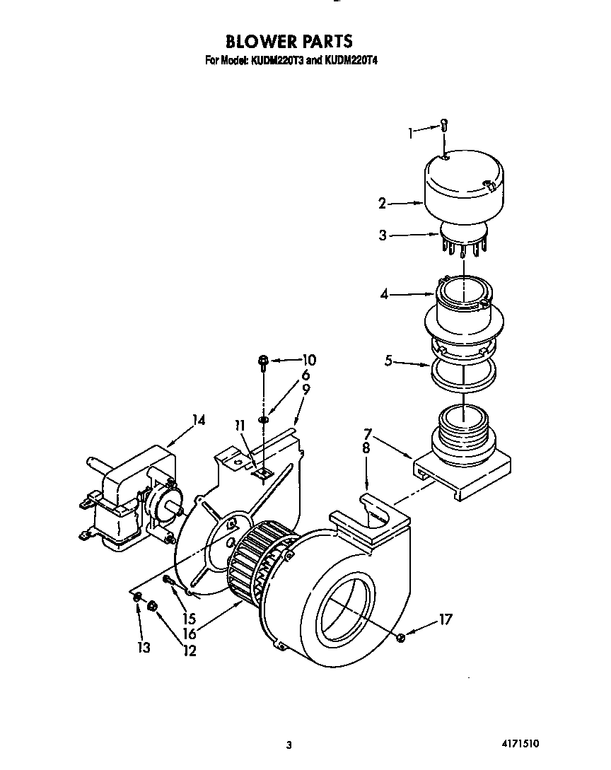
Blower Parts diagram
KUDM220T4 Dishwasher Blower Parts diagram
Control panel Parts diagram
KUDM220T4 Dishwasher Control panel Parts diagram
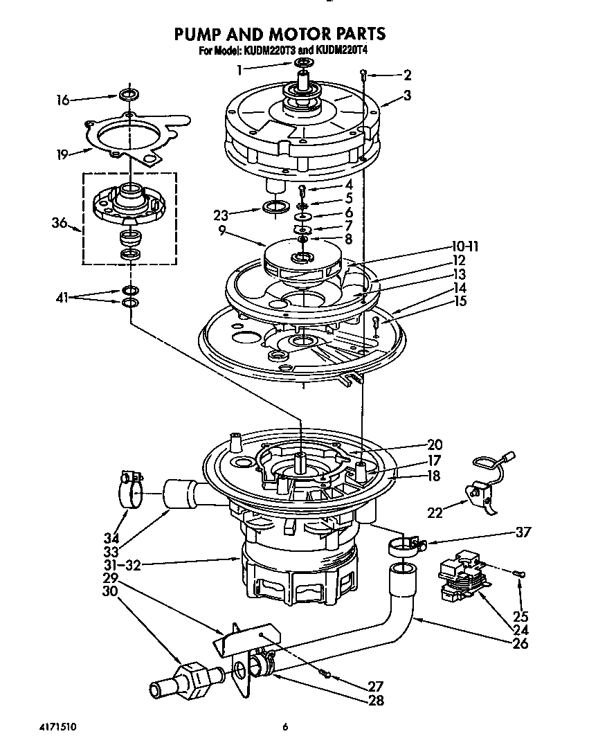
Pump and motor Parts diagram
KUDM220T4 Dishwasher Pump and motor Parts diagram
Lower washarm and strainer Parts diagram
KUDM220T4 Dishwasher Lower washarm and strainer Parts diagram
Heater Parts diagram
KUDM220T4 Dishwasher Heater Parts diagram
Fill and overfill Parts diagram
KUDM220T4 Dishwasher Fill and overfill Parts diagram
Upper wash and rinse Parts diagram
KUDM220T4 Dishwasher Upper wash and rinse Parts diagram
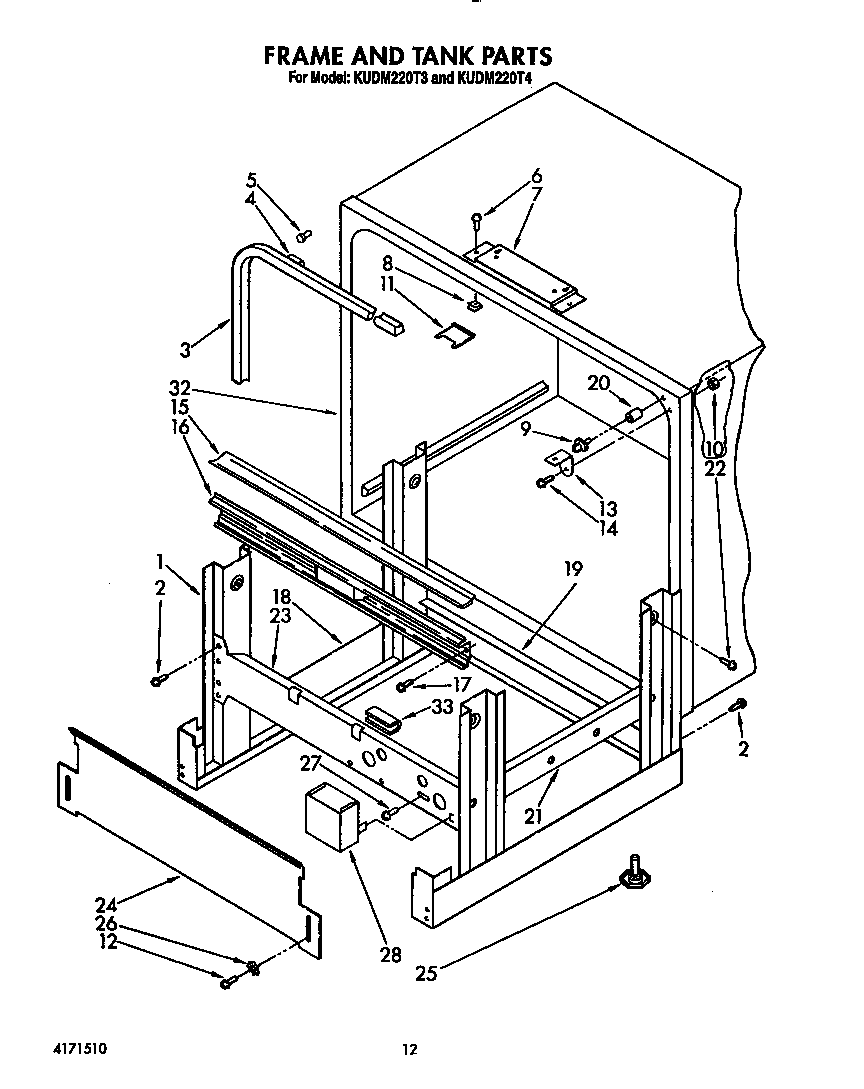
Frame and tank Parts diagram
KUDM220T4 Dishwasher Frame and tank Parts diagram
Upper rack and track Parts diagram
KUDM220T4 Dishwasher Upper rack and track Parts diagram
Lower rack Parts diagram
KUDM220T4 Dishwasher Lower rack Parts diagram
Door and latch Parts diagram
KUDM220T4 Dishwasher Door and latch Parts diagram

Recent Service Requests

CityProblem DescriptionResolution
Colbert, WashingtonBad motor??Replaced with reconditioned timer
Windber, PennsylvaniaTimer does not shut off at end of select cycle and continues to cycle through the entire timer cycles until manually shut off oor stopped. The dishwasher operates properly just does not shut off at the timer cycle off points.Repaired

Common problems for KitchenAid KUDM220T4 Timer Repair

Are you encountering a similar problem as them? Contact us now and we will try to help you fix your KUDM220T4 timer-related problem.
the cleaning light is flashing and the unit will not go through the cycle. It sometimes fills with water but then does nothing. Sometimes the powdered detergent is unloaded, sometimes not. Kitchenaid says the control board has to be reset. Is there an easy way to do this, or is there an onboard diagnostic that can be run to determine the problem?? Kitchaid warrents all electricl parts for five years, but will only supply if diagnosed by one of their own (captive profi,t I guess). Any ideas wil be greatly apprciated. PS - machine started to be a little louder tha usual about one year ago but ran fine until now.
My dishwasher door will not shut, so I ordered a new latch kit (8193830) and strike (8574157). Sears says that they have an updated version of the original door strike, they no longer sell the original version. The problem is, is that the two parts are not even close to the same and I have no idea how the new strike is to be installed, Im wondering if they may have given me the wrong part. (although it is the same part number on the bag it came in). I will try and post a picture of the original strike and the new one. Please comment if anyone has any suggestions. ps the pic on the left is the new part I was sent
This unit seems to be "stuck" in the wash-mode. When you push cancel/drain, it dumps the water but continues to sound like its washing. Open the door and it seems quite hot in there, like normal.
I just replaced the control board to correct a problem where I would get a blinking Rinse Only & Clean light. Once this started I could not run a wash cycle. Killing all power to the unit didn't always help but I discovered that removing the control unit and putting it back in seemed to correct the proplem for a cycle or 2. I thought the problem was solved when the dishwasher worked for several wash cycles. Now I am having the problem where the normal wash button won't work. It seems like cancel/drain is all that works. I killed the power and opened the panel and removed and rechecked all connections and after turning on the power again everything worked normally. This is what the original problem was, after taking out the control and reinstalling it, it works for a couple of times then stops working. Often the rinse only and clean lights are blinking. Even when I kill the power and wait hours and turn the power back on it doesn't seem to reset it until I remove the control board. Coul
Alll of a sudden, the dishwasher would not fill up with water. I tested the old fill valve and found it to be operational when AC is applied. I used the documentation to determine that there is NO power to the fill valve under any circumstances. Ideas ?? PS: It occured to me that the onset of this problem was accompanied by the strong smell of something 'burning up' underneath the machine.
I'll try to be short and to the point. Our six year old KitchenAid started acting up a few months back. Don't know any more of the particulars at this stage of the game but it wouldn't start up. We called a local independent repair company who has been in business for many years and they said "circuit board - $250 -300". But go to the breaker, turn it off, and turn it back on". We decided to think about spending that cash on that appliance and decided to do the circuit breaker trick. Well, that worked for a few weeks and then back to same problem. I then went and bought the new board myself and popped it in. Seemed to work for one or two washings and then same problem. Finally called another repair guy and he says it is the "User Interface". He will be back next week to install a new interface. Here's the rub. Every time I go into where the printed circuit board is, unplug everything, and then plug eveything back it, the machine works just fine. But for only one washing. Then it won't
no water pressure to upper blade. Heater ok, cycles ok. no schematic available. Worked yesterday. Is it a pump or solenoid?
Hi, I have a KA DW model #FB1224839, serial # XXXXX and the latch is broken and obviously cannot operate the Dishwasher, can we fix it...new latch...please advise. It is located at 8 Glennon Farm Road, Lebanon, NJ 08833 Thanks, Scott Rhoades XXX-XXX-XXXX