|
||||||
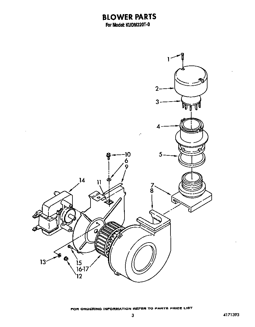
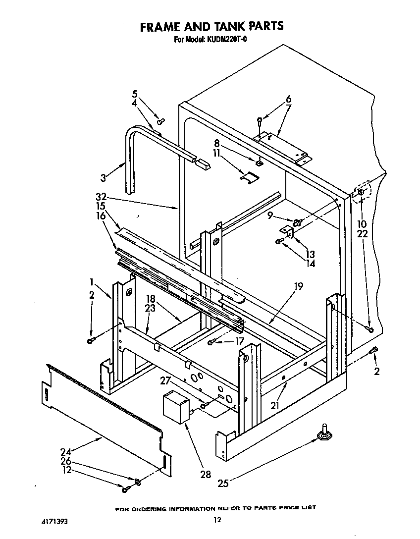
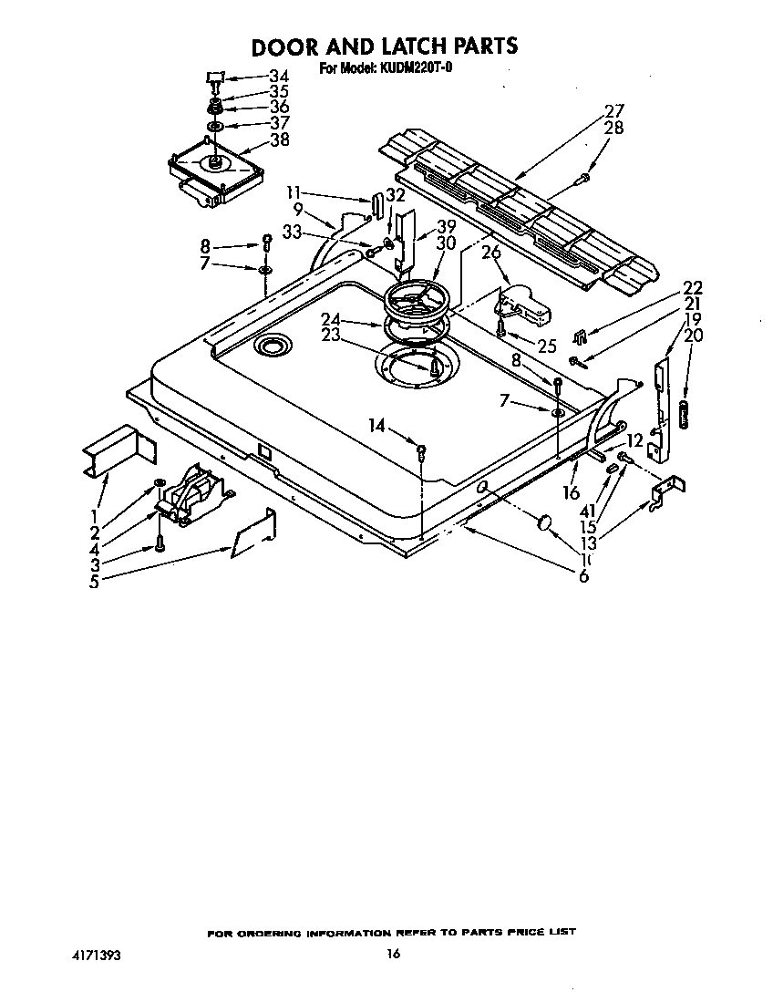
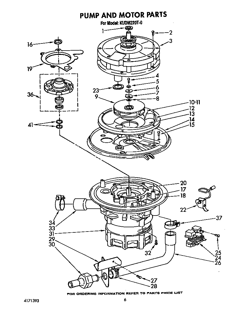
KitchenAid KUDM220T0 Timer RepairWhat is the timer/clock part number for the KitchenAid KUDM220T0 Dishwasher?![]() The KUDM220T0 Dishwasher uses timer part number 4171360. Do you have a failed KitchenAid KUDM220T0 control panel? Click here: We can repair or replace your faulty KitchenAid KUDM220T0 timer. KUDM220T0 are also sometimes referred to using these Alternative Names/Model numbersWhirlpool KUDM220T0 Dishwasher KUDM220T0 Schematic and Wiring DiagramsCommon problems for KitchenAid KUDM220T0 Timer RepairAre you encountering a similar problem as them? Contact us now and we will try to help you fix your KUDM220T0 timer-related problem. Hello, This dishwasher leaks down the standpipe during the wash cycle. I cleaned the dishwasher by hand and ran wash cycles with draino, CLR, and Lemi Shine separately. I checked the float switch and it ohms at 23 in one direction and infinity in the other. Also, when I lift up on the float stem to trip the float switch the water flow stops immediately. The water level in the dishwasher when full is just below the heater element. I checked the vent at the sink and it appears okay. The dishwasher drains completely. I thought that maybe a gasket or o-ring was missing from the float stem where it goes into the standpipe but when I order the replacement float from AppliancePartsPros there is nothing on the float stem. I would greatly appreciate any help at this point as I am stumped. Please note that the water is not leaking from the door gasket and the water is not sudsy. It just leaks a lot of water down the standpipe hole where the float stem stick down to the float switch and this take The bottom panel of our Kitchenaid Superba dishwasher dropped open and I cannot figure out how to get it to stay closed. I have a KitchenAid Dishwasher Model KUDP220T the will not empty. It will comllete all cycles except draining the water. It will start but after a few seconds draining will shut off. Drains are clear. What part do I need to repair? |
||||||
|
||||||