General Electric Electric Wall Oven JTP10GS Timer Repair

What is the timer/clock part number for the General Electric JTP10GS Electric Wall Oven?

Timer part number WB27X5482 for General Electric JTP10GS

The JTP10GS Electric Wall Oven uses timer part number WB27X5482.

Do you have a failed General Electric JTP10GS control panel? Click here:

Request Appliance Timer Service

We can repair or replace your faulty General Electric JTP10GS timer.

JTP10GS are also sometimes referred to using these Alternative Names/Model numbers

GE JTP10GS Electric Wall Oven, JTP10GS1BG, JTP10GS3BG, JTP10GS4BG, JTP10GS2BG

JTP10GS Schematic and Wiring Diagrams

Control panel Parts diagram
JTP10GS Electric Wall Oven Control panel Parts diagram
Lock Parts diagram
JTP10GS Electric Wall Oven Lock Parts diagram
Case Parts diagram
JTP10GS Electric Wall Oven Case Parts diagram
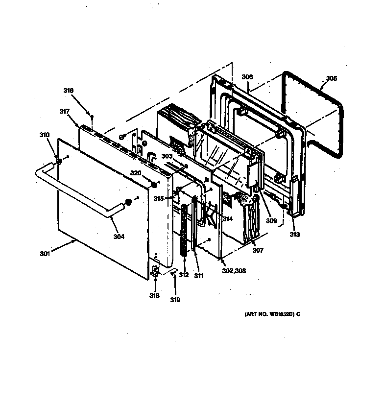
Oven door Parts diagram
JTP10GS Electric Wall Oven Oven door Parts diagram
Body Parts diagram
JTP10GS Electric Wall Oven Body Parts diagram

Recent Service Requests

CityProblem DescriptionResolution
Los Gatos, CaliforniaThe oven temp is now too low by approx 100 deg F. ie to get the oven temp up to 350, you need to set teh temp to 450 deg F. I have replaced the temp probe and verifieds the 1100ohm continuity to the timer board. IO have measured continuity and resistance for teh bake coil and it is in spec at 21ohms. Was working fine until recently. Oven >20 yrs old. I would liek a reconditioned one if you have it, otherwise repair mine is OK.Awaiting receipt of timer
Colchester, VermontAll features of the oven are working. Recently, actual temperature has lagged the set temperature by 100 to 150 degrees.Awaiting receipt of timer
Irving, TexasF1 errorRepaired
Baton Rouge, LouisianaImmediately upon installation of previously repaired timer
(see invoice history 110955) received October 24, installed by
appliance service) began beeping and displaying F-1 as original problem when shipped to you for repair. Does not turn on or off, just makes constant alarm beep.

May we send back to try repair again. We wanted to purchase a second back up but you indicated none in stock.
Beyond Repair
West Bend, WisconsinF1 error code and beeping. Able to use oven. When oven is turned off, code re-appears and beeping starts. Have to remove breaker power to silence. Keypad continuity okay. No shorts between any keypad conductors.Repaired
Fullerton, CaliforniaTried disconnecting power and resetting power - failure code persists.Repaired
Granbury, TexasThe oven will not heat over 230F. It appears that Potter Brumfield relay T90H1D12-24-18 will not close. The timer may need repair, or the relay may need to be refurbished.Repaired
Greenland, ArkansasOven only heats up to about 200 degrees while steadily climbing to set temp (400) on the display. Some problems with BAKE button, requiring you to push it several (random number) of times to get it to start.Repaired
Beaumont, TexasThe oven shuts off after 30-40 seconds and never reaches cooking temperature. The oven setting temperature is never reached before the entire panel turns off. The clock does work in spite of the temperature setting shutting off.Repaired
Baton Rouge, LouisianaWill not stay on, automatically cuts off without regard to time set
If cannot be repair, can a rebuilt replacement be obtained.
Repaired
Beaumont, TexasThe oven shuts off after 30-40 seconds and never reaches cooking temperature. The oven setting temperature is never reached before the entire panel turns off. The clock does work in spite of the temperature setting shutting off.Repaired
Beaumont, TexasThe oven shuts off after 30-40 seconds and never reaches cooking temperature. The oven setting temperature is never reached before the entire panel turns off. The clock does work in spite of the temperature setting shutting off.Repaired
Raleigh, North Carolinadoes not reach entered temp, sensor has already been replacedAwaiting receipt of timer
Arlington, TexasPress Bake = BAKE flashes

Select Temp = BAKE & ON stay lit, temp starts counting at 100, but oven shuts off after 20-30 seconds

Similar results with BROIL

Limit switches, OVEN SENSOR, & elements test good with proper continuity and resistance
Repaired
Johnston, Rhode IslandDisplay shows F1 and beeps constintly. No oven functions work.Awaiting receipt of timer
Berwyn, PennsylvaniaWill start then fan will stop so have to push bake button again. Will stop again, then have to push the bake button again.
Sometimes the F1 F2 or F3 button comes on.
Have to push the Bake button until the oven and fan comes on again.
Repaired
ORANGE, CT., ConnecticutTEMPERATURE IS NOT ACCURATE (OFF)Repaired
Oakdale,, CaliforniaBig clock does not get up to temperature, but states that it is up to temperature which was selected.Repaired
eastchester, New YorkTimer does not workAwaiting receipt of timer
Winchester Center, ConnecticutF1 error and beeping continuous. Power cycling ineffective at resetting.
No oven functions work
Tested keypad. OK
Disconnected keypad, returned power to oven, still F1 and beeping
Beyond Repair

Common problems for General Electric Electric Wall Oven JTP10GS Timer Repair

Are you encountering a similar problem as them? Contact us now and we will try to help you fix your JTP10GS timer-related problem.
Hi, I have a GE Model JTP10GS wall oven that I purchased in 1993. i have an F1 error which seems to be either the EOC or the ERC. Are these parts still available or are they discontinued?
I have a GE oven Model # XXXXX 10GS BG and it will not heat up to the proper temperature which may mean a bad termostat. Does this mean I nead to change the control which fits in the control panel? If this is true and the control is no longer available can I get an off brand control to work? This oven is 15 years old.
Our Jenn-Air freezer-on-top model makes loud noises that sound like something is knocking inside. Also at least the left side is hot to the touch. The freezer seems alright, but the fridge sometimes freezes things in the drawers, like lunchmeat and cheese and most other things seem almost too cold. It's almost on the lowest setting and it still happens. We're not exactly sure how old it is because it came with the house that we bought last year, but it seems a bit worn in it's appearance, although not terrible.
My oven will stop heating and code a F3. When it is off it will beep sometimes and code F2. Is this fixable?
F1 code on Model JTP10GS. Disconnected power and let set for awhile. Reset and came back.
(I entered this question last night, but saw no response. Am trying again:) Hello In the Winter of 2005 when I moved into this house, I inherited a GE Electric oven, model ? JTP10GS3BG - I do not know how old it is and I do not have any of the paperwork from the original owners. It has served us well, although recently it has been somewhat lukewarm in its enthusiasm for temperatures above 225º F. Regardless of whether it is set to Bake at 275º or 400º. In addition somewhere between the temperature input device in the Control Panel and the heat sensor in the Oven it suffers from some form of premature termination - signaled by its exclamatory, "Bing" although I could not tell you what it thinks is happening since the oven never reaches any of the temperatures to which it has been set. Lastly, when I turned on and set the Broiler to "Broil - High", the top element glowed bright red while the bottom one would not melt butter. I am looking
i am trying to replace the oven hinges on my ge oven model #JTP10GS3BG. The part numbers for the hinges are WB10X5209. I have removed the door but the hinges are behind the frame panel of the oven. What am I doing wrong to gain access to the hinges. I have partially pulled the oven out of the cabinet but am reluctant to proceed any further without guidance. Please help! Dave Z