General Electric Free-Standing / Drop-in Range JSP31GP1 Timer Repair

What is the timer/clock part number for the General Electric JSP31GP1 Free-Standing / Drop-in Range?

Timer part number PS238123 for General Electric JSP31GP1

The JSP31GP1 Free-Standing / Drop-in Range uses timer part number PS238123.

Do you have a failed General Electric JSP31GP1 control panel? Click here:

Request Appliance Timer Service

We can repair or replace your faulty General Electric JSP31GP1 timer.

JSP31GP1 are also sometimes referred to using these Alternative Names/Model numbers

GE JSP31GP1 Free-Standing / Drop-in Range

JSP31GP1 Schematic and Wiring Diagrams

Door Parts diagram
JSP31GP1 Free-Standing / Drop-in Range Door Parts diagram
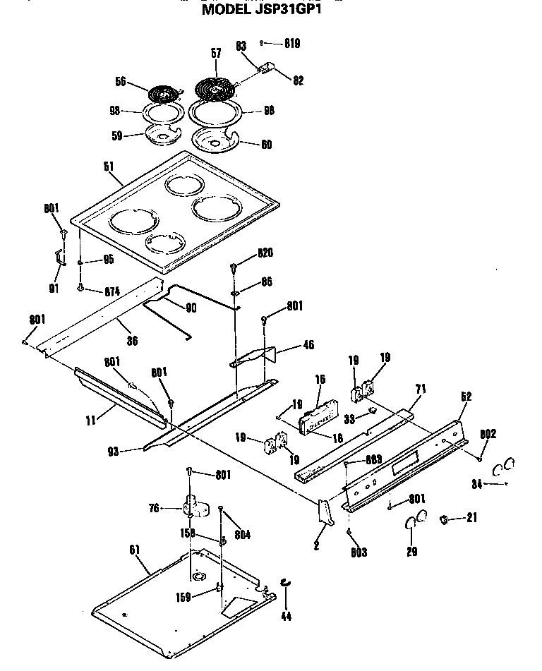
Cooktop Parts diagram
JSP31GP1 Free-Standing / Drop-in Range Cooktop Parts diagram
Main body Parts diagram
JSP31GP1 Free-Standing / Drop-in Range Main body Parts diagram
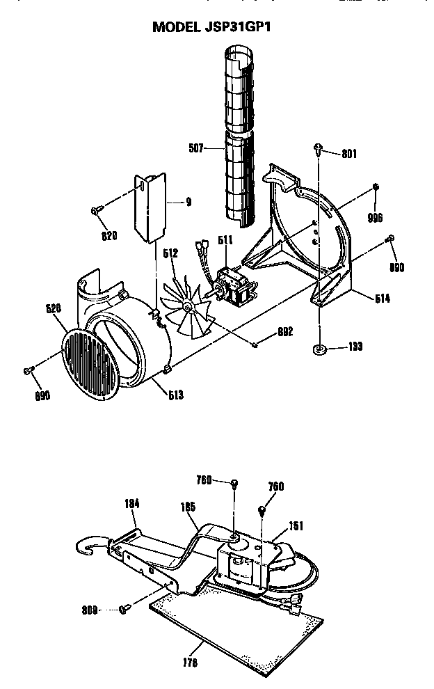
Blower Parts diagram
JSP31GP1 Free-Standing / Drop-in Range Blower Parts diagram

Recent Service Requests

CityProblem DescriptionResolution
KANSAS CITY, MissouriPUSHING BAKE WORKS AFTER REPEATED PUSHINAwaiting receipt of timer
Florence, KentuckyOven doesn't reach correct temperature.Replaced with reconditioned timer
Florence, KentuckyOven doesn't reach correct temperature.Replaced with reconditioned timer
Arlington, VirginiaOven doesn't reach correct temperature.Replaced with reconditioned timer
Orlando, FloridaMust push "BAKE" button many times before the signal will "latch in" and the oven will start to warm. All other control panel's buttons -- signals --work well -- first time and every time. The control panel has never entirely failed. It has always --eventually-- worked if the bake button is pushed enough times.
SPB
Repaired

Common problems for General Electric Free-Standing / Drop-in Range JSP31GP1 Timer Repair

Are you encountering a similar problem as them? Contact us now and we will try to help you fix your JSP31GP1 timer-related problem.
I have a 1983 GE P7 electric slide-in (not drop-in) range. Several years ago the clock started making noises so the quickest way to stop it was to turn the breaker off. Now I want to start using it again and with the prices of new ovens being what they are, especially drop-in's, I would like to replace the clock. I think I've located the part number but now the problem is how to install it, how do I get the panel off. Because its a drop-in, the surrounding counter has everything pretty much blocked off. Do I just pull the oven out and go from there? and if so, what does 'go from there' mean? Betsy
We own a Jenn-Air side-by-side refrigerator, Model JSD2789AES. Both refrigerator and freezer will gradually lose cooling capacity over time. To restore cooling, we have to take all the food out and let it set, doors open for several hours and then it seems to work ok again. I've noticed the coils in the back of the freezer section are frosted over when this happens. We called service technician who, upon inspection, said the system is not repairable and left us with a $140 service call. The ONLY thing I can think of that we're doing that might be causing the problem is occasionally leaving the door slightly ajar overnight. We're trying to make sure we don't leave the door ajar any more but before I replace it, I was wondering if there was possibly a faulty defrost clock or some other problem that might be causing this. Any guidance would be very appreciated ...
Ok, last night, the oven just started turning itself off. I set it to 425, and it got to about 300, and would just turn off. I could sit there and turn it back on, and it would stay on for about 2 minutes, and then it would turn off again. I was thinking that this was shutting off at a certain temp (thus maybe the sensor?), but this morning, I tried to turn it on and it wouldn't even turn on to bake. The top units work just fine. I was thinking this is either a sensor (the 4 inch thingy inside the oven), or the main control clock panel. The fact that it turns off, leads me to believe that it is not the sensor. Correct me if I am wrong, but the sensor just senses the temperature, and tells the unit when the temp is at a certain level. The sensor does not tell the unit to turn off. So, is it the clock control panel? If it is, is this something that is easily replaced? I read somewhere that you need an ohmmeter and some detailed knowledge of these things or you could fry the board. HELP!
The front panel on my Jenn-Air freezer will not work. The icemaker itself works fine, but the dispenser on the outside does nothing. What parts do I need to repair this problem?
Hi, I have a 10-yr old Jenn-Air side by side refrig, starting to give me problems building up ice around the coil. I have manually defrosted it using a hair dryer a few times, but recently it got to a point that the ice starts to build up too frequently (every a couple of weeks) After reading posts from this board, I figure it could be the defrost control board went bust again (it was replaced 5 years ago by someone else), and think about doing it myself. So my question is 1) Is the part number AP4070403 correct? I see some posts mentioned a defrost clock, but could not find any related to my model. 2) Is it difficult to replace it? I am not as handy as most of the people on this board, but I did in the past replace the controller board for my maytag dishwasher, so I do have a little bit of experience. Is there any special tool I would need? 3) How long is the typical life of a refrig? I hate to throw it away to landfills while most of the pieces works very well except the defrosting p
So much for calling the GE Helpline to try to obtain a part number for my F1 error. It was an endless line of speaking with automated voices. According to some of the forums here, this may be a ERC touchpad problem. Please advise if this is the correct diagnosis, a part number and if it is a simple fix?
I bought a WB27T10190 from APP. What came was a WB27T10174 control. The only instruction page told me how to wire the WB18T10124 harness adaptor. There are no instructions for how to wire the WB18T10123 3 terminal jumper, even though it's obvious that the plastic connector end goes on relay 101. There is also an addition M/F jumper in the kit. One of the relays on the new board would take a wire at the "COM" terminal. That would still leave 3 wires "unhooked" in my range: the green ground wire, a black 3 jumper wire that went to "L1" and "C" and another "L1" on the old board, and a black wire w/white stripe that used to go to "NO" on the old board. It's like I need another page of instructions, but APP said this is all that comes with it. Anyone have any greater wisdom before I reluctantly ship it back?
We have a General Electric oven Model JSP31GP and the oven stops with it showing a Failure Code of F-2
Getting a F-2 code on our GE oven when baking. The model is either a:
We have a General Electric oven Model JSP31GP and the clock buzzer won't stop going off. It is showing a Failure Code of F-1.