|
|||||||||
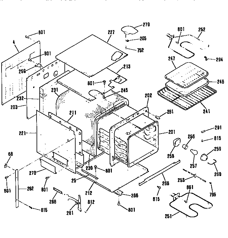
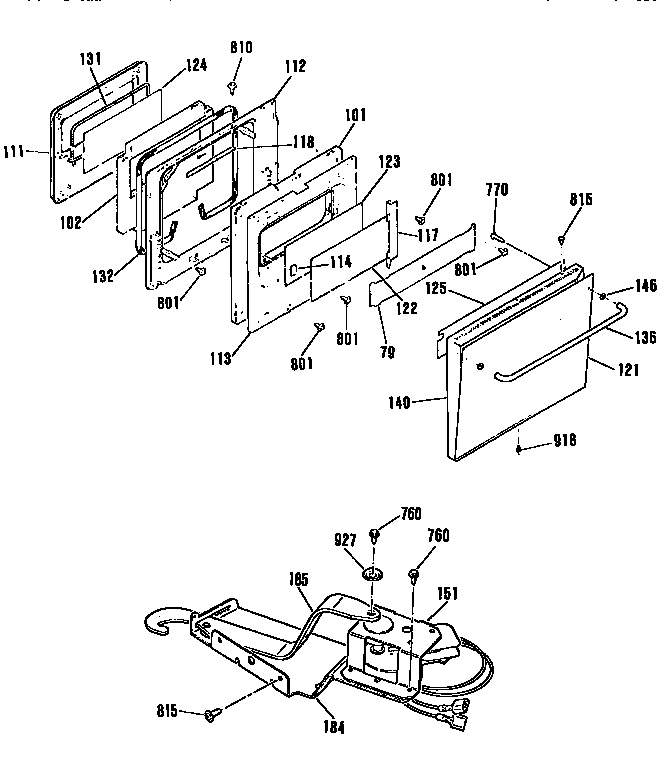
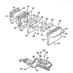
General Electric Electric Wall Oven JRP14GP2BG Timer RepairWhat is the timer/clock part number for the General Electric JRP14GP2BG Electric Wall Oven?![]() The JRP14GP2BG Electric Wall Oven uses timer part number WB27K5073. Do you have a failed General Electric JRP14GP2BG control panel? Click here: We can repair or replace your faulty General Electric JRP14GP2BG timer. JRP14GP2BG are also sometimes referred to using these Alternative Names/Model numbersGE JRP14GP2BG Electric Wall Oven JRP14GP2BG Schematic and Wiring DiagramsRecent Service Requests
Common problems for General Electric Electric Wall Oven JRP14GP2BG Timer RepairAre you encountering a similar problem as them? Contact us now and we will try to help you fix your JRP14GP2BG timer-related problem. Hi Everyone, After reading all the posts on burners not "clicking" to light (I have 3 of 5 of them out) I narrowed it down to the spark module. I am trying to replace spark module and can't seem to get to the area to replace it. I cannot figure out how to open the back of the cooktop. I have turned off gas, unplugged it and have pull it out of the countertop cut out. I don't know how to get into the burner box to replace the spark module. Does the main top just pop off or do I go through the burn shield? Any suggestions on how to get to the spark module to replace it? Ron The bake element in our GE double wall oven (top oven) is only getting warm. My question is how do I determine if the element itself is failing or is it a problem in the computer control panel? Replacing the element is easy. Repairing the digital "brain" is another story. Any suggestions? I have a GE Profile Cooktop model number JP969BOH1BB with a dual radiant heat element that no longer provides enough heat to boil water. The outer ring does not appear to work at all and the inner element is dimmer than all the other elements on the cooktop. I would like to simply replace the element if possible. It is listed as item 58 (Radiant Element) under a slightly different model number JP969BH1BB. I think they must be the same unit. Is there anything else that could be causing the problem besides the radiant element? How difficult is it to change the radiant element? Are there any slightly better assembly diagrams or assembly instruction than provided in the parts list selection area. I would like to know what I am up against before buying the replacement part. Any help would be greatly appreciated. |
|||||||||
|
|||||||||