General Electric Oven JRP14GP Timer Repair

What is the timer/clock part number for the General Electric JRP14GP Oven?

Timer part number WB27K5054 for General Electric JRP14GP

The JRP14GP Oven uses timer part number WB27K5054.

Do you have a failed General Electric JRP14GP control panel? Click here:

Request Appliance Timer Service

We can repair or replace your faulty General Electric JRP14GP timer.

JRP14GP are also sometimes referred to using these Alternative Names/Model numbers

GE JRP14GP Oven, JRP14GP4BG, JRP14GP1, JRP14GP2BG, JRP14GP28G

JRP14GP Schematic and Wiring Diagrams

Cabinet Parts diagram
JRP14GP Oven Cabinet Parts diagram
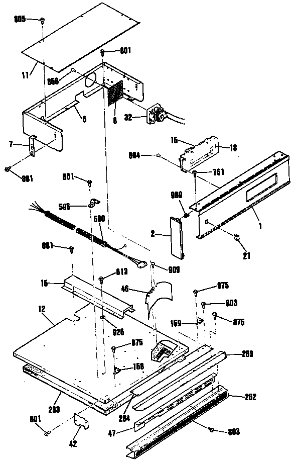
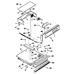
Oven Parts diagram
JRP14GP Oven Oven Parts diagram
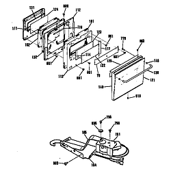
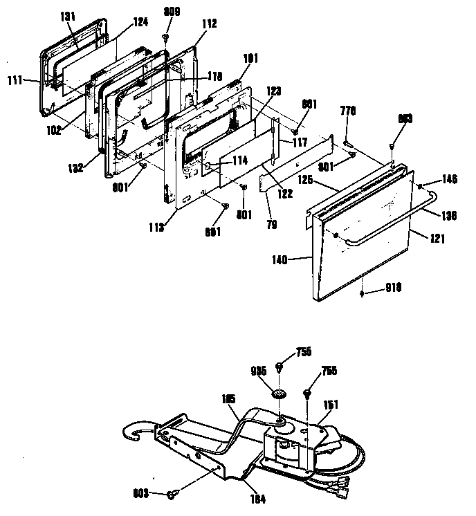
Door/lock Parts diagram
JRP14GP Oven Door/lock Parts diagram

Recent Service Requests

CityProblem DescriptionResolution
Owens Cross Roads, AlabamaATER THE OVEN IS TURNED ON IT BEGINS TO BEEP AND THEN TURNS OFF, WILL NOT HEAT. THE TEMPERATURE SENSOR READS 1000 OHMS.Awaiting receipt of timer
Owens Cross Roads, AlabamaATER THE OVEN IS TURNED ON IT BEGINS TO BEEP AND THEN TURNS OFF, WILL NOT HEAT. THE TEMPERATURE SENSOR READS 1000 OHMS.Awaiting receipt of timer
YREKA, CaliforniaContinually F1 can't clear.Awaiting receipt of timer
Rochester, New YorkBake function does not workAwaiting receipt of timer
Cortlandt Manor, New Yorkthe oven beeps whenever we try to turn it off. in order to stop the beeping we have to throw the circuit breaker. an alternative is to set the temperature of the over at 150 degrees F.Awaiting receipt of timer
Pierson, FloridaBeeps constantly and displays an F0 or an F1 error code. Cannot be cleared.Repaired
Corvallis, OregonThe baking element does not get power. The element itself works. The relay that controls the baking element clicks but does not provide 120 VAC out to the element. I noticed the broil element (that does work) is controlled by a different relay an when that one clicks, I get 120 V at that terminal.Repaired
Rockaway, New JerseyIntermittant bake and broiler operation. Self-clean cycle worked ok.
Checked ribbon cable leads for oxidation; looked shiny, but couldn't reinsert properly in connector.
Please check and repair.
Repaired
KENNEWICK, WashingtonF2 ERROR CODE INTERMITTENT...RELAY THAT CONTROLS MAIN ELEMENT WAS FOUND LOOSE IN CIRCUIT BOARD. RE-SOLDER DID NOT WORK.Awaiting receipt of timer
Stony Brook, New YorkWe were out of power for 6 days due to hurricane Irene. When power was reactivated, the power surge probably destroyed a transistor. Error code F1 was displayed each time we switched on power to oven.Awaiting receipt of timer
charlottesville, VirginiaNo heat generated when turned on. Mechanical click noise made when touchpad used. Also, I believe a failure code F1 appeared once or twice, but after that nothing appeared in touchpad screen at all.Beyond Repair
Shreveport, LouisianaOven will not hold selected temperature. Sometimes temperature is very low, sometimes very high. Occasional F1, F2, or F4 code. Will not self clean (gives failure code).Repaired
San Pablo, CaliforniaF 1 code displayed turned oven off and code returned several times after that and buzzer was sounding. Turned main power off and tried procedures again.Awaiting receipt of timer
Woodbridge, ConnecticutF1 code that cannot be cleared, turning power off for a while does not help.
The fault code disappears when "clear/off" is pressed then "bake." The oven
works fine, but when finished baking, the fault code comes back.
Awaiting receipt of timer

Common problems for General Electric Oven JRP14GP Timer Repair

Are you encountering a similar problem as them? Contact us now and we will try to help you fix your JRP14GP timer-related problem.
Hi Everyone, After reading all the posts on burners not "clicking" to light (I have 3 of 5 of them out) I narrowed it down to the spark module. I am trying to replace spark module and can't seem to get to the area to replace it. I cannot figure out how to open the back of the cooktop. I have turned off gas, unplugged it and have pull it out of the countertop cut out. I don't know how to get into the burner box to replace the spark module. Does the main top just pop off or do I go through the burn shield? Any suggestions on how to get to the spark module to replace it? Ron
The bake element in our GE double wall oven (top oven) is only getting warm. My question is how do I determine if the element itself is failing or is it a problem in the computer control panel? Replacing the element is easy. Repairing the digital "brain" is another story. Any suggestions?
I have a GE Profile Cooktop model number JP969BOH1BB with a dual radiant heat element that no longer provides enough heat to boil water. The outer ring does not appear to work at all and the inner element is dimmer than all the other elements on the cooktop. I would like to simply replace the element if possible. It is listed as item 58 (Radiant Element) under a slightly different model number JP969BH1BB. I think they must be the same unit. Is there anything else that could be causing the problem besides the radiant element? How difficult is it to change the radiant element? Are there any slightly better assembly diagrams or assembly instruction than provided in the parts list selection area. I would like to know what I am up against before buying the replacement part. Any help would be greatly appreciated.
I have a wall oven model JRP14GP. The temp is totally off - set to 350 it gets to about 200, set to 500 it gets to about 325, set to 525 it gets to sometimes 600 (degrees)... it's completely off. I can get it set to 350 (what I cook most food at) if I set it at 525 so it gets to 450 then turn it down one step at a time till it hits 350. is this the sensor or thermostat?