General Electric Electric Wall Oven JKP45WP3WG Timer Repair

What is the timer/clock part number for the General Electric JKP45WP3WG Electric Wall Oven?

Timer part number wb27k5210 for General Electric JKP45WP3WG

The JKP45WP3WG Electric Wall Oven uses timer part number wb27k5210.

Do you have a failed General Electric JKP45WP3WG control panel? Click here:

Request Appliance Timer Service

We can repair or replace your faulty General Electric JKP45WP3WG timer.

JKP45WP3WG are also sometimes referred to using these Alternative Names/Model numbers

GE JKP45WP3WG Electric Wall Oven

JKP45WP3WG Schematic and Wiring Diagrams

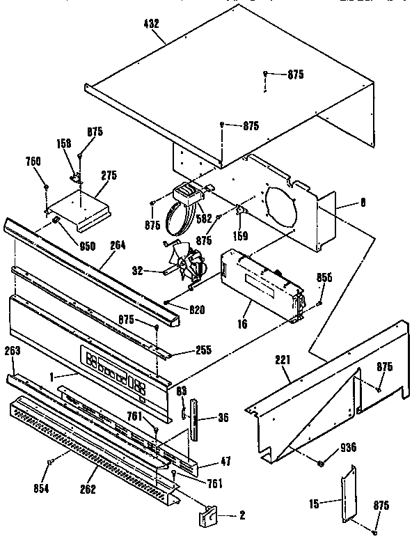
Control panel Parts diagram
JKP45WP3WG Electric Wall Oven Control panel Parts diagram
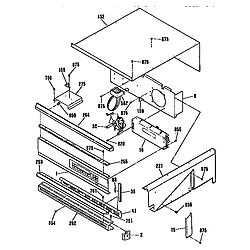
Main body Parts diagram
JKP45WP3WG Electric Wall Oven Main body Parts diagram
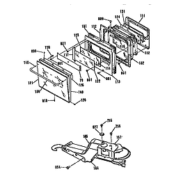
Door and lock Parts diagram
JKP45WP3WG Electric Wall Oven Door and lock Parts diagram