General Electric Electric Wall Oven JKP14WP3WG Timer Repair

What is the timer/clock part number for the General Electric JKP14WP3WG Electric Wall Oven?

Timer part number ERC-14500-RP for General Electric JKP14WP3WG

The JKP14WP3WG Electric Wall Oven uses timer part number ERC-14500-RP.

Do you have a failed General Electric JKP14WP3WG control panel? Click here:

Request Appliance Timer Service

We can repair or replace your faulty General Electric JKP14WP3WG timer.

JKP14WP3WG are also sometimes referred to using these Alternative Names/Model numbers

GE JKP14WP3WG Electric Wall Oven

JKP14WP3WG Schematic and Wiring Diagrams

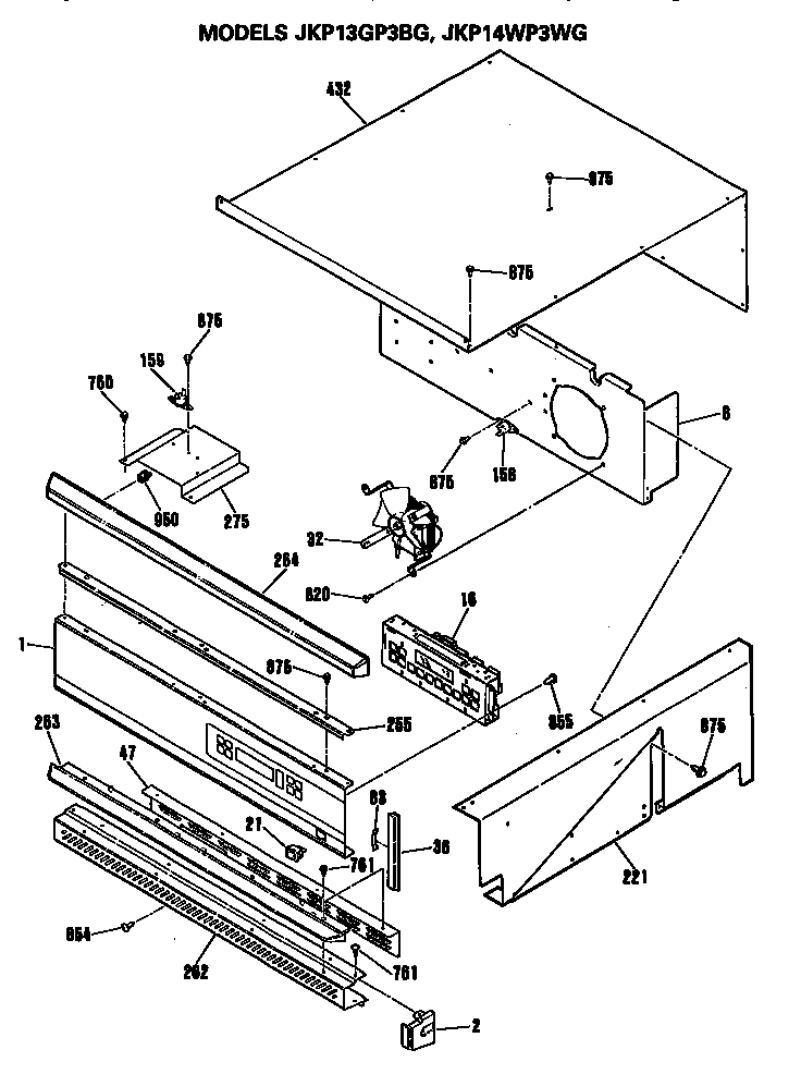
Oven Parts diagram
JKP14WP3WG Electric Wall Oven Oven Parts diagram
Door Parts diagram
JKP14WP3WG Electric Wall Oven Door Parts diagram
Control Parts diagram
JKP14WP3WG Electric Wall Oven Control Parts diagram

Recent Service Requests

CityProblem DescriptionResolution
Chino Hills, CaliforniaOven temp maxs out at 150 degrees below target setting, sensor replaced and issue remains unchanged.Awaiting receipt of timer
Plano, TexasError F1 flashes and timer beeps. Error persists when touch pad is disconnected.Awaiting receipt of timer

Common problems for General Electric Electric Wall Oven JKP14WP3WG Timer Repair

Are you encountering a similar problem as them? Contact us now and we will try to help you fix your JKP14WP3WG timer-related problem.
GE Profile Wall oven. Has the F1 code and buzzer going off. It has come on intermittently over the last year or so and it would always allow us to hit the clear button. Now it stays on all the time and the screen shows a scrambled mess (no letters or numbers) We have it turned off at the breaker. Question - is it likely the erc? It sounds like these are no longer available? What do I do to fix it?