General Electric Gas Range JGBP79AEW1AA Timer Repair

What is the timer/clock part number for the General Electric JGBP79AEW1AA Gas Range?

Timer part number WB12K19 for General Electric JGBP79AEW1AA

The JGBP79AEW1AA Gas Range uses timer part number WB12K19.

Do you have a failed General Electric JGBP79AEW1AA control panel? Click here:

Request Appliance Timer Service

We can repair or replace your faulty General Electric JGBP79AEW1AA timer.

JGBP79AEW1AA are also sometimes referred to using these Alternative Names/Model numbers

GE JGBP79AEW1AA Gas Range

JGBP79AEW1AA Schematic and Wiring Diagrams

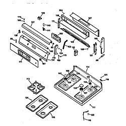
Gas burner Parts diagram
JGBP79AEW1AA Gas Range Gas burner Parts diagram
Cooktop Parts diagram
JGBP79AEW1AA Gas Range Cooktop Parts diagram
Body Parts diagram
JGBP79AEW1AA Gas Range Body Parts diagram
Door & drawer Parts diagram
JGBP79AEW1AA Gas Range Door & drawer Parts diagram

Recent Service Requests

CityProblem DescriptionResolution
Freeport, New YorkLoud beeping, F1 flashing and can not use the oven to bake or the broiler.Awaiting receipt of timer
Canyon Country, CaliforniaThe control panel in my GE XL44 Gas Range has gone bad. It started with intermittent beeping. Now I can no longer control the oven. I'm not positive about the part number but the model number is correct.Repaired
Morris, IllinoisNo display and control buttons don't work.Awaiting receipt of timer
Stockton, CaliforniaF1 IS FLASHING. GAS OVEN DOES NOT TURN ON DUE TO "F1" ERROR CODE.Timer inspected, no repairs necessary

Common problems for General Electric Gas Range JGBP79AEW1AA Timer Repair

Are you encountering a similar problem as them? Contact us now and we will try to help you fix your JGBP79AEW1AA timer-related problem.
just used self cleaning program, after two hours the control panels F2 and beeps
Hi, I have a G E Profile gas oven. We lost power due to Irene and when it came back on I smelled an electronics burning smell but couldn't pinpoint it. Well 2 days later I noticed the oven display is blank. The burners do ignite on oven top. Is this a bad ERC ? What can I due to confirm it ? Thanks, Dave
I recently purchased a home in Brentwood that had all the appliances. The gas range, however, is something I cannot figure out how to use. There is a button on the panel for oven and for broil, but I can't figure out how to set the temperature. Only number I found on the inside of the over door is 317B6034
I have a GE profile gas range the panel light display is off the gas burners work , but the oven does not . I think this is the modle #317B6034
GE Profile gas cook top model JGBP79AEW1AA s/n HS227908P. Spark ignition does not work on front left and works randomly on other three. Ignitors cleaned. Strong arcing on all burners with ignition of front right. I am unable to open/remove range top for inspection.
My GE Gas Oven, model # XXXXX displays "-F4-" when I try to bake or broil. I've disconnected and reconnected the electric plug and get the same indication. All 4 burners on range top work properly indicating a good gas supply.
on my gas oven, when oven is on, it will shut off and "door locked" message will appear. after pushing various buttons, the range will occassionally reset and start again, only to go off shortly. This does not happen every time i use the oven, but is happening more frequently. what could be causing this?
i spoke to a rep at partspros and also to a ge rep and was told that for my model the correct replacement part for the control erc is wb27k10008,but when i tried to hook it up there are the right amount of single wires but then there is this plastic rectangular piece that has 5 wires coming out of it which does not match up properly. this plastic piece has 7 holes with five wires coming out of it. on the replacement control erc the metal prongs that stick out (on to which this plastic piece is placed) are consecutive one after the other which would mean that the last 2 holes on the plastic piece are empty but on my pastic piece i have 3 wires a space and then another wire a space and then the last wire. can these wires be taken out in some way (they seem to be in securely) and can i move them to be one after the other?
My burners and broiler work fine as well as my self cleaning option but the oven will not heat. The glow plug comes on and the oven will get to 110 to115 degrees and that is it. Any ideas?