Whirlpool Free Standing - Electric GLSP84900 Timer Repair

What is the timer/clock part number for the Whirlpool GLSP84900 Free Standing - Electric?

Timer part number 9754260 for Whirlpool GLSP84900

The GLSP84900 Free Standing - Electric uses timer part number 9754260.

Do you have a failed Whirlpool GLSP84900 control panel? Click here:

Request Appliance Timer Service

We can repair or replace your faulty Whirlpool GLSP84900 timer.

GLSP84900 Schematic and Wiring Diagrams

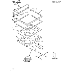
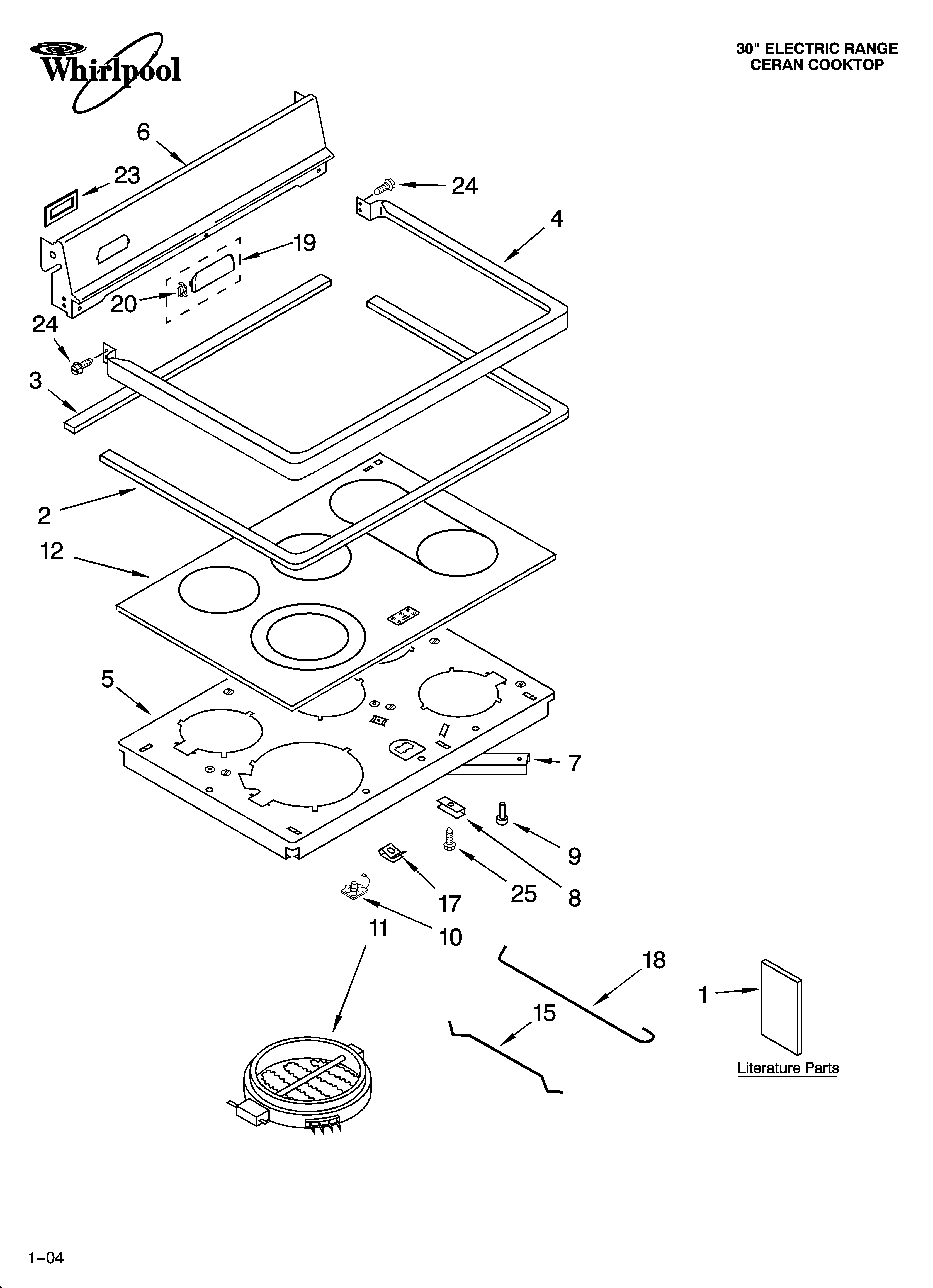
Cooktop Parts diagram
GLSP84900 Free Standing - Electric Cooktop Parts diagram
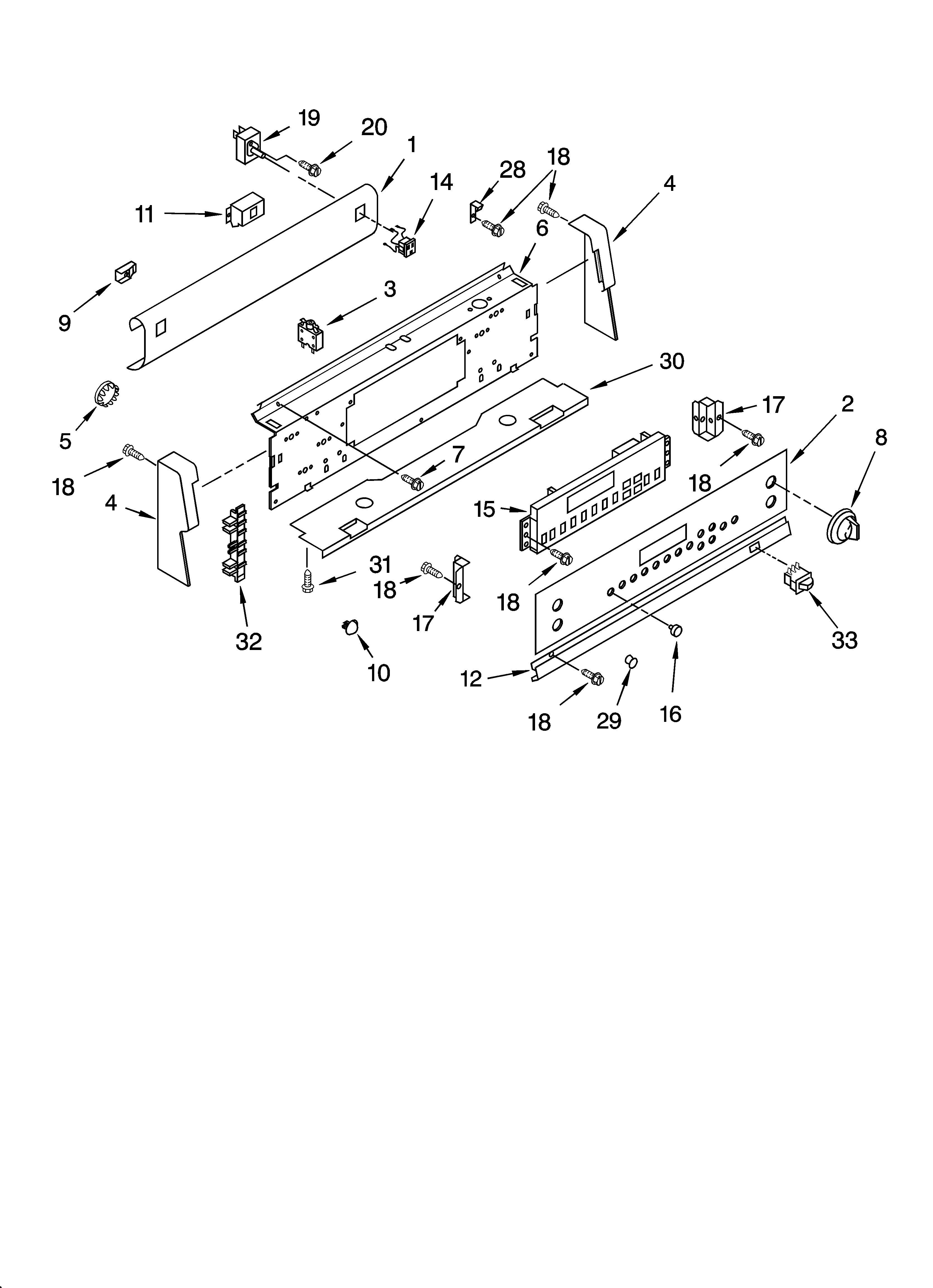
Control panel Parts diagram
GLSP84900 Free Standing - Electric Control panel Parts diagram
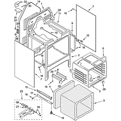
Door and drawer Parts diagram
GLSP84900 Free Standing - Electric Door and drawer Parts diagram
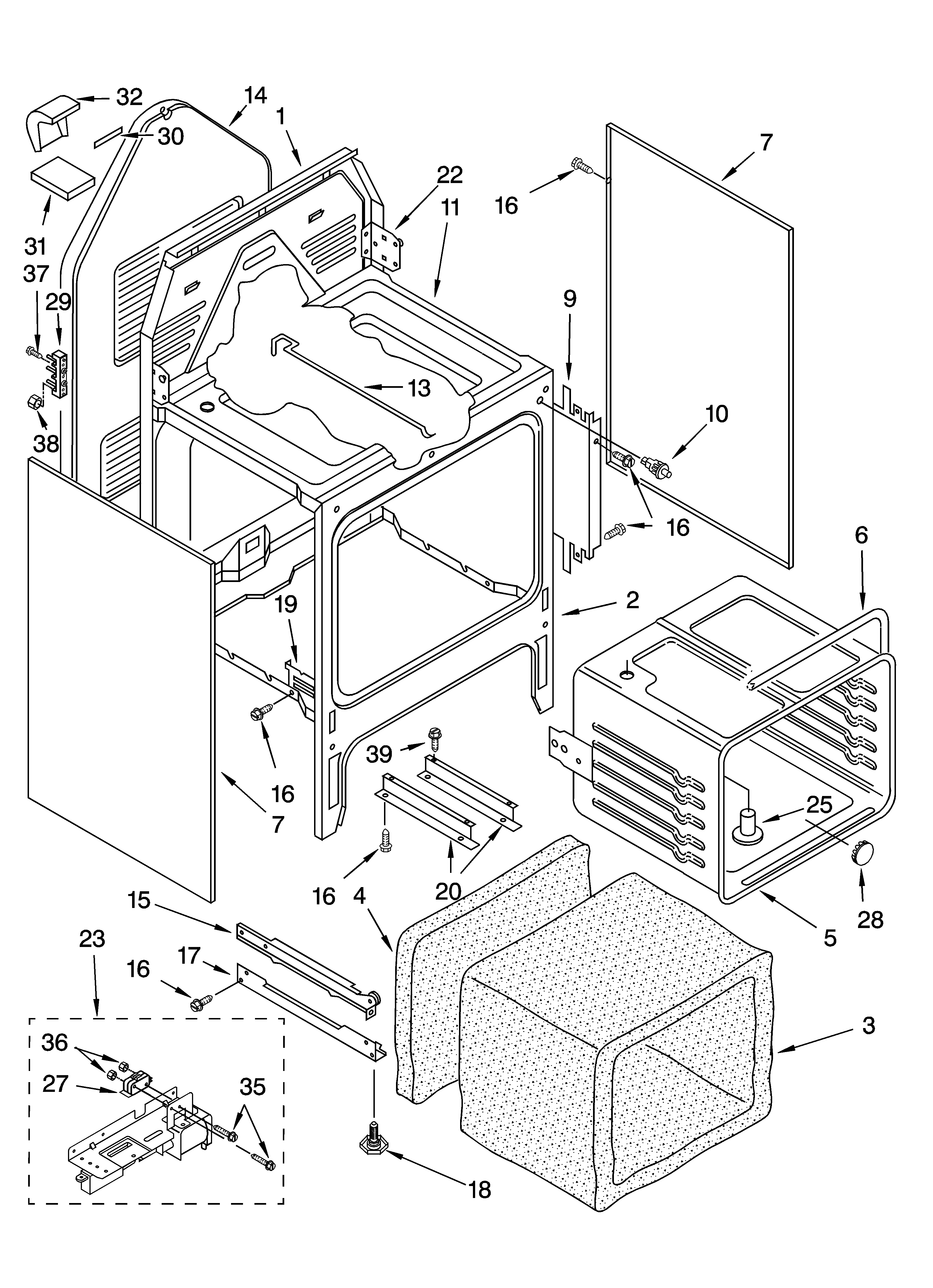
Oven chassis Parts diagram
GLSP84900 Free Standing - Electric Oven chassis Parts diagram
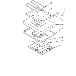
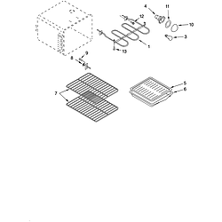
Oven Parts diagram
GLSP84900 Free Standing - Electric Oven Parts diagram
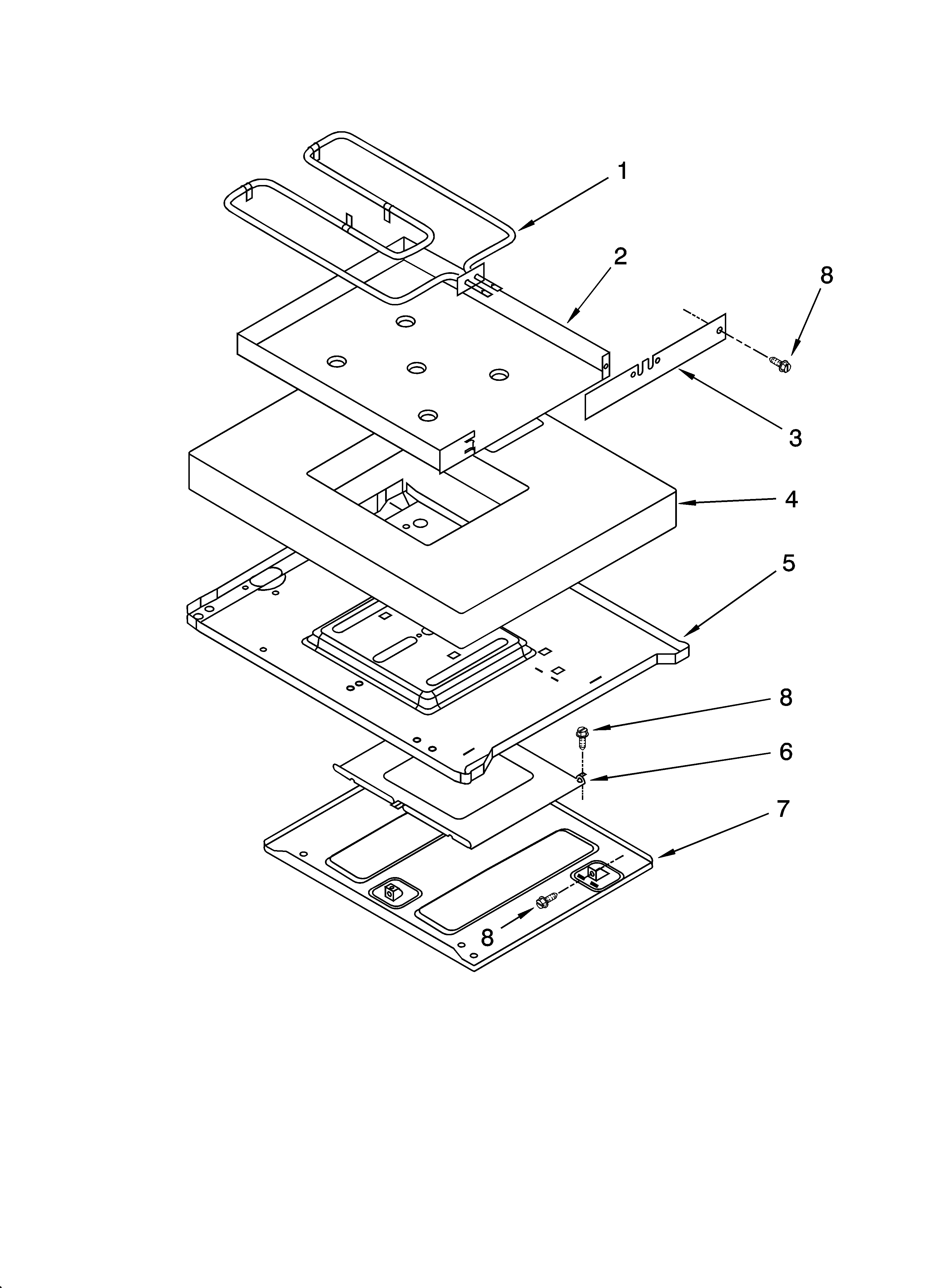
Hidden bake Parts diagram
GLSP84900 Free Standing - Electric Hidden bake Parts diagram

Recent Service Requests

CityProblem DescriptionResolution
Toronto, OntarioBake does not work. Broil works. I checked the sensor (1082 ohms at 72 deg F), replaced bake element - no joy. Then checked bake element resistance (24 ohms - old and new). Checked voltage to ground on the two disconnected (red) bake element wires when calling for heat - one wire 120V, the other wire open circuit (0V).Repaired
Toronto, OntarioWhen turn on bake display reads “Pre” and the temp I set - starts a 5 minute countdown (I don’t think it used to do this)

After 5 minutes there is no difference to heat, totally cold everywhere. I believe it still displays the set temperature.

When I turn to broil it just displays the temp I set and “Broil” (no timer).

Tried replacing temperature sensor, no difference. Tested broil element and it was fine.
Repaired
Chilliwack, British ColumbiaWe have had problems with the oven not heating enough. I have replaced bottom element and heat sensor. Now even on Broil at 500, the element will not keep heating. Oven thermometer shows no higher then 325, the ‘heat’ indicater only stays on briefly.Awaiting receipt of timer
Wabasca, AlbertaI have heat in the top element but no heat on the bottom element.
Assumed the element had failed and replaced it, old one was good.
No power going to lower element when tested.
Repaired
Komoka, OntarioOven will not heat on bake or broil. Elements and temperature probe have tested ok.Repaired
Hay River, Northwest TerritoriesOven bake element will not come on. Broil element does come on. Tested power and connection from control to bake element no power from oven controlReplaced with reconditioned timer
Hay River, Northwest Territoriesbake element will not come on broil element worksReplaced with reconditioned timer
Toronto, OntarioOven not workingRepaired
Toronto, OntarioOven not workingRepaired
Rockwood, OntarioThe keys for the up, and particularly down, oven temperature are becoming more and more temperamental and I believe it is most likely due to the keypad membrane being worn out. I believe this cannot be replaced on its own and I need to replace the entire microcontroller assemblyReplaced with reconditioned timer
Komoka, OntarioAfter a power outage, the E1F1 code appeared on the display.Repaired
Rockland, Ontariono heat from either stove elementReplaced with reconditioned timer
Laval, QuébecE1 F1Awaiting receipt of timer

Common problems for Whirlpool Free Standing - Electric GLSP84900 Timer Repair

Are you encountering a similar problem as them? Contact us now and we will try to help you fix your GLSP84900 timer-related problem.
Our freezer and fridge have quit getting cold. This is the third time I have unplugged and defrosted the freezer section. The freezer in back has totally iced up. Something must be wrong but what? We are in a rental and this is getting really old. The landlord doesnt care much and I'm not feeling like ponying up to fix their appliances. I guess a part might be worth it if it saves me from throwing out the food in the freezer every few weeks.
I have a Whirpool Gold Accubake oven, that I purchased about 6 years ago. Always worked great. Today I simply changed the lightbulb in the oven and the lightbulb blew along with the entire control panel. I thought it might be the breaker, so I turned it off for serveral minutes and it still does not work. I looked for fuses on the oven, and even phoned Whirpool customer support and they told me that my model does not have fuses. Is this possible? Any idea on what the problem might be?
After cleaning my oven, it will not unlock. There is a message: E1 F5. everything else seems o.k. How can I unlock it ?
how do i change the lower element on a whirlpool gold oven