Whirlpool Free Standing - Electric GJP85802 Timer Repair

GJP85802 Schematic and Wiring Diagrams

Cooktop Parts diagram
GJP85802 Free Standing - Electric Cooktop Parts diagram
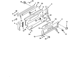
Control panel Parts diagram
GJP85802 Free Standing - Electric Control panel Parts diagram
Door and drawer Parts diagram
GJP85802 Free Standing - Electric Door and drawer Parts diagram
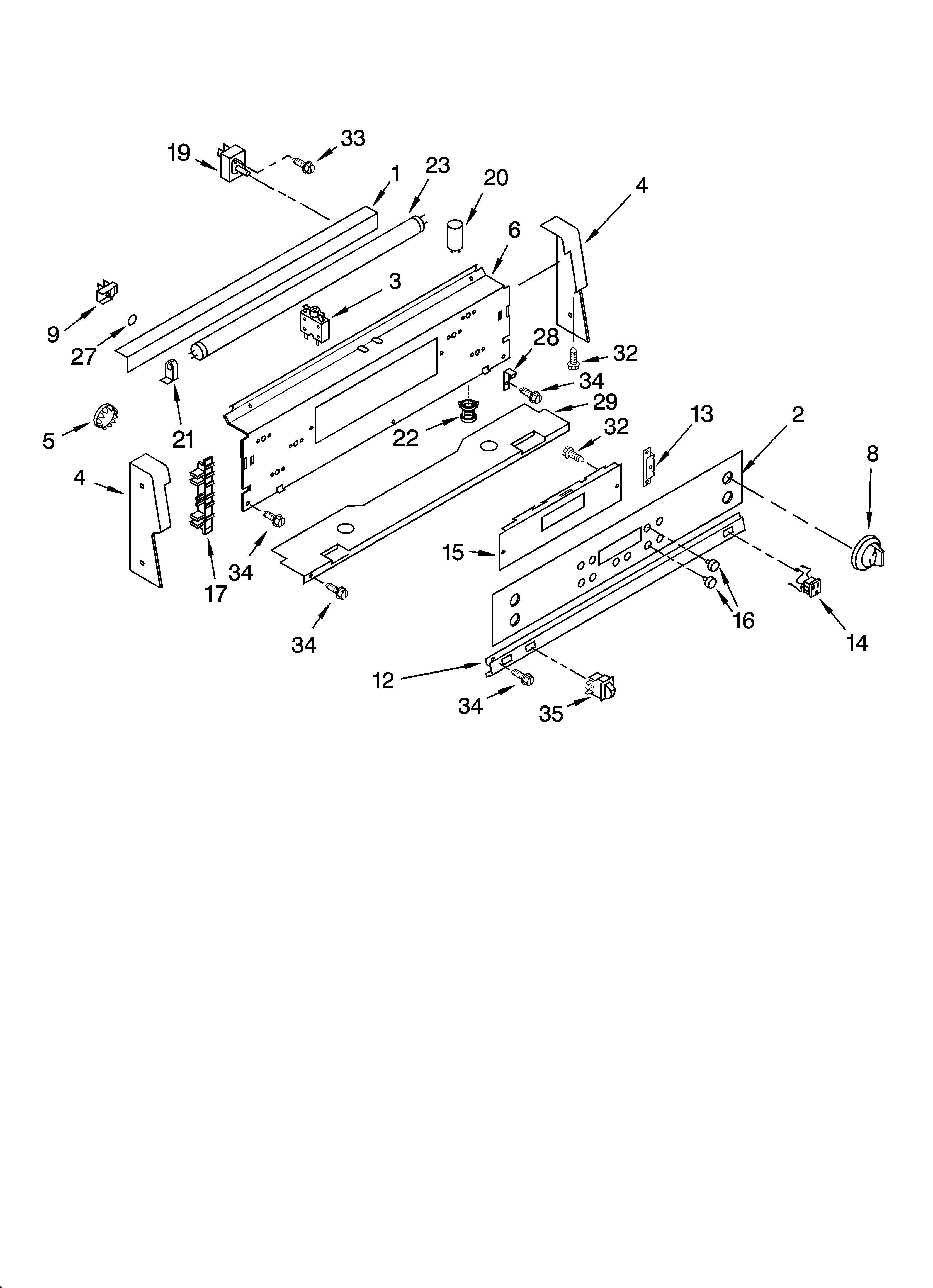
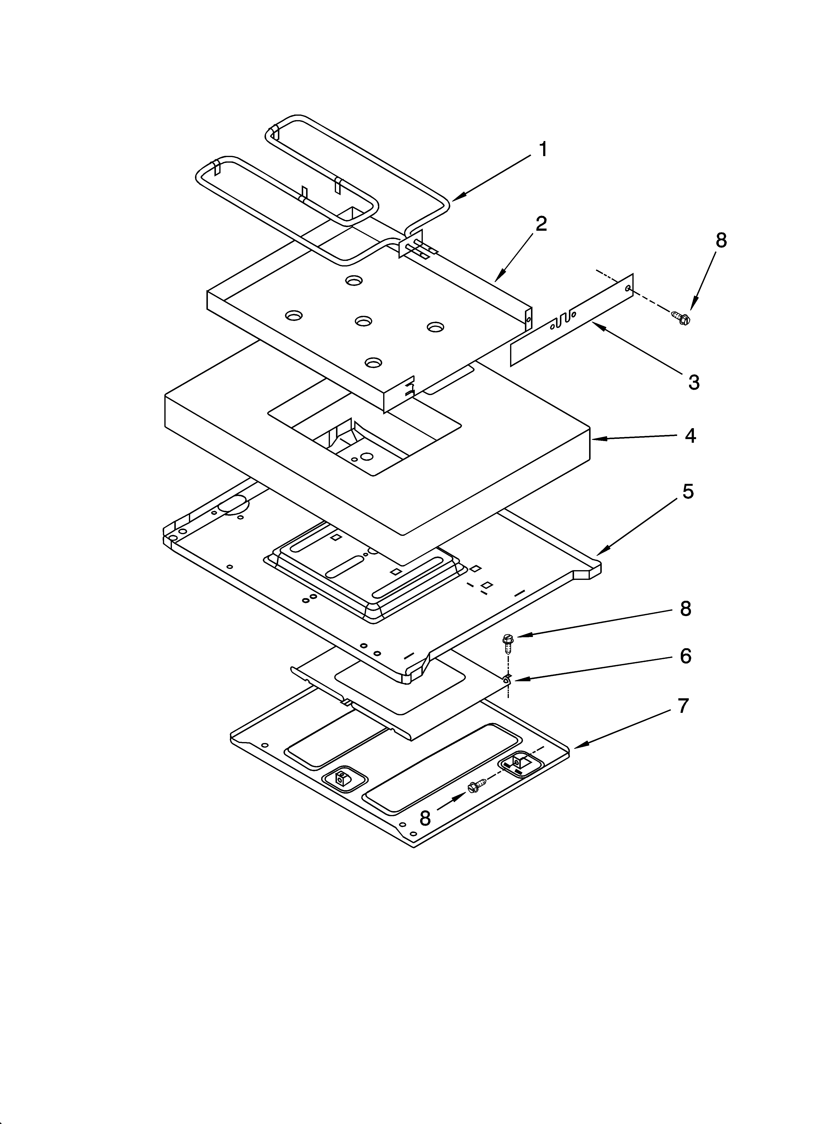
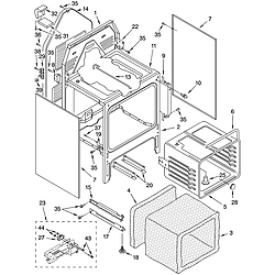
Oven chassis Parts diagram
GJP85802 Free Standing - Electric Oven chassis Parts diagram
Oven Parts diagram
GJP85802 Free Standing - Electric Oven Parts diagram
Hidden bake Parts diagram
GJP85802 Free Standing - Electric Hidden bake Parts diagram

Recent Service Requests

CityProblem DescriptionResolution
Keewatin, OntarioWarranty item, timer sent back to us does not turn the convection fan on when convection is selected. Confirmed by trying timer from my other identical stove that fan does work. issue appears to be with the timer itself.Beyond Repair
Saint-Hippolyte, QuebecAfter a power outage. My board display e1 f1Awaiting receipt of timer
Keewatin, OntarioTimer display does not show any values and comes up with error code E1-F1 after power outageRepaired
Fort Saskatchewan, AlbertaLower bake over element failed so replaced with a new one and it still doesn't workRepaired
Lorette West, ManitobaDon't see any failure codes . Clock display doesn't show. Bake element not working only getting power on 1 wire .Repaired
Medicine Hat, AlbertaThe Lower Element burned out and I replaced it with a New Genuine Whirlpool One but it Does Not Heat Up Enough to
Cook anything.
Repaired
Saint-Lazare, Quebecburned relay
if you don't have a refurbished, is it possible to buy relay from you?
Awaiting receipt of timer
Mirabel, QuebecE1 F1 error code posted fowling power loss.Repaired
Ottawa, OntarioAfter a series of brief power outages, the oven/clock display flashed the error code "E1 - F1". I tried unplugging it, but it returns to that error code when I plug it back in, or after I press cancel. No oven functions work.Repaired
Windsor, OntarioOven won't heat. Have power to the oven but not to the heating elements.Replaced with reconditioned timer
Bowen island, British ColumbiaConvection element not lighting. Convection relay possibly failed on board? Tested continuity on element - it is ok.Repaired
Winnipeg, ManitobaDiagnosed by an appliance repair personReplaced with reconditioned timer
Winnipeg, ManitobaThe timer was diagnosed as the problem by an appliance repair person.Replaced with reconditioned timer
Saint John, New BrunswickClock will not reset and I just bought this reconditioned timer from you in January of 2013Awaiting receipt of timer
vegreville, AlbertaAs per our telecon last week, the display is intermittent, but all controls work perfectly. I just have to tap on the display periodically to have it come on. Sometimes it will stay on for days or even weeks, but other times it will go off within minutes.Replaced with reconditioned timer
Saint John, New BrunswickHave changed oven sensor now its time to change the printed curcuit board.Replaced with reconditioned timer
Red Deer, AlbertaBAKE ELEMENTS NOT RECEIVING POWER FROM TIMER BOARD. BROIL AND CONVECTION CYCLE WORK NORMAL. ALL OTHER FUNCTIONS ARE OKReplaced with reconditioned timer
Georgetown, OntarioAfter power failure over non functional and error code E1 F1 on display. Stove top worksReplaced with reconditioned timer
Toronto, OntarioOven will not get up to set temperature - all bake elements, thermostats etc checked out fine. Appliance technician diagnosed malfunctioning timer board.

Sample problem:
Oven set for 400 degrees. Will begin to heat, but will cut out at 150, will not restart until it falls below 140, turns elements on/off randomly but never long enough to achieve set point. Replaced thermostat to no effect.
Repaired
West Brome, QuébecStovetop burners work, but oven does not.Replaced with reconditioned timer

Common problems for Whirlpool Free Standing - Electric GJP85802 Timer Repair

Are you encountering a similar problem as them? Contact us now and we will try to help you fix your GJP85802 timer-related problem.
I own Whirlpool Gold oven Model GJP85802 SER.# XXXXX after power failure the electronic display is showing " E1-F1-" and controls don't work . The top plates are working but the oven is not and the control panel is blinking "E1-F1-" . Please help is there any like "code" to reset the oven ? Thank you for your help . Elisabeth
I have a whirlpool oven Model #GJP85802. Oven lights burned out. I replaced the right side(facing oven) and the light worked fine. When I replaced the left bulb, the base of the bulb stayed in the outlet and I heard a pop sound. I removed the bulb base and then when I turned the oven light back on neither bulb will light up. I wondered if there was a breaker that flipped on the oven itself. Every other function of the oven is working fine. is there a reset or am I looking at rewiring the lights.
Whirlpool Gold oven Oven light switch fails to switch off. Please supply circuit diagram to locate fault in printed circuit.
I was using my convection oven which love, model#GJP85802 serial #IMMO322102, and I must have pressed the wrong button because the controls read loc with a picture of a padlock underneath it. IT won't let me turn the oven back on, how do I rectify the situation. IT's thje Jewish new year, and I can't be without an oven
How Do I Change The Bottom Element
A few years ago I bought a Whirlpool Gold Accubake System range. The handle on the oven door has come loose. I contacted the only repair man in my town a few months ago and I am still waitng for him to come and fix this problem. Will you please guide me through the process of fixing it so I can do it myself, as I feel it is becoming a safety issue. Thankyou for your help Ina
Does my oven have a disconnect plug? I am replacing the element in my smooth top oven and can't determine if there is a disconnect plug for the surface element wiring harness. I am following your instructions from a Feb 11 post. I have a Whilrpool GJP85802 oven. Please help!