Amana Slide-In Electric Range ARTS6651 Timer Repair

What is the timer/clock part number for the Amana ARTS6651 Slide-In Electric Range?

Timer part number Y0315570 for Amana ARTS6651

The ARTS6651 Slide-In Electric Range uses timer part number Y0315570.

Do you have a failed Amana ARTS6651 control panel? Click here:

Request Appliance Timer Service

We can repair or replace your faulty Amana ARTS6651 timer.

ARTS6651 are also sometimes referred to using these Alternative Names/Model numbers

Whirlpool ARTS6651 Slide-In Electric Range, ARTS6651E-P1143903NE, ARTS6651CC-P1143903NCC, ARTS6651WW-P1143903NWW

ARTS6651 Schematic and Wiring Diagrams

Cabinet Parts diagram
ARTS6651 Slide-In Electric Range Cabinet Parts diagram
Cavity Parts diagram
ARTS6651 Slide-In Electric Range Cavity Parts diagram
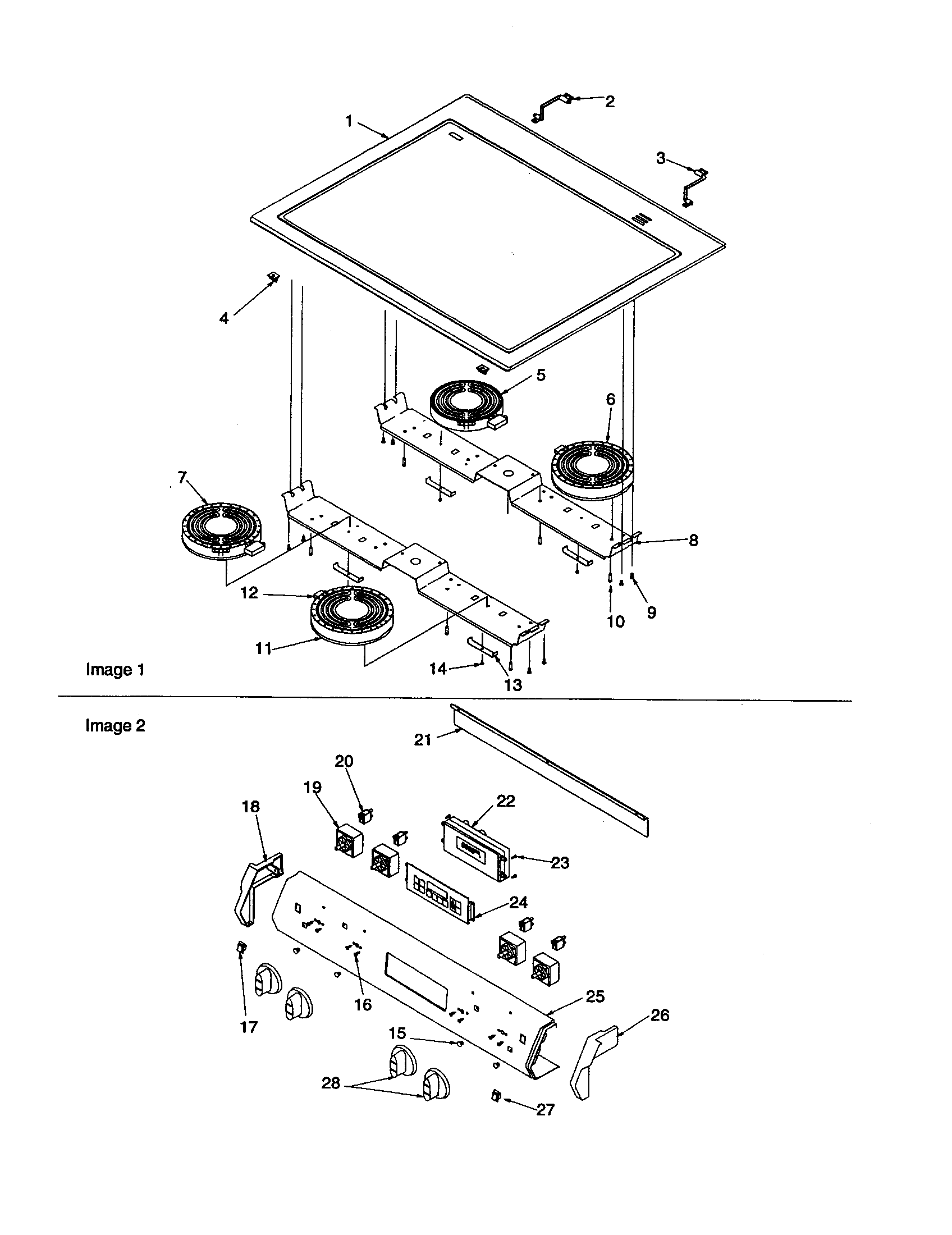
Main top and backguard Parts diagram
ARTS6651 Slide-In Electric Range Main top and backguard Parts diagram
Oven door and storage drawer Parts diagram
ARTS6651 Slide-In Electric Range Oven door and storage drawer Parts diagram

Recent Service Requests

CityProblem DescriptionResolution
New Orleans, LouisianaThe timer shuts down oven.Awaiting receipt of timer
Hastings, NebraskaThe timer itself is fine--it's the face plate that broke through that holds the timer to the front of the Amana stoveAwaiting receipt of timer
EASTHAMPTON, MassachusettsTHE OVEN GOES UP TO TEMP BEEPS COOKS THEN AT SOME POINT SHUTS OFF TIME BLINKS. AT THIS POINT YOU CAN RESET AGAIN AND IT REPEATS THE TIME IT ACTUALLY COOKS VARIES. IF YOU CAN NOT FIX THIS ONE CAN YOU SEND ME A RECONDITIONED ONE?Repaired
Fond du Lac, WisconsinNo readout. Oven doesnt workAwaiting receipt of timer
MAPLE GROVE, MinnesotaOVEN WILL NOT HEAT PAST 160.

If you do not have a new timer, will take a reconditioned timer if it comes with a warranty.
Awaiting receipt of timer
Hamilton, MichiganThe clock flashes all of the time. The controller shuts the oven off randomly while in use.Awaiting receipt of timer
Greeley,, Coloradonothing on display and both oven burners stay on full they don't cut back.Beyond Repair
Evans, GeorgiaThere is no oven power, no failure code on display. All breakers and fuses have been checked.Repaired
tampa, Floridatop of stove work but oven does not was strucr by lightlingAwaiting receipt of timer
tampa, Floridatop of stove work but oven does not was strucr by lightlingBeyond Repair

Common problems for Amana Slide-In Electric Range ARTS6651 Timer Repair

Are you encountering a similar problem as them? Contact us now and we will try to help you fix your ARTS6651 timer-related problem.
I have a signed, numbered, limited edition art print that came with a certificate of authenticity. I want to donate it to a local charity for auction. How do I transfer the certificate what has my name on it?Thanks
Are IRA distributions to an individual protected from judgement under Nevada state law?
I have an print by W. T. Dannat, which I assume, from the depth of the impression and density of the ink, is an etching. It is the same image of a young Spaniard drinking wine that appears in the Mariani Album (?), but more finely drawn, with a background, and an earthenware jare instead of a bottle. There is a signature and date (1883) also printed, and a signature in pencil in the bottom right hand corner "Xavier La Sueur". P. S. The image I sent is not of the etching, but of the page from the album, showing the identical figure, apart from the differences I mentioned. Thanks
Gentlemen: We have a 8 year old amana model ARTS6651CC. We have had problems ever since we owned this oven. The time pad blinks, then stops. We push bake, set time. The oven stays on for a couple minutes then goes off. We push bake again and the pad goes completly blank. We cannot get anything no matter what we push, screen stays blank. If we let set, sometimes an hour or more the screen lights up. We then push bake, sometimes oven works. If we let set again and go back later and hit bake, everything works. Once oven hits correct temp we have no problem tii we shut off oven. This is really wearing on my wif's nerves. Can you help. Thanking you in advance, Fred
i lost my password XXXXX using assigned one..am writing about frequent urination problem..had knee surgery in March Dr. now recommends hip surgery in January..I am leary..I am takinG BENICAR,,,LEVOTHYROXINE...WARFARIN...DIGOXIN...METROPOL,,,ACIPHEX...TYLENOL...HYDROXONE...CALTRATE...AND THANKS AGAIN...LIANA FIGONE
I have an Amana arts6651ww smooth top oven. The oven portion does not heat up correctly and then will not cool down or shut off when the button is pushed to shut it off. I know I need a new heating element, but what would cause the oven to not shut off ?
I have an Amana Electric Smoothtop oven Model ARTS6651WW and the oven does not work. I have reset the breaker and still no power. There is no lights on the display.
I have an arts6651 oven and the glass on the top has cracked. I can find the glass top but how do I take off the old broken one and replace it with the new one? I noticed that according to a parts guide that is has four clips one on each corner but also it appears to have eight (8) screws holding it down besides the clips. How do I get at them to replace the top? Thank you for your time and patience Customer