Amana Slide-In Range ARTS6650LL Timer Repair

What is the timer/clock part number for the Amana ARTS6650LL Slide-In Range?

Timer part number 315570 for Amana ARTS6650LL

The ARTS6650LL Slide-In Range uses timer part number 315570.

Do you have a failed Amana ARTS6650LL control panel? Click here:

Request Appliance Timer Service

We can repair or replace your faulty Amana ARTS6650LL timer.

ARTS6650LL are also sometimes referred to using these Alternative Names/Model numbers

Whirlpool ARTS6650LL Slide-In Range, ARTS6650WW/P1130698NWW, ARTS6650LL/P1130678NLL, ARTS6650WW/P1130683NWW, ARTS6650E/P1130683NE, ARTS6650WW/P1130667NWW, ARTS6650LL/P1130698NLL, ARTS6650WW/P1130678NWW, ARTS6650WW/P1143483NWW, ARTS6650E/P1130659NE, ARTS6650E/P1130678NE, ARTS6650LL/P1143483NLL, ARTS6650WW/P1130687NWW, ARTS6650E/P1143483NE, ARTS6650E/P1130667NE, ARTS6650LL/P1143906NLL, ARTS6650E/P1130687NE, ARTS6650WW/P1130659NWW, ARTS6650LL/P1130659NLL, ARTS6650WW/P1143906NWW, ARTS6650WW/P1130649NWW, ARTS6650E/P1130649NE, ARTS6650LL/P1130649NLL, ARTS6650LL/P1130683NLL, ARTS6650E/P1143906NE, ARTS6650LL/P1130687NLL, ARTS6650E/P1130698NE, ARTS6650LL/P1130667NLL

ARTS6650LL Schematic and Wiring Diagrams

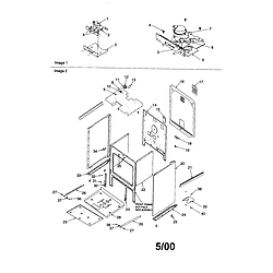
Cabinet Parts diagram
ARTS6650LL Slide-In Range Cabinet Parts diagram
Cavity Parts diagram
ARTS6650LL Slide-In Range Cavity Parts diagram
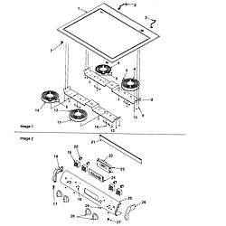
Main top and backguard Parts diagram
ARTS6650LL Slide-In Range Main top and backguard Parts diagram
Oven door and storage drawer Parts diagram
ARTS6650LL Slide-In Range Oven door and storage drawer Parts diagram

Recent Service Requests

CityProblem DescriptionResolution
Sioux Falls, South DakotaTimer dead. A tag on the timer has the following numbers:
31-315570-07-0
160-986-00
585/920-F96347248
Serial number of range is: 9610188415 Mfg: P1130649NLL
Repaired
North Haledon, New Jerseyneed replacementAwaiting receipt of timer
North Haledon, New JerseyOven off button brokenAwaiting receipt of timer
Allegany, New YorkI need a new or reconditioned timer.Awaiting receipt of timer
ogden, UtahThe range top works fine, but the timer, oven , bake clean control doesn't even turn onAwaiting receipt of timer

Common problems for Amana Slide-In Range ARTS6650LL Timer Repair

Are you encountering a similar problem as them? Contact us now and we will try to help you fix your ARTS6650LL timer-related problem.
Questions 1 to 20: Select the best answer to each question. 1. Which one of the following sentences contains an unnecessary word? A. Why don't you leave before the crowd arrives? B. The snake raised up its head and struck. C. She left early, though he told her not to. D. Rich was angry, but he concealed his feelings. 2. Choose the connective that belongs in the blank. She left the party early. Next she went to a movie. _______ she went home. A. Next B. Meanwhile C. Finally D. First 3. Which of the following topics would lend itself only to a formal style of writing? A. Folk Songs I Have Sung B. Psychological Effects of Nuclear Weapons C. How I Lost 10 Pounds D. Why Living in the Country Is Better Than Living in the City 4. Choose the connective that belongs in the blank in the following sentence. I like to play baseball. _______, I can't throw a ball very well. A. However B. In fact C. For instance D. Besides 5. Which of the following sentences has a compound predicate? A. She raced al
I am studying for a test. Here is my problem. Trisha, whose tax rate is 35%, sells the following capital assets in 2007 with gains and losses as shown: Asset A $15,000 with a holding period of 15 months, Asset B $7,000 with a holding period of 20 months, and asset C ($3,000) with a holding period of 14 months. Determine Trisha's increase in tax liability as a result of the three sales. All assets are stock held for investment. Ignore the effect of increasing AGI on deductions and phase out amounts. If you can provide the write answer with a good explanation I will accept your answer.
I recently purchased a lakeside upright grand piano. The serial number is XXXXX I would like to know how old it is. Thank you.