|
|||||||||||||||||||||||||||||||||||||||||||||||||||||||||||||||
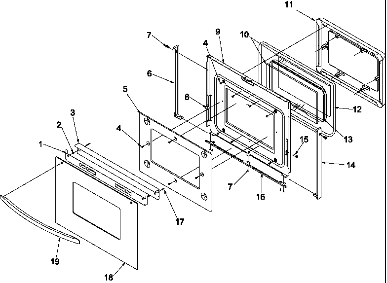
Amana Slide-In Electric Range ARTS6650 Timer RepairWhat is the timer/clock part number for the Amana ARTS6650 Slide-In Electric Range?![]() The ARTS6650 Slide-In Electric Range uses timer part number Y0315570. Do you have a failed Amana ARTS6650 control panel? Click here: We can repair or replace your faulty Amana ARTS6650 timer. ARTS6650 are also sometimes referred to using these Alternative Names/Model numbersWhirlpool ARTS6650 Slide-In Electric Range, ARTS6650WW/P1143483NWW, ARTS6650E/P1130659NE, ARTS6650E/P1130678NE, ARTS6650E/P1130667NE, ARTS6650LL/P1143483NLL, ARTS6650WW/P1130687NWW, ARTS6650E/P1143483NE, ARTS6650LL/P1143906NLL, ARTS6650E/P1130687NE, ARTS6650WW/P1130659NWW, ARTS6650LL/P1130659NLL, ARTS6650WW/P1143906NWW, ARTS6650WW/P1130649NWW, ARTS6650E/P1143906NE, ARTS6650E/P1130649NE, ARTS6650LL/P1130649NLL, ARTS6650LL/P1130683NLL, ARTS6650LL/P1130687NLL, ARTS6650E/P1130698NE, ARTS6650LL/P1130667NLL, ARTS6650WW/P1130683NWW, ARTS6650WW/P1130698NWW, ARTS6650LL/P1130678NLL, ARTS6650WW/P1130678NWW, ARTS6650E/P1130683NE, ARTS6650WW/P1130667NWW, ARTS6650LL/P1130698NLL ARTS6650 Schematic and Wiring DiagramsRecent Service Requests
Common problems for Amana Slide-In Electric Range ARTS6650 Timer RepairAre you encountering a similar problem as them? Contact us now and we will try to help you fix your ARTS6650 timer-related problem. Type your question here PartSelect User: Hello, I am looking for part #316360B or a generic that will work model#ARTS6650E serial#9906261006 mfg#P1130698N E this is an Amana oven produced by Whirlpool we also thought it could have been part #0315570 or#315570 we will also need part #315851B this part seems to still be available thought I would give this to you as a cross ref # XXXXX (Brian)1-XXX-XXX-XXXX or 1-XXX-XXX-XXXX XXXXX@XXXXXX.XXX also what else could be wrong I smelled a burning smell and seemed to be coming from this control panel a few days ago I replaced the oven heat element and everything worked Now none of the controls work for the oven/clock....thanks again Questions 1 to 20: Select the best answer to each question. 1. Which one of the following sentences contains an unnecessary word? A. Why don't you leave before the crowd arrives? B. The snake raised up its head and struck. C. She left early, though he told her not to. D. Rich was angry, but he concealed his feelings. 2. Choose the connective that belongs in the blank. She left the party early. Next she went to a movie. _______ she went home. A. Next B. Meanwhile C. Finally D. First 3. Which of the following topics would lend itself only to a formal style of writing? A. Folk Songs I Have Sung B. Psychological Effects of Nuclear Weapons C. How I Lost 10 Pounds D. Why Living in the Country Is Better Than Living in the City 4. Choose the connective that belongs in the blank in the following sentence. I like to play baseball. _______, I can't throw a ball very well. A. However B. In fact C. For instance D. Besides 5. Which of the following sentences has a compound predicate? A. She raced al I am studying for a test. Here is my problem. Trisha, whose tax rate is 35%, sells the following capital assets in 2007 with gains and losses as shown: Asset A $15,000 with a holding period of 15 months, Asset B $7,000 with a holding period of 20 months, and asset C ($3,000) with a holding period of 14 months. Determine Trisha's increase in tax liability as a result of the three sales. All assets are stock held for investment. Ignore the effect of increasing AGI on deductions and phase out amounts. If you can provide the write answer with a good explanation I will accept your answer. I recently purchased a lakeside upright grand piano. The serial number is XXXXX I would like to know how old it is. Thank you. We recently purchased a house with an Amana oven included. It is an electric smooth top with a Dual Radiant Element on the front right side. Only the small element works (no matter which way the switch is pushed). The model number is XXXXX ARRS6550 or ARTS6650. How is this repaired and is it worth the expence to have someone do it? I have an Amana self-cleaning slide-in electric oven model # XXXXX and ARTS6650. I turned the oven on to 425 degrees and worked for approx 45 min. then shut down completely. The cook top is working, the oven light works however, the oven panel with the clock and push button controls does not work and the oven will not go on. Please Help! our Amana oven is stuck in the "lock" mode of a cleaning cycle that was started in error. -F9_ flashes and it continually beeps. I'm not sure the model number it is a flat cook top with "Euro Kera" on it. Touchpad oven controls and dials for the burn on the front as well The "lock" light flashes continuously, then it starts beeping and then the F9 message flashes. The oven will not turn on. This is on out Amana ARTS6650 oven. What can we do? Amana ARTS6650 oven - oven shuts off at various times while baking. Also sometines get F2 error code, even when oven NOT being used. Following apparent power surge (clocks were blinking) screen reads "OFF" and oven doesn't work. clock is on but none of the controls work. oven is fine. ERC? Jack First I was getting the F1 code and the oven functions would shut off, sometimes after heating up to 350. Then none of the oven touch buttons responded at all when touched. I removed the ERC, and then replaced it after a couple days (hoping for a miracle) and all the oven buttons were responding, but oven shuts off a few seconds after be turned on. (It's a convection model.) |
|||||||||||||||||||||||||||||||||||||||||||||||||||||||||||||||
|
|||||||||||||||||||||||||||||||||||||||||||||||||||||||||||||||