Amana Gas Range ARG7600 Timer Repair

What is the timer/clock part number for the Amana ARG7600 Gas Range?

Timer part number 31315569070 for Amana ARG7600

The ARG7600 Gas Range uses timer part number 31315569070.

Do you have a failed Amana ARG7600 control panel? Click here:

Request Appliance Timer Service

We can repair or replace your faulty Amana ARG7600 timer.

ARG7600 are also sometimes referred to using these Alternative Names/Model numbers

Whirlpool ARG7600 Gas Range, ARG7600W-P1141298NW, ARG7600WW-P1143387NWW, ARG7600LL-P1143387NLL, ARG7600WW-P1143339NWW, ARG7600LL-P1143364NLL, ARG7600W-P1143321NW, ARG7600LL-P1143332NLL, ARG7600L-P1141298NL, ARG7600LL-P1143354NLL, ARG7600LL-P1143339NLL, ARG7600WW-P1143364NWW, ARG7600WW-P1143384NWW, ARG7600L-P1143321NL, ARG7600WW-P1143345NWW, ARG7600L-P1143332NL, ARG7600WW-P1143354NWW, ARG7600WW-P1141298NWW, ARG7600CC-P1143387NCC, ARG7600LL-P1143384NLL, ARG7600W-P1143332NW, ARG7600LL-P1143345NLL, ARG7600WW-P1143332NWW, ARG7600LL-P1141298NLL

ARG7600 Schematic and Wiring Diagrams

Cabinet Parts diagram
ARG7600 Gas Range Cabinet Parts diagram
Cavity Parts diagram
ARG7600 Gas Range Cavity Parts diagram
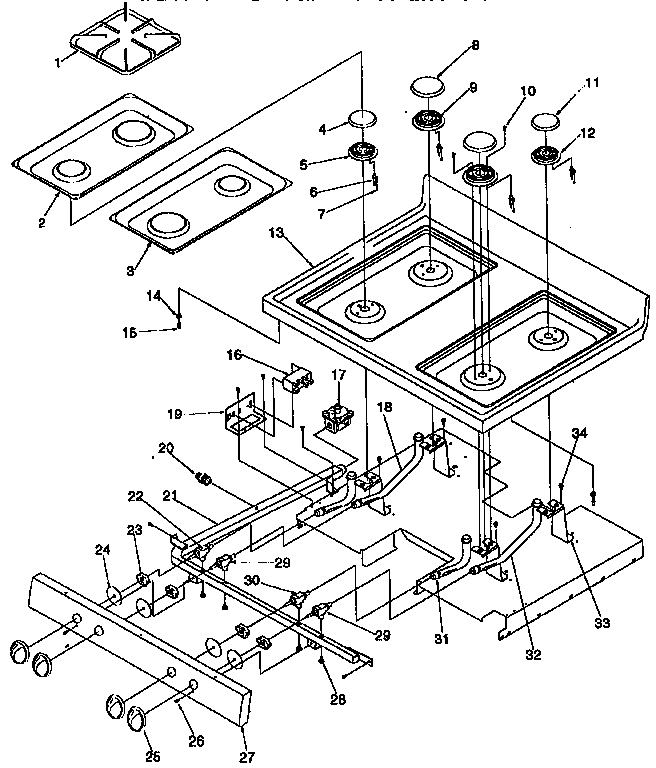
Main top Parts diagram
ARG7600 Gas Range Main top Parts diagram
Backguard Parts diagram
ARG7600 Gas Range Backguard Parts diagram
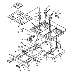
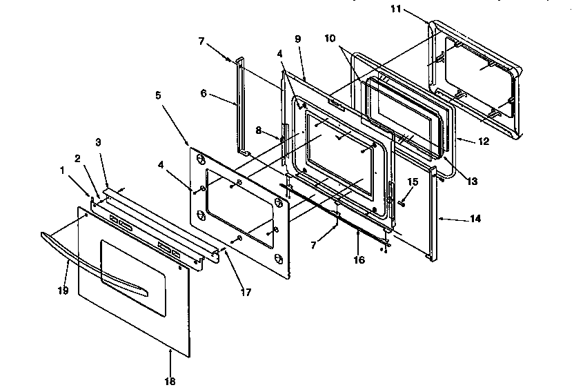
Oven door Parts diagram
ARG7600 Gas Range Oven door Parts diagram
Storage door Parts diagram
ARG7600 Gas Range Storage door Parts diagram
Gas supply Parts diagram
ARG7600 Gas Range Gas supply Parts diagram

Recent Service Requests

CityProblem DescriptionResolution
Winnipeg, ManitobaOven does not maintain temperature. Sometimes 60F too low, sometimes 60F too high. Replaced temperature sensor and saw no improvement.Repaired
Yellville, Arkansasoven makes a puffing sound when lighting every time all through the baking cycleAwaiting receipt of timer
Philadelphia, PennsylvaniaElectronic oven panel just went out. No longer shows time or failure codeAwaiting receipt of timer
KOMOKA, OntarioUNIT GOES DEAD AFTER POWER GOES OUT AND YOU MUST UPLUG THE UNIT SEVRAL TIMES TO GET IT TO RESTARTAwaiting receipt of timer
Hudson, WisconsinNeed a new control panel/timerAwaiting receipt of timer
Reno, NevadaCan't turn oven on and touch pad doesn't respond. Stove top burners work.Awaiting receipt of timer
Jackson, MichiganDOESN'T LIGHT UP AT ALL OR DO ANYTHING ELSERepaired
Hudson, WisconsinDisplay is blank. Oven controls do not function.Repaired
Oshkosh, WisconsinNo readout at all, completely black.Awaiting receipt of timer
Laona, WisconsinPower to board, No display and Cannot ProgramRepaired
East Hanover, New JerseyTimer went blank...tried circuit breakers...would not turn back on.Repaired
BAY CITY, MichiganDOES NOT WORKRepaired
Mukwonago, Wisconsinjust stopped workingAwaiting receipt of timer
Johns Island, South CarolinaUnit just buzzes. Will not light the oven of broilerRepaired
Cottage Grove, MinnesotaOven light works but the timer does not display anythingRepaired
Grahamsville, New Yorkoven does not work, no lights on timerRepaired
New Lenox, IllinoisStove won't turn on. I replaced the two ignitors, the stove top burners work fine, but the oven won't start for broil or for bake.Awaiting receipt of timer
Hartland, WisconsinTimer is blank. Ordered another off ebay that was supposed to be working, that one doesn't power up either. I'm shipping the second which you can keep for a $20.00 discount off service of the first.Repaired
Anchorage, AlaskaOven control board diedAwaiting receipt of timer
Lowell, MassachusettsFirst the broiler stopped working and then three days later everything stopped working.Repaired

Common problems for Amana Gas Range ARG7600 Timer Repair

Are you encountering a similar problem as them? Contact us now and we will try to help you fix your ARG7600 timer-related problem.
Amana Oven ARG7600WW ( 11 ys old). Oven and broiler will not heat. Ignitors will not glow. No gas smell. rangetop burners work fine. Bake Ignitor replaced about 2 ys ago. Could both have failed at same time. Is there a circuit board component that may be linked to both ignitors? Are there test points I can look at?
I have an ARG7600WW (Amana Self-Cleaning gas oven). I am trying to use the self-cleaning feature, however, when I select the self-clean option, the screen reads "door" and beeps, and then it reads "F9", and subsequently will not clean. Any thoughts??? Thank you.
I have an Amana 1999 Model ARG7600WW, When the oven is on and we go to open the door we smell gas (natural gas). Can you tell me if this is a problem that needs too be taken care of and if so what is my problem, part needed to repair it and can I do this.
I have an Amana gas oven model#ARG7600WW. The 4 burners work as does the broiler but it will not bake. The heat element glows up but the gas does not release. The rerason I know that is because after the element got hot I tried lighting the burner with a lighter and i got nothing. Does my model have 2 gas valves?
amana gas oven arg7600LL. electrical storm. breaker tripped. reset breaker. oven ignitor did not glow so i replaced it. still will not heat up. the other possibilities are more expensive. so rather than buy more parts I wanted to ask an expert
I have a 1993 Amana gas oven. It is no longer receiving power - display and control board are no longer getting power. Gas works fine and oven can be lit manually, but no electricity is getting through. The outlet in the wall has power (120v), but we can't seem to find what might need replacement. The wall power cord goes into the lower corner in back of the range but is not hard-wired in--it's a male/female plug unit. Digital display is black, oven light does not come on. Periodically while moving the wires in the back of the range around, we'd get momentary power, and then nada. We'd try exactly the same movement the next time and nothing. Suggestions? Judy
I HAVE A AMANA range, MODEL ARG7600LL, SERIAL XXXXXXXXXX MFG P1143318NLL. THE range QUIT LIGHTING, I REPLACED THE GAS VALVE, WORKED TWO OR THREE TIMES AND QUIT LIGHTING. THE IGNITER GLOWS BUT NO GAS VALVE OPENING. I ORDERED A NEW IGNITOR BUT I STILL AM NOT SURE IT WILL REPAIR PROBLEM, HELP.
amana model arg7600ll. lightning tripped house breaker. reset. igniter would not light. replaced. still would not glow. asked expert. was told to check valve. checked valve. 1.7ohms. no voltage to ignitor or valve. think it is the clock/circuit board but want experts opinion before I spend the bucks.
I own an Amana Gas oven Mod ARG7600, about 10 years old.... Our problem: When oven is turned on, although everything looks to be OK, (EG Igniter lights) the gas valve may open and oven heats up normally, other times gas valve may not open and oven heats up for maybe 1/2 Hour, yet other times gas valve doesn't seem to open or temperature barely climbs above 200 degrees...... A local serviceman says a new gas valve costs about $150.00 installed, but may not fix the problem..... What sugestions do you have..... By the way the Broiler works perfectly as do all of the burners.
I have an Amana Gas oven. Model number either ARG7600 OR ARG7800. Its about 12 years old. It takes over 15 minutes for the temperature to go above 100 degrees when we are using the oven and we have the temp at 400 degrees.
I have an Amana oven, model ARG7600. This evening while we had the oven on, we heard a couple of clanking noises, then the display went out and began buzzing loudly. We turned off the circuit breaker and when we turned it back on, the buzzing had stopped but the display is beeping and displaying -- F5 -- repeatedly. Can you help with what this error code means?
I have an amana gas oven (model ARG7600). The oven won't heat up. The igniters glow, but it seems the gas is not comming through the burner? The range top burners are working fine. Anu suggestions? Thank You, John
I have a gas Amana oven, either ARG7600 or ARG7800 which is several years old. This morning is started flashing "lock" and beeping (very loudly) with an error message of F9. I wasn't using the oven nor was I trying to clean it. How do I stop the beeping (either than hitting Oven Cancel which only stops the beeping for a minute or two. Thanks
Our Amana oven ARG 7800 or 7600? has a problem. The digital readout and controls have gone out. I checked and there is electricity to the oven. The oven light works. What should I do?
I have an Amana ARG7600. The oven comes on intermitantly and seems to be getting worse. Does the igniter need to be replaced?
arg7600 oven won't light. Glow plug works. No gas.
I have an Amana Self-Cleaning oven ARG7600. It is plugged into an outlet that is working but no lights come on. Does this model have an internal fuse that might be blown?
Amana oven ARG7300W The broiler and top burners are working but the oven does not seem to be working. Everything that I have read leads me to replacing the ignitor but I don't know how to do this. Any suggestions would be greatly appreciated. CG
Amana Self Clean oven Model # ARG7600LL is VERY slow to heat up to temperture needed. Gas range top works fine - oven does not. We've replaced thermostat - worked for awhile - now same old problem - very slow to heat (like takes hours to get to temperture!).
Tried using my gas range yesterday and it would'nt get hot. Investagated further and found that the glowbar or igniter was working but gas was not being released. What could be causing this problem???
I Replaced the Igniter now have 3.5 amps. The burner comes on then the igniter fades out and the burner flame goes out. With the oven set at 350 the preheat tone goes off with the oven at 225. With the oven set at 400 the preheat tone goes off with the oven at 300. Tried the temperature adjustment in the manual, did not change the oven temp by much. Which to try next Temp sensor or the controller? Before the igniter was replaced some times the oven would work fine other times it could not make or hold temp.
My oven will not come on the broiler at the top of the oven is working fine but the oven part in the bottom will not do anything. No heat or glowing. What do you think could be my problem
A few days ago our oven display went black. Not sure the cause. We did have some strong wind that day, but I don't understand how that would do it. Pushing the Start button, I get the beeps - one short, one long, three short. Looking around on the forums I found this thread which appears to be the same issue I'm having: Whirlpool display problems. I even ripped the control panel cover off of the screws like this guy, since I didn't see that thread in time. I did glue all of the contacts back on to the cover though. Anyway, I'm no handy man, but I'd like to fix this myself since I'm guessing it would run $500-600 if I call a repair company. I believe this Electronic Control is what I need to fix the problem: Part Details - WHIRLPOOL Electronic control, part number: AP3873768 My question is do I take a flyer and spend $226 on this part and hope that it works. I see your return policy does not allow returns on plugged in electronics. I guess I'm just looking for a little reassurance that
Amana ARG7600WW 990S177809 P1143345NWW In the bake mode the oven will not light the igniter glow but burner will not light appears no gas. In the broil mode the upper burnner lights
model # arg7600ww. Display clock keeps flashing, model # arg7600ww. Display clock keeps flashing, and the range wont bake when it is flashing. Once and a while the clock disappears, other times it is fine and the oven works.