Amana Electric Range ARDS800E Timer Repair

What is the timer/clock part number for the Amana ARDS800E Electric Range?

Timer part number 31-308480-07-0 for Amana ARDS800E

The ARDS800E Electric Range uses timer part number 31-308480-07-0.

Do you have a failed Amana ARDS800E control panel? Click here:

Request Appliance Timer Service

We can repair or replace your faulty Amana ARDS800E timer.

ARDS800E are also sometimes referred to using these Alternative Names/Model numbers

Whirlpool ARDS800E Electric Range, ARDS800E/P1131920NE

ARDS800E Schematic and Wiring Diagrams

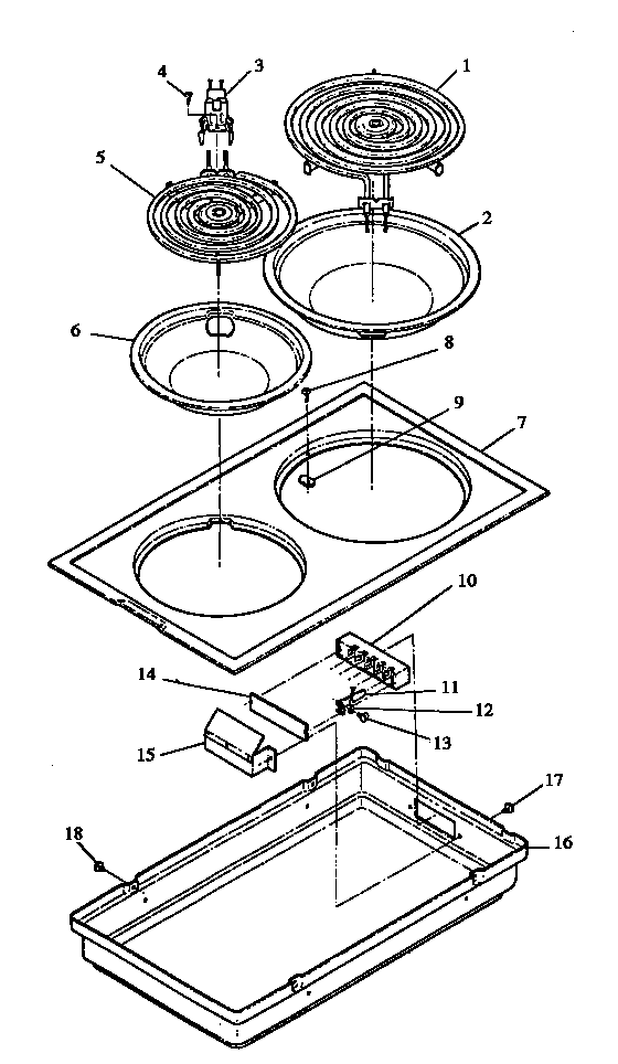
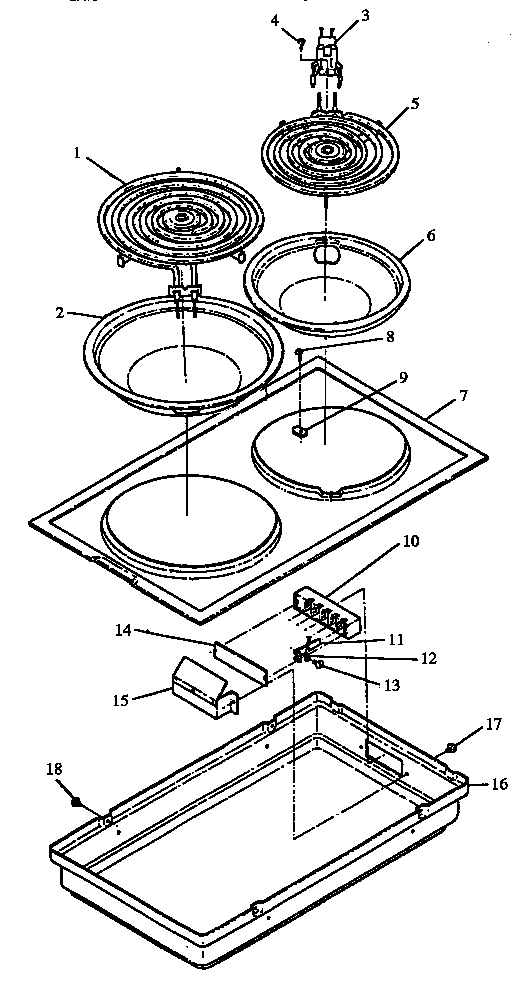
Main body (ards800e/p1131920ne) (ards800ww/p1131920nww) (cards800e/p1131922ne) (cards800ww/p1131922nww) Parts diagram
ARDS800E Electric Range Main body (ards800e/p1131920ne) (ards800ww/p1131920nww) (cards800e/p1131922ne) (cards800ww/p1131922nww) Parts diagram
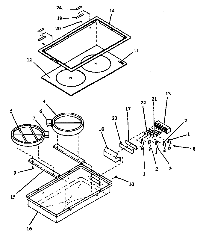
Cabinet assembly (ards800e/p1131920ne) (ards800ww/p1131920nww) (cards800e/p1131922ne) (cards800ww/p1131922nww) Parts diagram
ARDS800E Electric Range Cabinet assembly (ards800e/p1131920ne) (ards800ww/p1131920nww) (cards800e/p1131922ne) (cards800ww/p1131922nww) Parts diagram
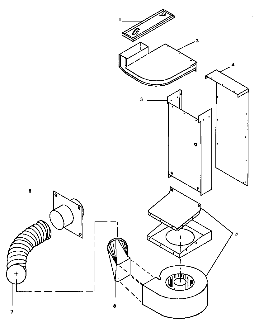
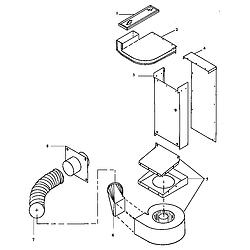
Vent (ards800e/p1131920ne) (ards800ww/p1131920nww) (cards800e/p1131922ne) (cards800ww/p1131922nww) Parts diagram
ARDS800E Electric Range Vent (ards800e/p1131920ne) (ards800ww/p1131920nww) (cards800e/p1131922ne) (cards800ww/p1131922nww) Parts diagram
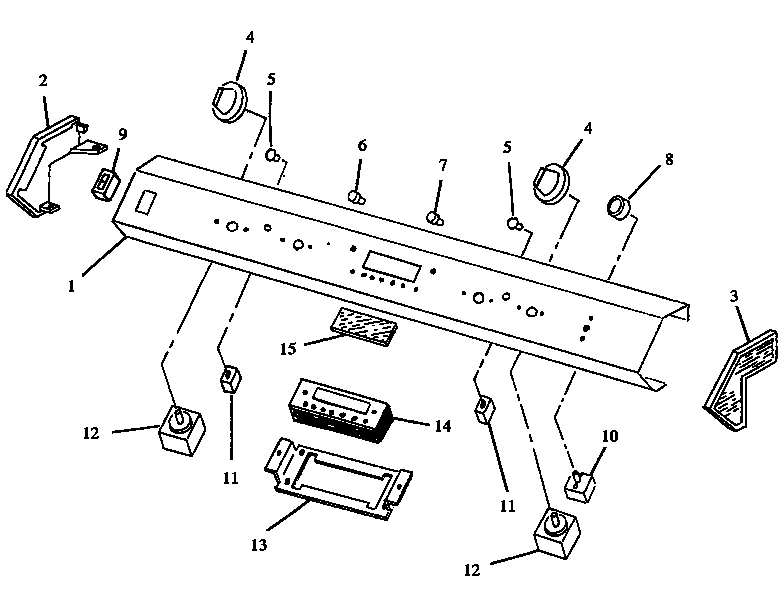
Control panel (ards800e/p1131920ne) (ards800ww/p1131920nww) (cards800e/p1131922ne) (cards800ww/p1131922nww) Parts diagram
ARDS800E Electric Range Control panel (ards800e/p1131920ne) (ards800ww/p1131920nww) (cards800e/p1131922ne) (cards800ww/p1131922nww) Parts diagram
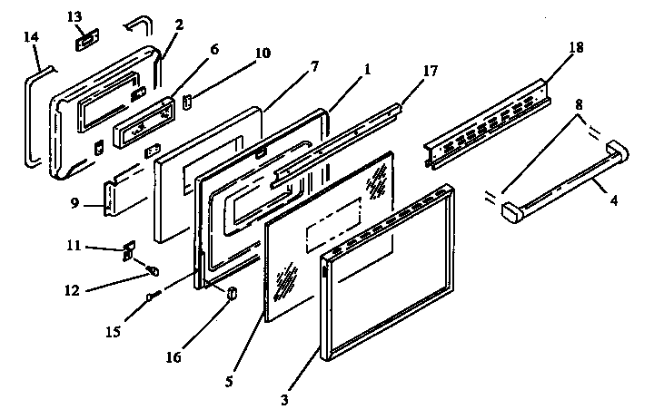
Door (ards800e/p1131920ne) (ards800ww/p1131920nww) (cards800e/p1131922ne) (cards800ww/p1131922nww) Parts diagram
ARDS800E Electric Range Door (ards800e/p1131920ne) (ards800ww/p1131920nww) (cards800e/p1131922ne) (cards800ww/p1131922nww) Parts diagram
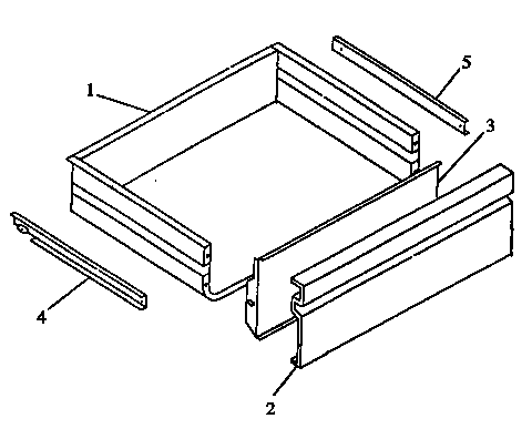
Drawer (ards800e/p1131920ne) (ards800ww/p1131920nww) (cards800e/p1131922ne) (cards800ww/p1131922nww) Parts diagram
ARDS800E Electric Range Drawer (ards800e/p1131920ne) (ards800ww/p1131920nww) (cards800e/p1131922ne) (cards800ww/p1131922nww) Parts diagram
Electrical assembly (ards800e/p1131920ne) (ards800ww/p1131920nww) (cards800e/p1131922ne) (cards800ww/p1131922nww) Parts diagram
ARDS800E Electric Range Electrical assembly (ards800e/p1131920ne) (ards800ww/p1131920nww) (cards800e/p1131922ne) (cards800ww/p1131922nww) Parts diagram
Backguard Parts diagram
ARDS800E Electric Range Backguard Parts diagram
Module (cc11ls/all) Parts diagram
ARDS800E Electric Range Module (cc11ls/all) Parts diagram
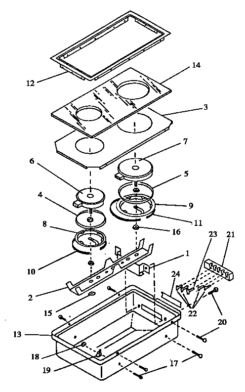
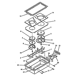
Cooktop (cc1e/p1155201) (cc1w/p1155202) Parts diagram
ARDS800E Electric Range Cooktop (cc1e/p1155201) (cc1w/p1155202) Parts diagram
Cooktop Parts diagram
ARDS800E Electric Range Cooktop Parts diagram
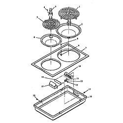
Cooktop (cc13e/p1155203) (cc13w/p1155204) Parts diagram
ARDS800E Electric Range Cooktop (cc13e/p1155203) (cc13w/p1155204) Parts diagram
Cooktop (cc12hre/p1172301) (cc12hrw/p1172302) Parts diagram
ARDS800E Electric Range Cooktop (cc12hre/p1172301) (cc12hrw/p1172302) Parts diagram
Voltage assembly (cards800e/p1131922ne) (cards800ww/p1131922nww) Parts diagram
ARDS800E Electric Range Voltage assembly (cards800e/p1131922ne) (cards800ww/p1131922nww) Parts diagram

Recent Service Requests

CityProblem DescriptionResolution
STONEHAM-ET-TEWKESBURY, QuébecF1 Errosr signla, Bip, don't work at all.
The part number is not 31-308480-07-0, but this part had been replaced approximately 10 years ago.

Are new parts available?
Repaired
JONESBORO, ArkansasOVEN STARTS, THEN CLEARS ITSELF AFTER 5 - 15 SECSAwaiting receipt of timer
Windsor Mill, MarylandOven quits before warming. It stays on for about15 seconds then clicks off. A few months ago, the oven would stay on and work properly ever once in a while but haven't been able to get it to work recently.Repaired

Common problems for Amana Electric Range ARDS800E Timer Repair

Are you encountering a similar problem as them? Contact us now and we will try to help you fix your ARDS800E timer-related problem.
i have an amana ards802e oven. when i push the bake or broil button then select the temperature the bake or broil light comes on then the 100 degree indicator comes on but no heating comes from the bake or broil coils. simply put everything appears to work but the oven part of the oven does nothing. what part is defective?
When setting the oven temp, it always refaults back to 100, when 350 is entered, the indicator clicks back to 100 and that is all the temp the oven will heat The range is an ARDS800E about 16 yrs old
it shows a code F1 the model number is ARDS800E. Serial number is 9311160383. MFG number is P1131920N E. 03-308 465-07-0 Amanda . it show a code of F1 on the oven. It is not our oven trying to find the problem for relative. this is all the information they gave me. need to find out the problem.
Oven will not turn on. ARDS800E Oven will not turn on. Indicator says oven is on, but after approx. 15 seconds it goes off. No error code shown. Same thing for broil and clean.