Kenmore Electric Range 911931319 Timer Repair

What is the timer/clock part number for the Kenmore 911931319 Electric Range?

Timer part number WB27K5125 for Kenmore 911931319

The 911931319 Electric Range uses timer part number WB27K5125.

Do you have a failed Kenmore 911931319 control panel? Click here:

Request Appliance Timer Service

We can repair or replace your faulty Kenmore 911931319 timer.

911931319 are also sometimes referred to using these Alternative Names/Model numbers

Sears 911931319 Electric Range, 9119313190

911931319 Schematic and Wiring Diagrams

Backguard section Parts diagram
911931319 Electric Range Backguard section Parts diagram
Main top section Parts diagram
911931319 Electric Range Main top section Parts diagram
Wire harnesses and components Parts diagram
911931319 Electric Range Wire harnesses and components Parts diagram
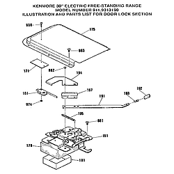
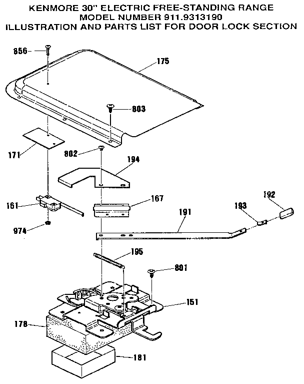
Door lock section Parts diagram
911931319 Electric Range Door lock section Parts diagram
Body section Parts diagram
911931319 Electric Range Body section Parts diagram
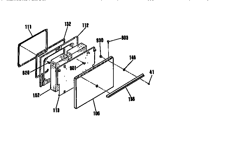
Door section Parts diagram
911931319 Electric Range Door section Parts diagram