Kenmore Gas Range 9117390991 Timer Repair

What is the timer/clock part number for the Kenmore 9117390991 Gas Range?

Timer part number 345629 for Kenmore 9117390991

The 9117390991 Gas Range uses timer part number 345629.

Do you have a failed Kenmore 9117390991 control panel? Click here:

Request Appliance Timer Service

We can repair or replace your faulty Kenmore 9117390991 timer.

9117390991 are also sometimes referred to using these Alternative Names/Model numbers

Sears 9117390991 Gas Range

9117390991 Schematic and Wiring Diagrams

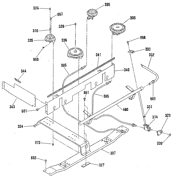
Backguard section Parts diagram
9117390991 Gas Range Backguard section Parts diagram
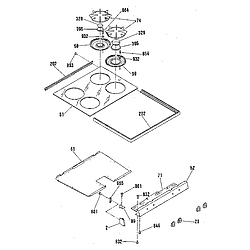
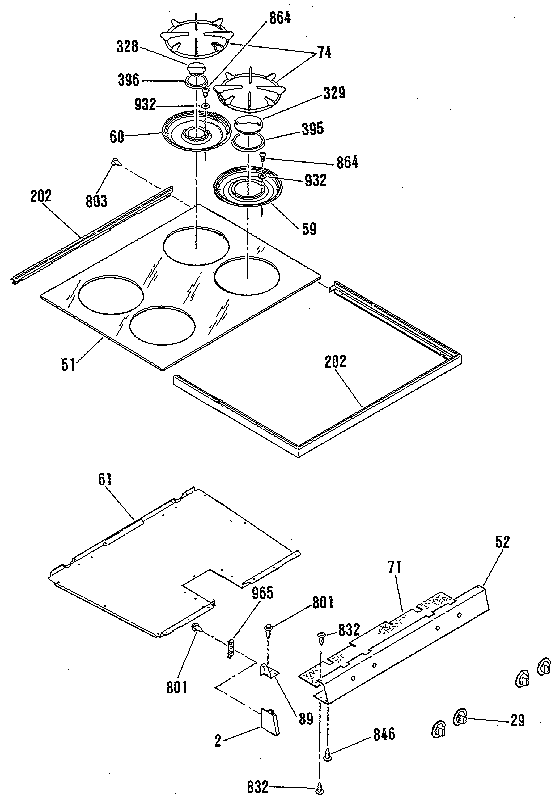
Main top section Parts diagram
9117390991 Gas Range Main top section Parts diagram
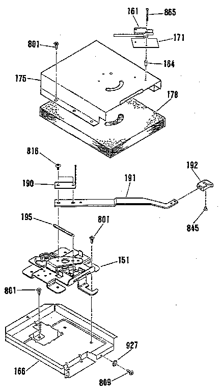
Body section Parts diagram
9117390991 Gas Range Body section Parts diagram
Door lock section Parts diagram
9117390991 Gas Range Door lock section Parts diagram
Broiler and oven burner section Parts diagram
9117390991 Gas Range Broiler and oven burner section Parts diagram
Top burner section Parts diagram
9117390991 Gas Range Top burner section Parts diagram
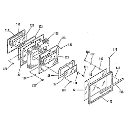
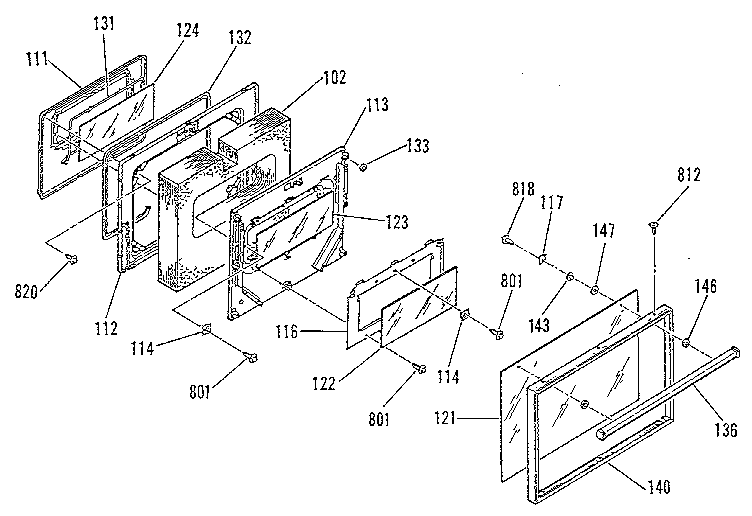
Oven door section Parts diagram
9117390991 Gas Range Oven door section Parts diagram
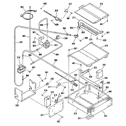
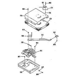
Wire harnesses & components Parts diagram
9117390991 Gas Range Wire harnesses & components Parts diagram

Common problems for Kenmore Gas Range 9117390991 Timer Repair

Are you encountering a similar problem as them? Contact us now and we will try to help you fix your 9117390991 timer-related problem.
Hello. I have a model(NNN) NNN-NNNNgas oven. The oven and broiler buttons on the keypad are in-op. All other functions on the keypad, oven work as normal. Cleaned between each button's rubber pad and the circuit board-- no change. What should I do next? Thanx. ---Ken