|
||||||
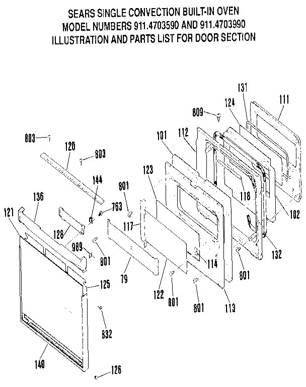
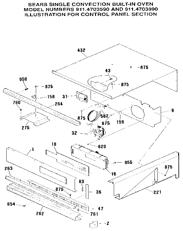
Kenmore Convection Built-In Oven 9114703990 Timer RepairWhat is the timer/clock part number for the Kenmore 9114703990 Convection Built-In Oven?![]() The 9114703990 Convection Built-In Oven uses timer part number WB27K5046. Do you have a failed Kenmore 9114703990 control panel? Click here: We can repair or replace your faulty Kenmore 9114703990 timer. 9114703990 are also sometimes referred to using these Alternative Names/Model numbersSears 9114703990 Convection Built-In Oven 9114703990 Schematic and Wiring DiagramsRecent Service Requests
|
||||||
|
||||||