Kenmore Slide-In Range 9114672991 Timer Repair

What is the timer/clock part number for the Kenmore 9114672991 Slide-In Range?

Timer part number WB27K5073 for Kenmore 9114672991

The 9114672991 Slide-In Range uses timer part number WB27K5073.

Do you have a failed Kenmore 9114672991 control panel? Click here:

Request Appliance Timer Service

We can repair or replace your faulty Kenmore 9114672991 timer.

9114672991 are also sometimes referred to using these Alternative Names/Model numbers

Sears 9114672991 Slide-In Range

9114672991 Schematic and Wiring Diagrams

Main top section Parts diagram
9114672991 Slide-In Range Main top section Parts diagram
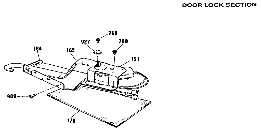
Door lock section Parts diagram
9114672991 Slide-In Range Door lock section Parts diagram
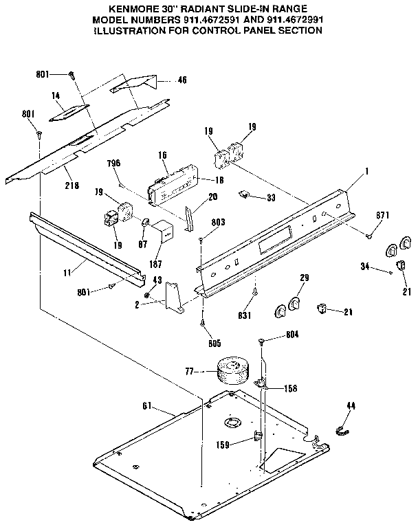
Control panel Parts diagram
9114672991 Slide-In Range Control panel Parts diagram
Wire harness and components Parts diagram
9114672991 Slide-In Range Wire harness and components Parts diagram
Body section Parts diagram
9114672991 Slide-In Range Body section Parts diagram
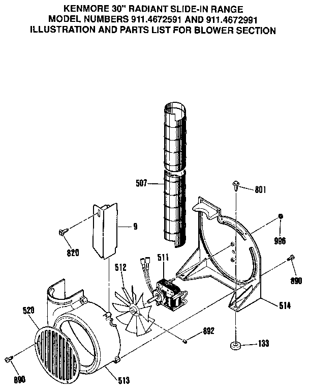
Blower Parts diagram
9114672991 Slide-In Range Blower Parts diagram
Door Parts diagram
9114672991 Slide-In Range Door Parts diagram
Extension trim Parts diagram
9114672991 Slide-In Range Extension trim Parts diagram
Optional backsplash Parts diagram
9114672991 Slide-In Range Optional backsplash Parts diagram
Optional rear top filler Parts diagram
9114672991 Slide-In Range Optional rear top filler Parts diagram