|
|||||||||
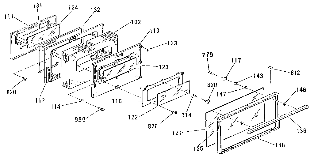
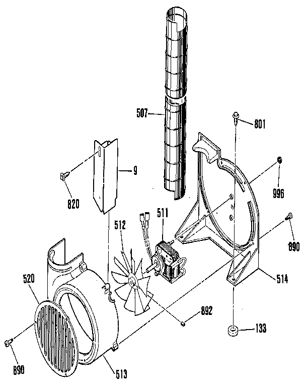
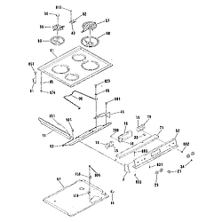
Kenmore Slide-In Range 911465219 Timer RepairWhat is the timer/clock part number for the Kenmore 911465219 Slide-In Range?![]() The 911465219 Slide-In Range uses timer part number WB27K5073. Do you have a failed Kenmore 911465219 control panel? Click here: We can repair or replace your faulty Kenmore 911465219 timer. 911465219 are also sometimes referred to using these Alternative Names/Model numbersSears 911465219 Slide-In Range, 9114652190, 9114652192, 9114652191 911465219 Schematic and Wiring DiagramsRecent Service Requests
|
|||||||||
|
|||||||||