|
||||||
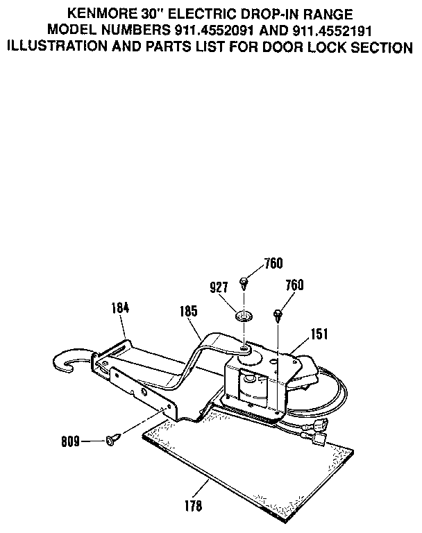
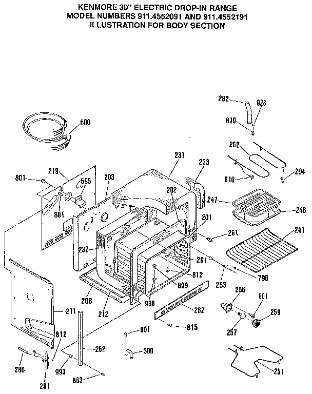
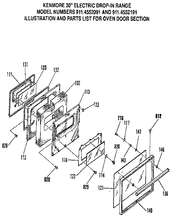
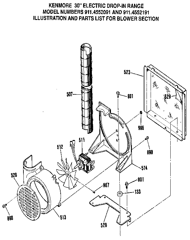
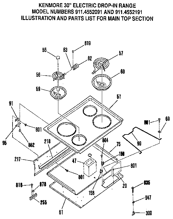
Kenmore Drop-In Electric Range 9114552191 Timer RepairWhat is the timer/clock part number for the Kenmore 9114552191 Drop-In Electric Range?![]() The 9114552191 Drop-In Electric Range uses timer part number WB27K5073. Do you have a failed Kenmore 9114552191 control panel? Click here: We can repair or replace your faulty Kenmore 9114552191 timer. 9114552191 are also sometimes referred to using these Alternative Names/Model numbersSears 9114552191 Drop-In Electric Range 9114552191 Schematic and Wiring Diagrams |
||||||
|
||||||