Kenmore Drop-In Electric Range 9114552092 Timer Repair

What is the timer/clock part number for the Kenmore 9114552092 Drop-In Electric Range?

Timer part number WB27K5107 for Kenmore 9114552092

The 9114552092 Drop-In Electric Range uses timer part number WB27K5107.

Do you have a failed Kenmore 9114552092 control panel? Click here:

Request Appliance Timer Service

We can repair or replace your faulty Kenmore 9114552092 timer.

9114552092 are also sometimes referred to using these Alternative Names/Model numbers

Sears 9114552092 Drop-In Electric Range

9114552092 Schematic and Wiring Diagrams

Control section Parts diagram
9114552092 Drop-In Electric Range Control section Parts diagram
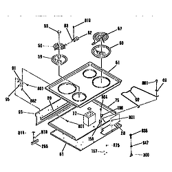
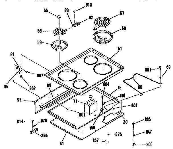
Main top section Parts diagram
9114552092 Drop-In Electric Range Main top section Parts diagram
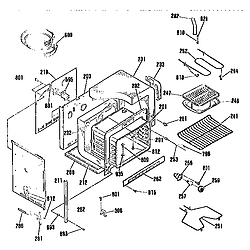
Body section Parts diagram
9114552092 Drop-In Electric Range Body section Parts diagram
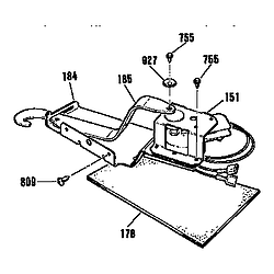
Wire harness and components Parts diagram
9114552092 Drop-In Electric Range Wire harness and components Parts diagram
Door lock section Parts diagram
9114552092 Drop-In Electric Range Door lock section Parts diagram
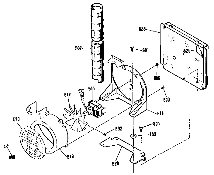
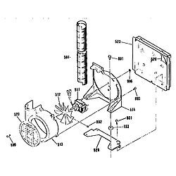
Blower section Parts diagram
9114552092 Drop-In Electric Range Blower section Parts diagram
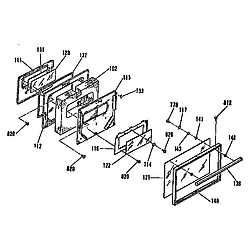
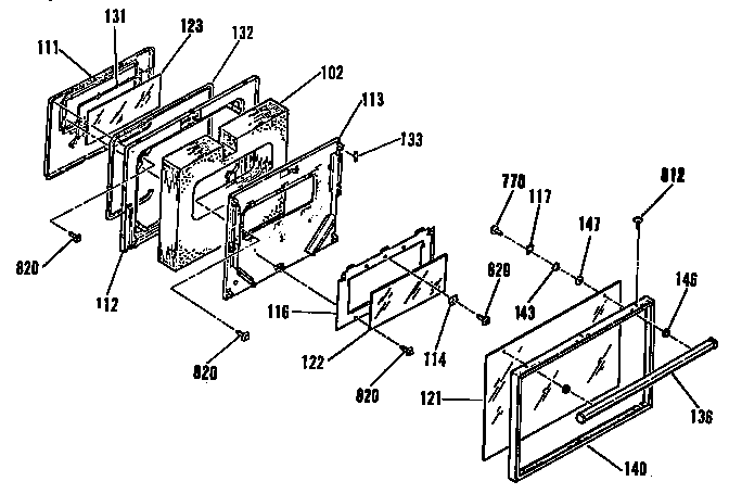
Oven door section Parts diagram
9114552092 Drop-In Electric Range Oven door section Parts diagram

Recent Service Requests

CityProblem DescriptionResolution
Collinsville, VirginiaThis is the range control board/timer for a Kenmore drop-in range/oven. The oven works but is not heating to the specified temperature (e.g. When the oven temperature is set at 425 deg F, the actual oven temperature is less than 200). Replacement of the oven temperature sensor did not fix the problem.Repaired