Kenmore Electric Built-In Oven 9114042591 Timer Repair

What is the timer/clock part number for the Kenmore 9114042591 Electric Built-In Oven?

Timer part number ERC-14500-RP/100-375-11/CH:CTL080 for Kenmore 9114042591

The 9114042591 Electric Built-In Oven uses timer part number ERC-14500-RP/100-375-11/CH:CTL080.

Do you have a failed Kenmore 9114042591 control panel? Click here:

Request Appliance Timer Service

We can repair or replace your faulty Kenmore 9114042591 timer.

9114042591 are also sometimes referred to using these Alternative Names/Model numbers

Sears 9114042591 Electric Built-In Oven

9114042591 Schematic and Wiring Diagrams

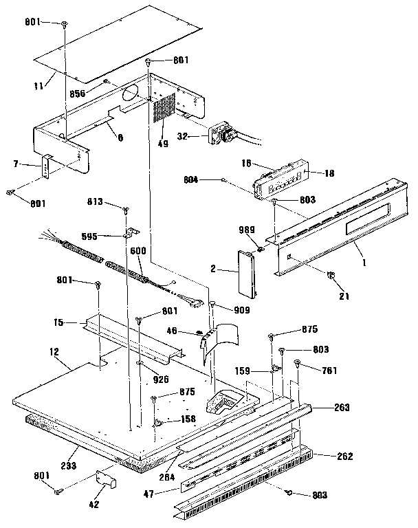
Control section Parts diagram
9114042591 Electric Built-In Oven Control section Parts diagram
Wire harnesses and components Parts diagram
9114042591 Electric Built-In Oven Wire harnesses and components Parts diagram
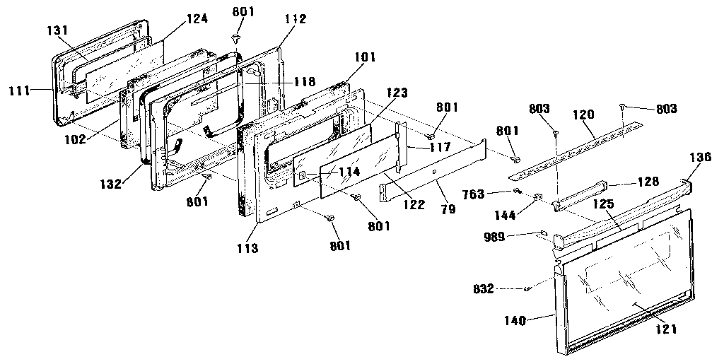
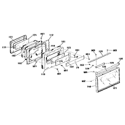
Door section Parts diagram
9114042591 Electric Built-In Oven Door section Parts diagram
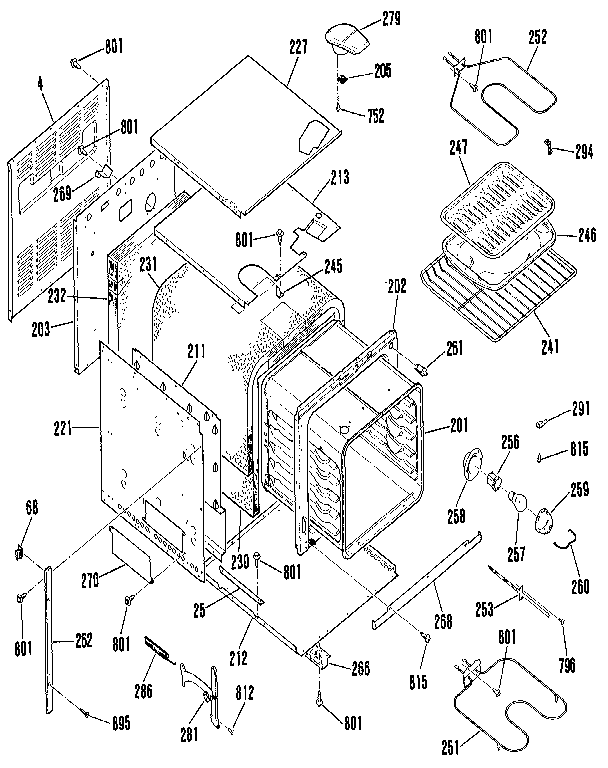
Body section Parts diagram
9114042591 Electric Built-In Oven Body section Parts diagram
Door lock section Parts diagram
9114042591 Electric Built-In Oven Door lock section Parts diagram