Kenmore Elecric Built-In Oven 911401219 Timer Repair

What is the timer/clock part number for the Kenmore 911401219 Elecric Built-In Oven?

Timer part number 346062 for Kenmore 911401219

The 911401219 Elecric Built-In Oven uses timer part number 346062.

Do you have a failed Kenmore 911401219 control panel? Click here:

Request Appliance Timer Service

We can repair or replace your faulty Kenmore 911401219 timer.

911401219 are also sometimes referred to using these Alternative Names/Model numbers

Sears 911401219 Elecric Built-In Oven, 9114012191, 9114012192, 9114012193, 9114012190

911401219 Schematic and Wiring Diagrams

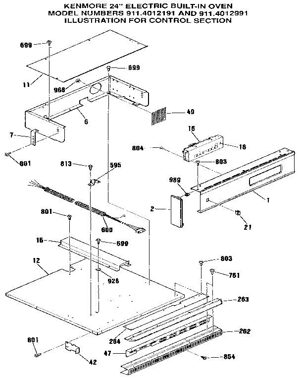
Control section Parts diagram
911401219 Elecric Built-In Oven Control section Parts diagram
Wire harness and components Parts diagram
911401219 Elecric Built-In Oven Wire harness and components Parts diagram
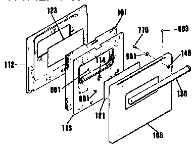
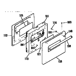
Door Parts diagram
911401219 Elecric Built-In Oven Door Parts diagram
Body section Parts diagram
911401219 Elecric Built-In Oven Body section Parts diagram

Recent Service Requests

CityProblem DescriptionResolution
Lake Wylie, South Carolinawhen you turn the oven on sometimes it works perfect, sometimes it comes on and quits while cooking and sometimes it doesn't come on at all.Beyond Repair
Union, MississippiSears tech said it wouldn't allow proper voltage to make elements to heat up.Awaiting receipt of timer
Newnan, GeorgiaF1Awaiting receipt of timer
Pass Christian, Mississippiwhen I turn it on it only stays on for a few minutes then it turns back off.Repaired
Gastonia, North CarolinaThe timer shows a F01 code sometimes and also the oven will work sometimes but will cut off in the middle of cooking.Repaired
Hebron, MarylandReading sensor input as 160F @ room temp. - sensor resistance checks out @ 1089 ohms.
It has now stopped operating the elements (both) since our phone conversation Mon, 10/31 AM.

****PLEASE NOTE: Per our conversation, I understand you should be getting one of these returned shortly from another customer who just purchased an in-stock one. I would like to purchase that one, when rebuilt, if mine is beyond repair. Thank you.
Repaired

Common problems for Kenmore Elecric Built-In Oven 911401219 Timer Repair

Are you encountering a similar problem as them? Contact us now and we will try to help you fix your 911401219 timer-related problem.
I have a Kenmore 9114012190 oven it does not heat properly anymore the top and lower elements get hot but it will hardly get anything warm that is placed in it ie; bread has to stay in it for 45 mins to get warm. Thanks for any assistance you might give.
I have a Kenmore 9114012190 Oven. 3 wires,red,black,white where does the white wire go?
kenmore wall oven models#40121/40129 we have been getting the f2 code what is wrong?