Kenmore Drop-In Gas Range 9113548813 Timer Repair

What is the timer/clock part number for the Kenmore 9113548813 Drop-In Gas Range?

Timer part number 342145 for Kenmore 9113548813

The 9113548813 Drop-In Gas Range uses timer part number 342145.

Do you have a failed Kenmore 9113548813 control panel? Click here:

Request Appliance Timer Service

We can repair or replace your faulty Kenmore 9113548813 timer.

9113548813 are also sometimes referred to using these Alternative Names/Model numbers

Sears 9113548813 Drop-In Gas Range

9113548813 Schematic and Wiring Diagrams

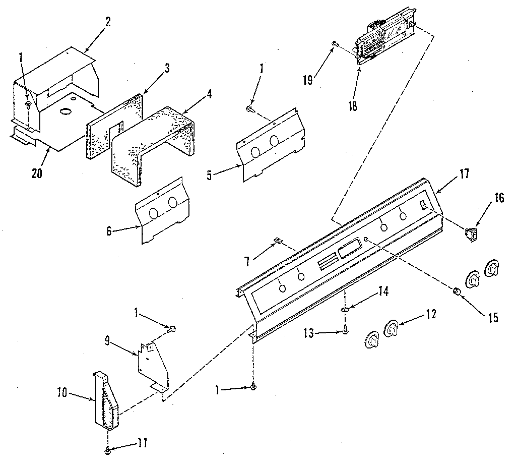
Control panel Parts diagram
9113548813 Drop-In Gas Range Control panel Parts diagram
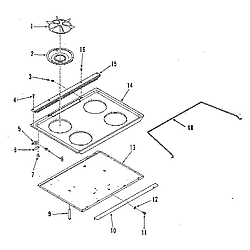
Main top Parts diagram
9113548813 Drop-In Gas Range Main top Parts diagram
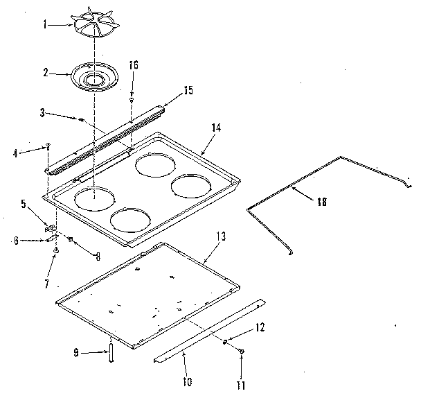
Burner Parts diagram
9113548813 Drop-In Gas Range Burner Parts diagram
Wire harnesses and options Parts diagram
9113548813 Drop-In Gas Range Wire harnesses and options Parts diagram
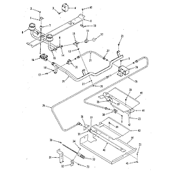
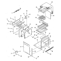
Body Parts diagram
9113548813 Drop-In Gas Range Body Parts diagram
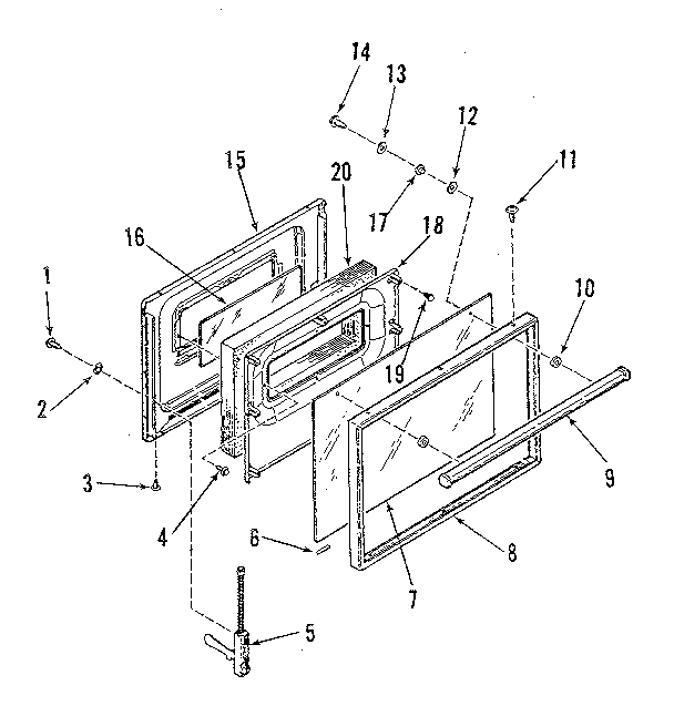
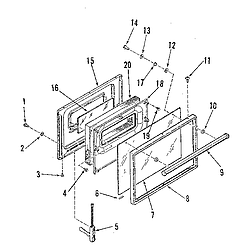
Oven door Parts diagram
9113548813 Drop-In Gas Range Oven door Parts diagram

Recent Service Requests

CityProblem DescriptionResolution
Vallejo, CaliforniaBake and broil functions do not activate.Repaired

Common problems for Kenmore Drop-In Gas Range 9113548813 Timer Repair

Are you encountering a similar problem as them? Contact us now and we will try to help you fix your 9113548813 timer-related problem.
Our Kenmore slide in range is 17 years old. The ignitor lights up, but the broiler will not work. The oven does still work. Do I need a new ignitor? Where can I get one? Sears has told me that they no longer carry parts for the older ranges. Richard Moore
I have a Kenmore oven model(NNN) NNN-NNNNrange top works fine but oven just stopped working. one day my wife was baking something and leaned against the control buttons and the oven shut down and hasn't worked since. thanks for your help.