Maytag 59F5TXW Timer Repair

What is the timer/clock part number for the Maytag 59F5TXW Range?

Timer part number 7601P156-60 for Maytag 59F5TXW

The 59F5TXW Range uses timer part number 7601P156-60.

Do you have a failed Maytag 59F5TXW control panel? Click here:

Request Appliance Timer Service

We can repair or replace your faulty Maytag 59F5TXW timer.

59F5TXW are also sometimes referred to using these Alternative Names/Model numbers

Whirlpool 59F5TXW Range

59F5TXW Schematic and Wiring Diagrams

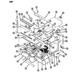
Control panel/body Parts diagram
59F5TXW Range Control panel/body Parts diagram
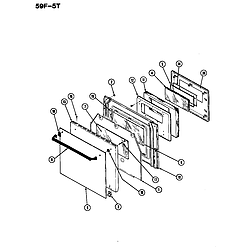
Door Parts diagram
59F5TXW Range Door Parts diagram

Recent Service Requests

CityProblem DescriptionResolution
Hope Valley, Rhode IslandCOULD NOT SET TEMPERATURE: Sometimes banging on the front panel made it work. The dial for the temperature set seems loose and may not be making good contact. Had to jiggle the temp set knob.
Could not set or keep temp. Oven came on but would lose the temperature setting.
Awaiting receipt of timer

Common problems for Maytag 59F5TXW Timer Repair

Are you encountering a similar problem as them? Contact us now and we will try to help you fix your 59F5TXW timer-related problem.
I have a Magic Chef electric oven, Model 38FN-6TVW. It has an electronic control panel with the following controls: clock - clock - Cook Time - Clean - Stop Time - Broil - Bake The control buttons that aren't working are Clean, Broil, Bake. The other buttons are working. Recently, when turning on the oven via the control panel, the oven would start to heat up, and very shortly thereafter, it would turn off. By turning on the oven on a few more times, it would eventually stay on. Now, when pressing the Bake Temp control panel button, nothing happens at all. I believe this happened to us last year, around the same time of year. We've had lots of rain and it's very humid here. Once the humidity lowers, the controls work again. I have found a site that sells parts for this model, but not sure which part would need replacing. Here is where I found some parts listed: **************** Appliance Parts Source The oven is about 23 years old and I know I need a new one. I was just hoping that per
i CANNOT FIND DEFROST clock, i HAVE LOOKED EVERYWHERE IT IS SUPPOSED TO BE. PLEASE HELP
I have a 90’s Magic chef wall oven that when set at say 350F the panel will show it rising in temperature quickly and will then beep at 350. The problem is the ovens actual temp will only be around 175F. If you leave it at that temp setting for some time it will slowly rise but never to the 350 it is set to. I have replaced the Oven Sensor (#12001656) but NO change in the malfunction! Any thoughts on my problem?
I need help fixing my refrigerator. The freezer section is nice and cold, but the refrigerator refuses to get cold. The temp in the refrigerator is typically around 54 F, but it has dropped to 49 F if I leave it shut for 48 hours. After reading lots of posts on this topic, I checked the coils and they were covered in frost and ice. So, I thought it was a problem with the defrost system. I checked the defrost heater, and it is working fine. So I replaced the defrost thermostat and the defrost clock thinking it had to be one of these items. After replacing them, the problem persists. Other information: When the compressor runs, the fan in the back of the freezer turns and blows air into the refrigerator compartment. One last piece of info: It seems like the problem started after my son left the refrigerator door open. It was open for a few hours and there was a lot of condensation in the fridge when I finally shut it. Not sure if this is related or not. What should I check next? Could th
My Kenmore 59675529400 Trio (bottom freezer) just did what a LOT of the fridges on this board seem to do. Freezer fine, warm refrigerator. I took out the back of the freezer and everything was iced up. Ran a hair dryer over it, closed it back up... the top does seem to be cooling off now. Everything I read tells me that this problem usually stems from a bad "Defrost clock" or "Defrost heater". Problem is - I can't find either of these parts listed on the official Kenmore parts manual, the Sears parts website or ********************.com. Where many units seems to have a mechanical clock (in the assembly at the top of the fridge) this one seems to have some kind of electronic board, simply labeled on the parts list "electronic control" (part # 12868513). Does this perform the function of the defrost clock in this model? Because I can't see any other part that seems to do a similar job.
when the power is turned on to appliance, the broiler element comes on and stays on. if the relay is stuck, should the oven sensor cycle at some temperature? it must be close to 700 degrees in there. also could the clock be bad and send a false signal to the relay board and cause this situation? i wouldn't mind replacing all three items, clock, relay board, and sensor but their availability comes into question
I have researched the parts breakdown and found that the clock-clock is an AP4102828. Mine is acting up and needs to be replaced. I also made note of the $254.00 price tag attached to that clock but it is better than paying $1000 for a new oven. I recognize that the minute I install that clock it is unreturnable. My question is: Is there another solid state board in this oven that could be causing the problem? I certainly do not want to Pay $250 to find out that there is another underlying cause to the problem. The clock is very erratic and the clock works sometimes and sometimes it doesn't.
We have a Magic Chef oven, model 59F-5TXW, which I can give you the serial # XXXXX you want it. A couple of weeks ago, when we set it, it would turn on, begin the heat cycle, then turn off and give an "F" message. I determined that this msg was associated with a thermocouple failure. I replaced the t-couple, and the oven worked fine for a while. Lately, on setting, the oven turns off after about 10 seconds with no further action, no error msg, no heating, nothing. We called an appliance repair shop for a visit. The techs came out, looked at the oven, went out to the truck, came back in and said, "the electronic control part for your oven is no longer available. We can't do anything, you need a new oven. That'll be $80." I said, "Please take the part out then." They said, "That'll be another $80." I declined, paid them and took the part out myself. Written on the side is "ERC-4713-MC 100-379-11 /CN 7601P177-60," and underneath is "SN(NNN) NNN-NNNN" Is there a place where I can get this
We have a MC oven, model 59F-5TXW after pre-heat oven to temp above 350 and temp is set above 400 we get an F2 and have to keep restarting the baking process. What do I need to do or replace?
I have a Norge wall oven, model #59F-5TXW, serial #05c914417839. Both hinges are broken - is there anywhere in Calgary, Alberta to buy replacement hinges? When and if I get them, how easy are they to install? Thanks for your help. Maggie
I have a Magic Chef electric oven (model#59F-5TXW). Foods are not cooking properly. The electronic temperature say 400F, but I checked it with an oven thermometer which says 275F. Is the thermocouple bad? The heater coil is clean an red hot until the electronic thermometer turns it off. Harold XXX@XXXXXX.XXX
magic chef 59f5txw wall oven wont shut off
I have a Magic Chef electric oven (model#59F-5TXW). The control board thinks the temperature inside the oven is much higher than it really is and turns off the heat. I replaced the temperature sensor and it does the same thing, so it is not that. I need to replace the control board. Does anyone know where to get a replacement board and what that replacement# XXXXX?
I have a Magic Chef 59F 5TXW wall oven. The clock/display rarely works, but everything else seems to function ok. If I bang my fist on the front panel next to the clock, it will almost always light up for 1 minute to several minutes before going dark. I pulled out the board assembly, which consists of two boards connected with a ribbon cable. Is this considered one assembly? Any idea where I can but it online?
Problem - After" Bake" button is pushed and temp selected - oven will stay on app 24 seconds and then go off. This problem start out every few times for use and now seems to be not working at all. I tried turning power off at the breaker to clear out and didn't seem to have any effect. I took the covers off the 3 relays on the relay board and watched the fan relay come in followed by the two heating elements and then the heating relays go off after maybe 2 seconds and then the fan relay stops after 24 seconds. I mechanically held the two heating relays in with no help to going off problem. I have checked the thermostatic,over temp switches (and jumpered to check),heating elements,resistor. I have a electrical diagram that came with oven. Oven is app. 20 years old. I am thinking the problem is the power control board? magic chef electric oven 59F-5TXW line voltage checked @ 220v Read more: http://forum.appliancepartspros.com/oven-repair-including-ovens-cooktops/129785-magic-chef-electri