Magic Chef 54FN5TKVW Timer Repair

What is the timer/clock part number for the Magic Chef 54FN5TKVW Range?

Timer part number 7601P176-60 for Magic Chef 54FN5TKVW

The 54FN5TKVW Range uses timer part number 7601P176-60.

Do you have a failed Magic Chef 54FN5TKVW control panel? Click here:

Request Appliance Timer Service

We can repair or replace your faulty Magic Chef 54FN5TKVW timer.

54FN5TKVW are also sometimes referred to using these Alternative Names/Model numbers

Maytag 54FN5TKVW Range, Whirlpool 54FN5TKVW Range

54FN5TKVW Schematic and Wiring Diagrams

Control panel (54fk-5txw) (54fn-5tkvw) (54fn-5tkxw) (54fn-5tvw) (54fn-5txw) Parts diagram
54FN5TKVW Range Control panel (54fk-5txw) (54fn-5tkvw) (54fn-5tkxw) (54fn-5tvw) (54fn-5txw) Parts diagram
Control panel (54f-5tkxw) (54f-5tkxw) Parts diagram
54FN5TKVW Range Control panel (54f-5tkxw) (54f-5tkxw) Parts diagram
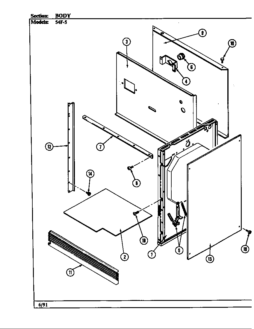
Body (54fk-5txw) (54fn-5tkvw) (54fn-5tkxw) (54fn-5tvw) (54fn-5txw) Parts diagram
54FN5TKVW Range Body (54fk-5txw) (54fn-5tkvw) (54fn-5tkxw) (54fn-5tvw) (54fn-5txw) Parts diagram
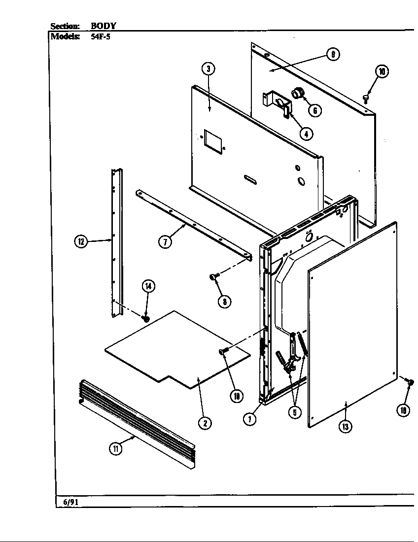
Body (54f-5tkxw) (54f-5tkxw) Parts diagram
54FN5TKVW Range Body (54f-5tkxw) (54f-5tkxw) Parts diagram
Internal controls (54fk-5txw) (54fn-5tkvw) (54fn-5tkxw) (54fn-5tvw) (54fn-5txw) Parts diagram
54FN5TKVW Range Internal controls (54fk-5txw) (54fn-5tkvw) (54fn-5tkxw) (54fn-5tvw) (54fn-5txw) Parts diagram
Internal controls (54f-5tkxw) (54f-5tkxw) Parts diagram
54FN5TKVW Range Internal controls (54f-5tkxw) (54f-5tkxw) Parts diagram
Oven (54fk-5txw) (54fn-5tkvw) (54fn-5tkxw) (54fn-5tvw) (54fn-5txw) Parts diagram
54FN5TKVW Range Oven (54fk-5txw) (54fn-5tkvw) (54fn-5tkxw) (54fn-5tvw) (54fn-5txw) Parts diagram
Oven (54f-5tkxw) (54f-5tkxw) Parts diagram
54FN5TKVW Range Oven (54f-5tkxw) (54f-5tkxw) Parts diagram
Gas controls (54fk-5txw) (54fn-5tkvw) (54fn-5tkxw) (54fn-5tvw) (54fn-5txw) Parts diagram
54FN5TKVW Range Gas controls (54fk-5txw) (54fn-5tkvw) (54fn-5tkxw) (54fn-5tvw) (54fn-5txw) Parts diagram
Gas controls (54f-5tkxw) (54f-5tkxw) Parts diagram
54FN5TKVW Range Gas controls (54f-5tkxw) (54f-5tkxw) Parts diagram
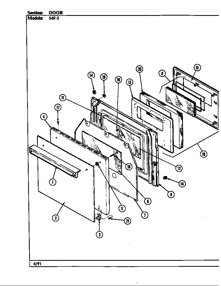
Door (54fk-5txw) (54fn-5tkvw) (54fn-5tkxw) (54fn-5tvw) (54fn-5txw) Parts diagram
54FN5TKVW Range Door (54fk-5txw) (54fn-5tkvw) (54fn-5tkxw) (54fn-5tvw) (54fn-5txw) Parts diagram
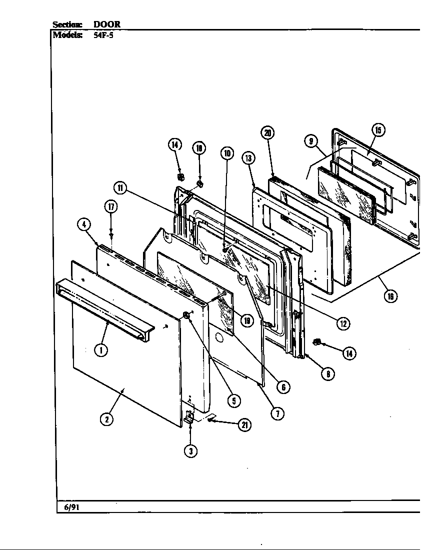
Door (54f-5tkxw) (54f-5tkxw) Parts diagram
54FN5TKVW Range Door (54f-5tkxw) (54f-5tkxw) Parts diagram