|
||||||
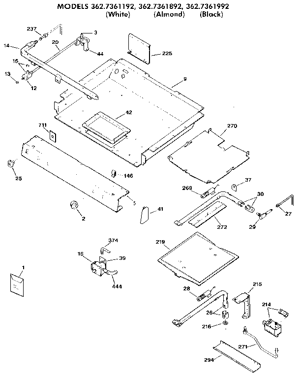
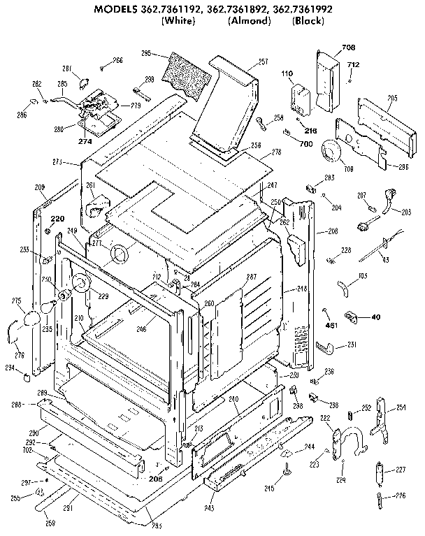
Kenmore Gas Range 3627361892 Timer RepairWhat is the timer/clock part number for the Kenmore 3627361892 Gas Range?![]() The 3627361892 Gas Range uses timer part number WB12K0005. Do you have a failed Kenmore 3627361892 control panel? Click here: We can repair or replace your faulty Kenmore 3627361892 timer. 3627361892 are also sometimes referred to using these Alternative Names/Model numbersSears 3627361892 Gas Range 3627361892 Schematic and Wiring Diagrams |
||||||
|
||||||