Kenmore Gas Range 362736189 Timer Repair

362736189 are also sometimes referred to using these Alternative Names/Model numbers

Sears 362736189 Gas Range, 3627361893, 3627361891, 3627361890, 3627361892

362736189 Schematic and Wiring Diagrams

Burner section Parts diagram
362736189 Gas Range Burner section Parts diagram
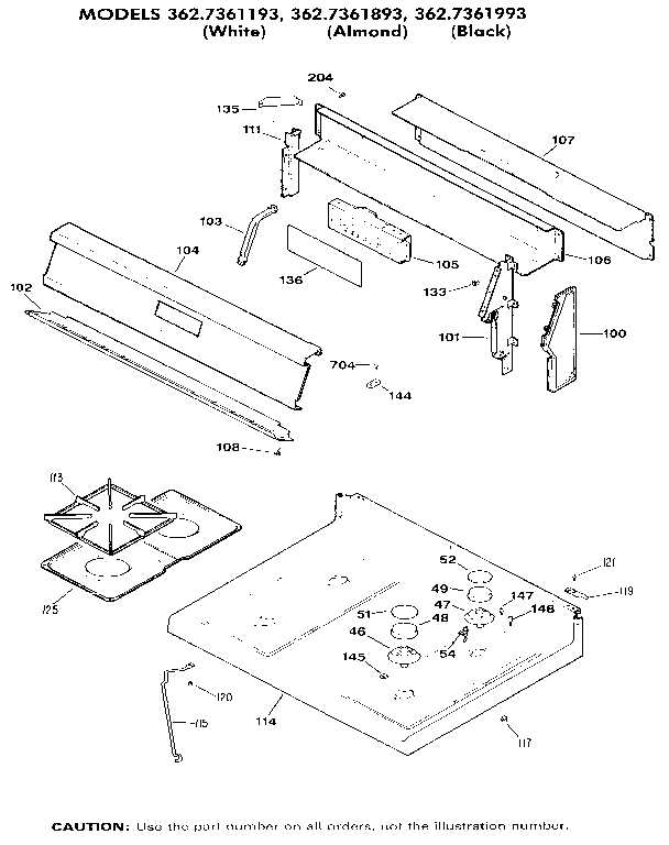
Main top section Parts diagram
362736189 Gas Range Main top section Parts diagram
Cabinet Parts diagram
362736189 Gas Range Cabinet Parts diagram
Door Parts diagram
362736189 Gas Range Door Parts diagram

Recent Service Requests

CityProblem DescriptionResolution
Eden Prairie, Minnesotadoesn't ignite burners, turn on oven turns off after 5 secondsAwaiting receipt of timer
Eden Prairie, Minnesotadoesn't ignite burners, turn on oven turns off after 5 secondsAwaiting receipt of timer