Kenmore Gas Range 3627361193 Timer Repair

What is the timer/clock part number for the Kenmore 3627361193 Gas Range?

Timer part number WB12K0005 for Kenmore 3627361193

The 3627361193 Gas Range uses timer part number WB12K0005.

Do you have a failed Kenmore 3627361193 control panel? Click here:

Request Appliance Timer Service

We can repair or replace your faulty Kenmore 3627361193 timer.

3627361193 are also sometimes referred to using these Alternative Names/Model numbers

Sears 3627361193 Gas Range

3627361193 Schematic and Wiring Diagrams

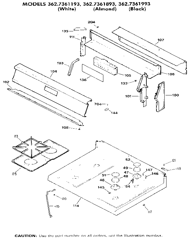
Burner section Parts diagram
3627361193 Gas Range Burner section Parts diagram
Main top section Parts diagram
3627361193 Gas Range Main top section Parts diagram
Cabinet Parts diagram
3627361193 Gas Range Cabinet Parts diagram
Door Parts diagram
3627361193 Gas Range Door Parts diagram

Recent Service Requests

CityProblem DescriptionResolution
Chesapeake, VirginiaThe oven operates, but will not reach the temperature the timer has been set at. It's cooking about 100 degrees lower than the set temperature. I have just replaced the oven thermostat, but the problem persists. I conclude the timer is malfunctioning.Repaired
Chesapeake, VirginiaThe oven operates, but will not reach temperature the Timer has been set at. It's cooking about 100 degrees lower than the set temperature. The range works fine, by the way, and although I have just replaced the oven thermostat, the problem persists.
I conclude the timer is bad. If you have other thoughts, I'd be happy to hear them.
Thank you.
Repaired

Common problems for Kenmore Gas Range 3627361193 Timer Repair

Are you encountering a similar problem as them? Contact us now and we will try to help you fix your 3627361193 timer-related problem.
I have a Kenmore oven model 3627361193. The oven was not working but the broiler did ignite. I replaced the ignitor for the oven. I then replugged the oven and attempted to turn on the oven. I heard a loud click and it tripped the circuit breaker. I then rechecked the fittings on the igniter, made sure there were no shorts and tried it again. Nothing. Now even the broiler does not work. Is there a fuse or breaker somewhere in the oven? I've looked and haven't been able to find one yet. The igniters for the rangetop and clock are working. Thanks
I have a gas oven and the bake function no longer works. The broiler and burners are operating. I read another posting in which you suggested it was the bake ignitor. I will try to locate this part, once I am able to remove the floor of the oven. I will need to shut the gas off to the appliance, correct? Also, once I can identify this as the issue, you would be able to walk me through replacing the part? Thanks!