Kenmore Electric Dryer 11062622101 Timer Repair

What is the timer/clock part number for the Kenmore 11062622101 Electric Dryer?

Timer part number 8299779 for Kenmore 11062622101

The 11062622101 Electric Dryer uses timer part number 8299779.

Do you have a failed Kenmore 11062622101 control panel? Click here:

Request Appliance Timer Service

We can repair or replace your faulty Kenmore 11062622101 timer.

11062622101 are also sometimes referred to using these Alternative Names/Model numbers

Sears 11062622101 Electric Dryer

11062622101 Schematic and Wiring Diagrams

Top and console Parts diagram
11062622101 Electric Dryer Top and console Parts diagram
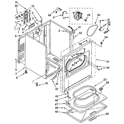
Cabinet Parts diagram
11062622101 Electric Dryer Cabinet Parts diagram
Bulkhead Parts diagram
11062622101 Electric Dryer Bulkhead Parts diagram

Common problems for Kenmore Electric Dryer 11062622101 Timer Repair

Are you encountering a similar problem as them? Contact us now and we will try to help you fix your 11062622101 timer-related problem.
Kenmore Dryer will heat up, but drum will not turn Kenmore Electric Dryer Model# 11062622101 will turn on, heat up but the drum will not turn. What is the prolem & is this something that I can fix myself?
my dryer will not start. It is Kenmore model# 110.62622101. There is power and the door clicks closed but it will not start.
No heat. The dryer functions on all cycles, just no heat. Model #11062622101
How do i replace the belt and specifically the idler arm. I have the dryer all apart Kenmore model 110-62622-101
how to replace a dryer belt